Fórum témák
» Több friss téma |
Fórum » Mobiltelefon hívásjelző
Hali! Mociba szeretnék egy ilyet!
A kinaiaknak már sikerült és nem 2cm a hatótáv hanem kb 1 m. Mivel lehetne ezt megoldani? 900-1800Mhz-es vevő esetleg vagy mi?
Elektromos bicóban láttam ilyet de az nem működött!
De ebbe működik, tehát nem kamu. Kérdés, hogyan, mivel.
Egy nagy sávszélességű gyenge vevő lehet 450 MHz-1900 MHz ig szerintem egy ic-s kapcsi de nagyon érdekelne mi lehet ,engem is !
Sziasztok!
Nekem is szükségem lenne egy hívásjelzőre mobil telefonhoz.Egy üzembe kellene ahol nagyon nagy zaj van és így nem lehet hallani a csörgést. A lényege az lenne hogy egy 12v-os relét kellene kapcsolnia mikor csörög a telefon,az pedig egy villogó lámpát,vagy egy 230v-os csengőt kapcsolna.Ezt a kapcsolást nézegettem,de mit kell átalakítani rajta ahhoz hogy 12v-os relét kapcsoljon a Led helyett?A tekercsen kell változtatni? Ja és még a lényeg hogy nem kell nagyobb távolságból vennie,csak a közelében lévő telefon csörgését érzékelje. Köszönöm előre is.
Nem tudom, hogy 1,5V-ról mit fog csinálni az 555, de gyanítom, hogy semmit...
Lehet kapni piacokon olcsó telefonhívás jelzőt, ahhoz kell illeszteni egy relét és kész... Üdv Inhouse
Hát az 1.5v nekem is szemet szúrt,de állítólag működik.Összedobom próbapanelon és kiderül.A telefon hívásjelzőre én is gondoltam,de felénk nem igazán találok ilyet. Azért köszi!
Sziasztok
Kellene nekem egy hívásjelző ami 4-5 méteres körzetben tökéletesen működne. nézegettem én is ezt az 555-ös kapcsolást de ez csak közvetlen közelről megy. Tudna nekem valaki egy megoldást mondani? Ez egy határidős munka lenne, ha nem gond sos. Ha tud valaki valamit, kérem segítsen. Köszi
Ha jól láttam a tekercs nem hangolt , tehát elvileg az is megoldható hogy a szobában a fal mellett körbeviszel 2-3 menetet és én egy kicsit megnövelném az 55 tápfeszültségét is (a kimenetre pedig egy számított ellenállással kötném rá a ledet ) elhagynám a kondit és a diódát .
az öcsém régebben olyat csinált hogy van néhány infra mozgás érzékelő (amit a vagyonvédelemben használnak )
ami konstrukciós hibája miatt érzékeny a mobil telcsire, vagyis kapcsol rá,na ebből csinált mobil hívásjelzőt , a kontaktusát elvitte kintre , ha a kertben volt kint akkor is tudja ha hívták. vagyis kész cuccot alakított át , kb fél óra alatt , máig műxik, csak ilyen érzékeny infra kell hozzá (a vagyonvédelmisek köpködve dobálják ki) az infra részt nem árt letakarni.
Köszönöm szépen a válaszokat, az első kérdésem az lenne kaqkk-hoz hogy a ledet hova kötnéd?
Kb 470 ohm ellenállással a led megoldható de ha elhagyom a kondit és a diódát akkor a másik lábát hova kötném? aA 3-as lábra sorosan? A feszültséget 4-5 voltra ha emelem akkor is szépen működik viszont csak közvetlen közelről. Ezt a távot szeretném növelni.
Köszönöm szépen a válaszod, és az lenne a kérdésem hogy mi ennek az infrának a pontos típusszáma, hogy ilyet keressek.
Az átalakítás alatt pontosan mit értesz? Egy képet tudnál küldeni hogy mit kell hozzá átalakítani? Én egy ledet szeretnék róla működtetni ha hívás érkezik Köszi
Sziasztok
Valaki tud nekem segíteni ezzel az infra vevővel kapcsolatban, hogy mi ennek a típusszáma? Ami kapcsol a mobil hívásokra is. Vagy más megoldás hogy 4-5 méteres körzetben kapcsolna a mobil hívásokra?
Sziasztok! Engem az érdekelne, hogy milyen kapcsolással tudnám helyettesíteni a mobiltelefon által előidézett hatást? Pontosan, hogy is működik, ahogy a mobiltelefon zavar egy eszközt, avagy működtet egy ilyen hívásjelzőt? Elég egy ebben a frekvencián működő adó?
Arról lenne szó, hogy van egy elektromos készülék, aminek a közelébe mobiltelefont helyezve, annak hatására a készülék fura dolgokat művel. Ebben az esetben szeretném helyettesíteni a telefont, mert azt nem mindig tarthatom magamnál, viszont a poént szeretném megtartani.
Ejnye.
Ne csinalj direkt GSM zavaróadót még poénból sem
Látom eléggé félreérthető, ahogy leírtam. Na jó, még a régi CRT monitorról lenne szó, ami csíkozik ha telefon van a közelébe. Viszont órán nem mindig lehet nálam telefon, mert ha észre veszik "kikapok"
Éppenséggel amit írtál, azt nem nagyon lehetett félre érteni.
Idézet: „Elég egy ebben a frekvencián működő adó? Ebben az esetben szeretném helyettesíteni a telefont, mert azt nem mindig tarthatom magamnál, viszont a poént szeretném megtartani.” Egyébként ha a monitor csíkozódik a mobiltelefon közelében, az a monitor hibás működése, konstrukciója.
Sziasztok.
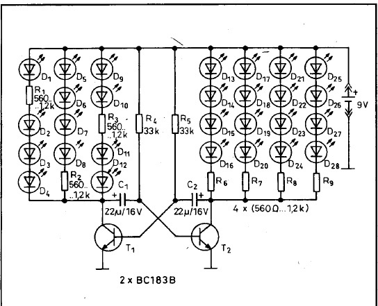
Megépítettem ezt az egyszerű kapcsolást, ami a topic elején található, és 2 tranyóból áll. A régi nokiámnál működik, de az újabb Samsung Galaxy S-t a fenének sem tudom nyakon csípni. Amúgy némi tapasztalat. Ha a 2 tranyó közötti távolságot hangolgattam hullámhossznak megfelelően, azzal sokat lehetett javítani az érzékenységen. Az antenna hosszával én is hiába játszottam. Hogyan tudnám érzékelni a Samsungot? Valakinek esetleg valami ötlet? Köszi, B.P.
Sziasztok!
Én megépítettem azt az egyszerű hívásjelzőt, de 3db tranzisztorral breadboardon. A barátnőmnek szeretném csinálni, de úgy hogy ez az egész meghajtson egy szív alakú villogót. Szóval ez az egyszerű hívásjelző beindítson valamit, ami kb. 3-4mp-ig ad jelet a villogónak, vagy valami ilyesmire gondoltam. Megpróbáltam a led helyére bekötni egy egyszerű astabil mv.-t de az nem bírt elindulni, mert olyan sok kis impulzusszerűen kapott tápot. ![]() Valaki legyen szíves segítsen ![]() Bence A hozzászólás módosítva: Okt 30, 2012
Nagyon jól látod, a GSM jelzésrendszer miatt valóban sok impulzus keletkezik.
Talán ha a 100 µF-os kondit sokkal nagyobbra cserélnéd akkor működne. Mondjuk kicsit gyanús nekem az a három NPN tranzisztor így bekötve.... Gyanús alatt azt értem, hogy fura lenne ha működne
Köszi a választ!
Mennyivel nagyobbra? Mert én beraktam egy 1000µF-ost, azt pedig nem bírja felölteni... Ami pedig a tranzisztoros rajzot illeti... Hát mind a 3db tranzisztor BC547-es Az első kettő pontosan ugyan olyan, a 3. (amin a led van) arra másképp van ráírva a BC547.. Lehet, hogy a hiba abból adódik hogy a 3.-nak más a lábkiosztása? Mert csak próbálgattam, hogy, hogy működik... De így ahogy van, működik. A hozzászólás módosítva: Okt 31, 2012
Beraktam egy PNP tranzisztort (BC557) a led helyére. és azzal kapcsolgatom a 9V-ra a villogót.
egy ellenállást a bázis és a kollektor közé, 100µF a villogó pozitív és negatív sarkára. és működik!! Amíg keres, addig összevissza, egyszerre villog, de mikor csörget (hosszabb impulzus), akkor rendesen villog..
Hátha tudok segíteni.
A hozzászólás módosítva: Nov 2, 2014
Ha valakit érdekel a videó is itt
A hozzászólás módosítva: Nov 2, 2014
Szia!esetleg egy rajzot fel tudnál ide tenni ,hogy működik?előre is köszi
A hozzászólás módosítva: Nov 5, 2014
Ez most egy régi (kb. 4 éves) válaszra "mellévetődés", vagy "komoly" csak hirtelen megint aktuális lett a kérdés?
Régi a téma, de mindig lehet aktuális. Lám nekem is 7 évvel a legutolsó bejegyzés után vált szükségessé egy mobiltelefon hívásjelző!
Ez az áramkör más elven működik mint a fent publikáltak: Ez a kapcsolás akkor ad jelzést, amikor a mobiltelefon kijelzője bekapcsol. Vagyis híváskor, valamint akkor is amikor a telefonnak közlendője van a felhasználójával pl. lemerülés, üzenet érkezés, időzítés lejárta, ébresztés... stb. Az áramkör nem túl bonyolult, egy próbapanelra könnyen elkészíthető (LOMEX-nél 25-00-36). A működése: A kapcsolás lelke egy fényérzékeny ellenállás (LDR). A Q1 tranzisztoros fokozat biztosítja a kapcsoló jelet a következő fokozatnak, mely tulajdonképpen egy NAND kapukból (U1A-U1B) kialakított RS tároló. Sötétben LDR ellenállása kb. 500 kohm, világosban 100 ohm alatt van. Az LDR és az R7 potenciométer feszültségosztót alkot. R7-tel lehet az áramkör érzékenységét egy kicsit állítani. Ha fény éri az LDR-t, nyitja Q1-et, az RS tárolót SET állásba billenti (negált jellel). Ez a tároló biztosítja, hogy a hívásjelzés mindaddig aktív maradjon, amíg az S1 „Reset” gombot meg nem nyomod. A Q3 tranzisztoros fokozat D2 LED-et működteti, mely az áramkör készenlétet mutatja. A CD4011-es IC másik két kapuja (U1C-U1D) a Q2 PNP tranzisztoron át villogtatja a jelző power LED-et kb. 1Hz-el. A villogás gyorsasága C1 és R1 változtatásával lehetséges (próbálgatás). Q2 tranzisztor 1A-rel terhelhető (BC303, ilyenem volt...). Az általam használt power LED 1W-os, max. 350mA áramot vesz fel. Q2 fémház tokozású, a power LED pedig nem világít teljes erősséggel és az is villog, ezért a tranzisztort nem szükséges hűtőbordára rakni, a power LED-et viszont nem árt! A LED helyett használhatsz valami berregőt is. Tápegységnek megfelel egy használt mobiltelefon töltő is (5V/500mA). Ha fixen rákötöd a tápot, akkor nem kell a D3 polaritásvédő dióda. Ha előfordul, hogy tévesen jelez (pl. nagy felvételű gépek közelében, mint nálam: ipari porszívó, CNC gép), akkor R7-el állítsd egy kicsit „érzéketlenebbre” és a táp bemenet – GND közé köss egy 100nF-os kerámia kondenzátort (pl. J1 csatlakozó 1. és 3. lába). Az egész áramkör kényelmesen belefér egy 130x68x44mm-es műszerdobozba (LOMEX-nél G1022BF 47-01-45). Ebben megvan a NYÁK-lemez helye is, ahová be lehet pattintani (61.5mm szélesre vágd a lemezt). Az áramkört úgy kell elkészíteni, hogy az LDR-t a fóliás oldalra szereled foglalatba, mert nagyon rövid lába marad (kb. 5mm), hogy elférjen a NYÁK és a doboz teteje között és ne süsd meg a forrasztásnál. Foglalatnak jó egy precíziós IC foglalat rugós hüvelykéje. A doboz tetejét az LDR fölött kifúrod, a nyílásra belülről egy kis darab átlátszó műanyag lapot (pl. CD tok átlátszó teteje) ragassz olvadékragasztó pisztollyal, hogy ne szálljon bele a por! A jelző power LED-et egy teleszkóp antenna tetejére szereltem egy hűtőbordára. A dobozt és az antennát pedig egy 180x90x22mm-es rétegelt lemezre. Használat: a telefont értelem szerűen kijelzővel lefelé ráfekteted a dobozra a nyílás fölé és megnyomod a Reset gombot. A doboz tetejére ragaszthatsz szilikon ablaktömítő szalagot is, így biztosan nem karcolódik meg a telefon kijelzője és a fényzáras is jobb lesz. |
Bejelentkezés
Hirdetés |



















