Fórum témák
» Több friss téma |
Tisztelt Fórum!
Vettem 5db U2505B IC-t és szeretném felhasználni infra kapu érzékelőjének építéséhez. Meg is építettem az áramkört a gyári ajánlás alapján (1990-es kiadású TEMIC katalógus) de nem működik. Oszcilloszkóppal próbáltam jeleket keresni a lábian, de semmi a katalósusban megadott jelalakokhoz hasonlót nem tudtam detektálni. Az 5 db áramkörből már 3db-ot is kipróbáltam és hasonlóan viselkedetek. (Lehet hogy az összes kínai gagyi, bár a bolt megesküdött hogy ő nem árul gagyit.) Egyetelen "bűnöm" van talán, hogy az áramkört "dugdusós" panalen építettem meg, de szerintem a 400kHz-es jelnek még müködnie kell ezen a megoldáson. Próbáltam a Net-en keresni valami alkalmazási ajánlást -mivel a temék már kihaló típus-ezért semmi használhatót sem találtam. Az a gondolatom támadt mi van a ha roszz a katalógus beli ajánlás. (Volt már ilyen!) Ezt a probémámat azért teszem közzé, hogy hátha valaki tudna segíteni, használta már ezt az áramkört, vagy van valamilyen szerinte működő alkalmazási ajánlása. Üdvözlettel: Jó Madár
Itt egy konkrét alkalmazás Videoton TV-ben. Arra ügyelni kell, hogy a kimenet általában open kollektoros, tehát ahhoz, hogy bármit láss a szkópon (illetve, hogy egyáltalán működjön a kimenet) fel kell húzni egy 10k-val +5V-ra.
Ha megvan az adatlapja, tedd fel, mert én nem találtam...
Üdv Jó Madár!
Én sem találtam sok mindent. Légyszíves tedd fel amid van, hadd segítsünk Neked!
Köszi a segítség ajánlást, de előbb be kell scanneljem.(Amúgy ez egy teljesen részletes anyag) Az open kollektoros kimentenet természetesen felhúztam.
Üdv Jó Madár
Köszi,
Ezt én is megtaláltam, ettől sokkal több doksim van, amit ha bescannelek felrakom. Üdv Jó Madár
Az IC körbeépítése egy kicsit más mint az eredeti TEMIC applikációban.
Mivel nincs nállam a katalógus, majd csak ha hazamegyek csak akkor tudom összehasonlítani. Üdv és köszi Jó Madár
Szia,
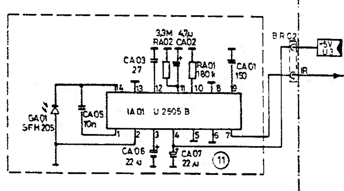
Amit most megtudtam tenni az hogy összehasonlítottam az általad küldött rajzott a Net-en találhatóval (ami megeegyezik a TEMIC katalógus rajzával, csak ott az alkatrész értékek is meg vannak adva.) Egy lényeges külömbség van az hogy a 8-as és 9-es használata fel van cserélve a Videoton rajzán. (Itt a 8-as van földelve és a 9-esen van a kondenzátor, a TEMIC katalógusba ez fordítva van. (Egyébként mennyire tuti ez a rajz, mert ha a láb számozás folytonosságát nézem, akkor a 8 és 9 fel van cserélve.) Ami még eltér: a 11-es (AGC láb) használata a TEMIC ajánlásban csak egy 2,2µF kondi van rákötve. valamint a 12-es láb üres, itt pedig egy 27pF van rajta, ami elhangolja az eredetileg 400KHz-es sávszűrőt. Tudja-e valaki hogy a Videoton táviránytója milyen frekvencián üzemel? Üdv Jó Madár
Több típust is megnéztem, mindnél így van. Az AGC lábon 2,2µF helyett a 3,3µF nem nagy különbség és itt van mellette kisütő R tag is. (ez korrektebb). Nem tudom pontosan milyen a freki, mert a távszab. is RC oszcit tartalmaz (a régiekben 455-ös kerámiaszűrő volt) Biztosan szükség volt a 27pF-re, ha beletették...
Sikerült be-scannel-nem az U2505B adatlapját a TEMIC katalógusból. ez csatolom is.
Tegnap este megcseréltem a lábakat (8 és 99 ahogy a Videoton rajzán van, de ez sem hozott eredményt. Számomra érthetetlen hogy az IC akkor sem produkál semmilyen életjet amikor az Irfra LED és a fotodióda közti távolság néhány mm. Szkóppal az 1-es lábon ilyenkor kb 1V p-p amplitúdóval látszik a burst. Nem értem ez bazi nagy jel és ekkor sem tudok semilyen vátozást mérni a 7-es lábon. (Oda van ragadve high szintre.) A hetes kimenet csak akkor vátozik, ha leveszem a kondit a 8-as lábról. (Ekkor mindentől függetlenül oszcillál.) Azért ragaszkodom ehhez az IC-hez, mert ehhez 5mm-es PIN fotodiódát tudok rakni lencsés fogalatban. (Tudom vannak kész IR vevők pl a TSOP17xx sorozat, de az nem rakható lencsés foglalatba) A TEMIC-től egyébként sikerrel használtam az U2501B-t (+NE567 a dekódoláshoz) kb. tiz évvel ezelőtt. (hasonló lencsés PIN diódával) Ezt az IC sajnos már nem lehet beszrezni. A kérdés továbra is nyitva van számomra, hogy fel kell- e csereélni a 8 és 9-es lábak funkcióit. Még egy doldot kipróbálok, megépítem a kapcsolást forrasztós próbapanelen. (Lehet hogy a "dugdosós "panel kapcsitása bezavar?) ha így sem megy, akkor szinte biztos hogy gagyival van doldom.Üdv Jó Madár [i]Melléklet tisztogatva a köv. hsz-nál. Sebi
Az adatlap alapján 100%, hogy a Vidi rajz hibás! A kimenet van talajra téve, úgy nem lehet jó. A számozás is körbejárásra utal és a 8-9 csere kilóg a sorból.
Amit még megnézhetnél: mit látsz az AGC lábon? Ez még nagyon az elején van, itt kellene fesz emelkedésnek lenni a burst hatására. A 27pF csak sávszélességet csökkent némileg, el nem hangolja a szűrőt. Ide fokozottabb igények esetére piezo szűrőt javall. Adatlapot csinosítottam... |
Bejelentkezés
Hirdetés |





"panel kapcsitása bezavar?) ha így sem megy, akkor szinte biztos hogy gagyival van doldom.