Fórum témák
» Több friss téma |
Sziasztok!
Adott egy Citroen központizár távirányító, ami nem működik. Az elemtartónál a pozitív, és a negatív csatlakozó között 190 ohm-os ellenállást mérek, és igenhamar lemerül benne a 3V -os elem. Van benne egy ic, amiről nem tudom, hogy micsoda, és valószinüleg ő lesz a bűnös. Feliratai 5100 B2 0522 A 0522 merőlegesen van a másiik kettő mögött. Sajna semmit sem találtam róla a neten. Valakinek van valami ötelete, hogy mi lehet ez? Előre is köszönöm a segítséget.
Szia!
Szerintem,nem érdemes keresni,nem fogsz találni ilyet,ha mégis,akkor már csak annyi a bibi,hogy hogyan tudod beleírni a te autód zár nyitó programját,kódját,talán a szervizben tudnak segíteni.
Szia! Nem. Nem.
Az adatlapja szerint ez a típus egyszer programozható. Egyébként a COP8 család tagjait COP8 programozóval lehet programozni (COP8 programmer-re rákereshetsz)
Sziasztok!
Van egy Vörpul gyártmányú grillezős mikrohullámú sütőm aminek a magnetron oldalán,alul és felül is,egy-egy csillámlemez szerű lapocska van.Az egyik megégett,kicsit ki is van lyukadva.Elég a javításhoz a hibásat cserélni,vagy más hiba is lehetséges??Hol lehet ilyet beszerezni?A készülék egyébként működik!Ezeknek mi a szerepük valójában? Köszönöm a segítséget!! Gábor
Hello!
A legtöbb esetben ennek cseréje elegendő (ha nem gunnyadt meg a magnetron az ívek miatt. Szerepe, hogy a nagyfreki ki tudjon jönni, a kosz meg ne tudjon bemenni. Lehet ilyesmit kapni, legfeljebb, ha nagyobbat találsz, ráfaragod. üdv! proli007
Kaptam egy kupac régebbi, szerintem Telefunken gyártmányú tranyót. Nincs esetleg valakinek valami régi katalógusa ezekről ? Nem találok róluk semmi értelmes infót.
Hello!
A nagy többségét megtalálod a Google-val, de nem a TFK számon, hanem az alatta lévő jelölés használatával. üdv! proli007
Helló!
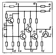
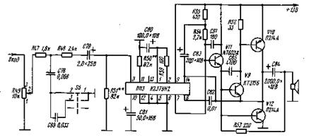
kaptam egy ősrégi orosz rádiót, amelyből kitermeltem a végfok modult. ebben van egy fehér műanyag tokos K237YH2 IC. Erről szeretnék megtudni valamit. Hátha be tudnám üzemelni a végfokját.
Volna egy nagyon nagy problémám!
Valaki elmagyarázná a jumper-t??? Arra én is rájöttem, hogy vmilyen csatlakozó, de mire használják???
Pl.: Kapcsoló helyett. Általában 2db tüskét zár rövidre, ha rá van tolva.
Nekem olyan cuccosra volna szükségem,. mint Ez itt vagy pedig, olyanra mint, ez itt. Ezeknek mi a neve??? + amire rádugjuk (jó értelemben)
Amire rádugjuk (jó értelemben,) az a tüskesor. Amit rádugunk, (szintén jó értelemben,) az a csatlakozója, - nevezik tápcsatlakozónak is. A páros rövidrezárt a jumper.
...tényleg!
Hali,
egy hasonló IC böl (K174YH7) egyszer régen csináltam egy erösítöt, az is egy orosz IC, gondolom ennek a tesója. A Tied azt hiszem ettöl erösebb. Hogy sztereó legyen duplán csináltam hozzá nyáklapot, haszáltam is egy darabig, most egy masikat használok TDA 7297 -el 2 X 15 W -os, tömház lakásban tökéletes.
Halihóóó!
Ez egy hibrid orosz hangfrekvenciás erősítő. Ezt találtam róla.
Segítsetek hozzájutottam egy ELV 51408 jelzésü. megépített panelhez.Van rajta egy ICL7107 -es ic és egy CD4049-es ic továbbá négy db 7 szegmenses kijelző.ellenállások, kondik két dióda és egy trimmer Legjobban Topi digitális feszmérőjéhez hasonlít. mire lehet használni ,hogyan kell bekötni.
Tudom-e a két kimenettel rendelkező 30 volt/ 3 A-es, (nem digi) tápomat vele fejleszteni.
Hello!
Ha 4049-van benne, akkor valószínűleg az állítja elő a -5V-ot. Akkor csak +5V kell a számára. A Topi cikkével összeveted az IC lábbekötését, és abból már ki lehet találni a panel bekötését. Akkor már csak a feszültségosztók kellenek a bemenetre, hogy használni tudd. Külön galvanikusan leválasztott tápot készíts hozzá, mert a tápoknál a sönt ellenállás általában más feszültség szinten van, mint a feszültség kimenet. üdv! proli007
Köszönöm az útbaigazítást , azon az úton indulok el,
Ez milyen alkatrész: PAL16L8ACN? Addig eljutottam, hogy programable array logik, de az egészből nem igazán tudok semmire következtetni. A tömbvázlaton inverterek voltak, meg egy AND array feliratú dolog.
Array-tömb, and- és kapu? Valaki! Én olyan hülye vagyok!
Szia!
Megtaláltam egy csaknem azonos kapcsolási rajzot. Az eltérés hogy a 10 nF kondi nem a 30-31-es lábközött van hanem a 31-32-es között.Mit módosíthat ez ? A mellékelt képen szaggatottal össze van kötve a30-as láb a testtel. A másik szaggatott vonal a 30-as láb a 32-35 lábhoz van húzva.Mit eredményezhet nek ezek az átkötések.Ezek helye ki van alakítva a nyák lapon is. Mellékelek egy fotót remélem látszik. Köszönöm az eddigi segítséget is. czerop
Egyszer programozható logikai ic. Különböző összetett logikai funkciókat programozhatsz bele, de csak egyszer. Ha bontott, akkor dísznek jó.
Nem, új. Zsákbamacska szerűen vettem. Programozás
mivel? Mint a PICet?
Ez egy jó kérdés, nem tudom. Annyit tudok róla, hogy a PAL az Programming Array Logic, OTP (One Time Programming, egyszer programozható) PROM, assemblyben programozható, de ennyi. Szerintem elavult eszköz a PIC-hez képest. Kiindulásnak a wikipedián némi infó az eszközről és a programozásról:
Bővebben: Link u.i.:mennyibe került ? |
Bejelentkezés
Hirdetés |





de még mennyire! 









