Fórum témák
» Több friss téma |
Sziasztok!
Ha tényleg az erősítő RecOut-jára akarom kötni, akkor milyen fesz osztó kell elé? És, ha a kimenetre szeretném kötni? Úgy értem a honlapon lévő teljes kapcsolást meg kell hozzá építeni? proli007 javaslatára, ha kihagyom a C1 kondit, akkor kihagyom és simán átkötöm, vagy a NYÁK-on is kellene alakítani? Köszönöm! Üdv.: Don
A C1 elhagyása annyit jelent, hogy nem ülteted be. Semmit nem kell alakítani a kapcsoláson.
Ahogy a FET adalapjából nézem, a C1-et benthagyva a FET-es fokozatnak kb 22.5x-es feszültségerősítése van. Ha a C1-et kivesszük, akkor az erősítés lecsökken durván másféleszeresre, azaz a 15-öd részére. Ha C1-gyel a mérőmű érzékenysége 3mV volt, akkor C1 nélkül ez az érzékenység kb. 45mV-ra csökken. Ha 775mV-ra akarod a 0dB kijelzést, akkor ehhez a 45mV érzékenységnél pl. egy 750k-ból és egy 47k-ból álló feszültségosztóra lesz szükséged. Persze minden attól függ, hogy milyen jelszinthez akarod kalibrálni a 0dB-es kitérést.
Nekem van egy kapcsolásom kivezérlésjelzőhöz. Sajnos még nem lett megépítve de azt mondták jó kis kapcsolás és egyszerű is.
Hello!
Igen, ez egy csúcsérték detektor, elvileg működőképes. A bemeneti potit, nem érdemes csutkára tekerni, mert a féltápfeszes műveleti erősítő, ha jól emlékszem -0,3V-nál többet nem kaphat a bemenetén, ezért ha van benne bemeneti védelem, az visszahathat a mért jelre. (Ha a mért pont nincs leválasztva, torzítást okozhat, persze kérdés, honnan van levéve a jel. Hangszóró kimenet mérése esetén, meg esetleg beakaszthat a műveleti erősítőnek.) Egyszóval, Én a műveleti erősítő bemnete és a poti csúszka közé, betennék egy 100kohm-os ellenállást. üdv! proli007
Sziasztok!
Két kérdésem lenne... A nagyimpedanciás előtétnél a kondik milyen Bővebben: Link Volt értékűek. Az első 47 nF kondi alá 250V van írva, a többi is 250V-os? A rajz alapján bipolárisak? (Bocs, nem értek hozzá, csak örömömet lelem benne, ha készíthetek valamit és működik )A másik kérdésem, hogy a műszerek megvilágításához nincs valami jó ötletetek? Nagyon köszönöm! Üdv.: Don
Hello!
Elég egyszerű a helyzet. A legnagyobb igénybevétele a 47nF-os kondinak lehet, ha esetleg egy elektroncső anódjában akar valaki váltófeszültséget mérni. Ez a kondi választja le az egyenfeszültséget. Ezért ezt a kondit a maximális egyenfeszültségre kell méretezni. A többi, már a váltófeszültség osztásában vesz részt, ami maximálisan 30Veff. Tehát ez a feszültség már megfelelő. Azal a kiegészítéssel, hogy ennek a fesültségnek a kétszeres csúcsértéke számít, mert a kondira az egyenfeszültség éetékét tüntetik fel. Upp=Ueff*1,42*2 Az osztóhoz azért hozzátenném: - Az osztóban a kondenzátorok azért szükségesek, hogy a feszültségosztás a frekvencia függvényében állandó legyen. Ezt az korlátozza, hogy az osztó pontjait az áramkör szórt (parazita) kapacitása is terheli. (Ha az osztó tagjainak szórt induktivitását nem vesszük figyelembe) - Ezt az osztót, elvi (számítási) úton tervezték, és nem veszi figyelembe a tényleges parazita kapacitásokat. Nem is veheti figyelembe, mert az a szereléstől függő állapotú lesz. Ha figyelembevenné, akkor biztos, hogy pld. a 4,7pF-os kondi más értékű lenne. (A parazita kapacitásoknak legnagyobb hatása, a legnagyobb ellenállásokra van.) - A kompenzálás hatására, az osztó frekvenciafüggetlenné tehető (majdnem), de az osztó bemneti impedanciája a frekvencia függvényében csökkenni fog. A kondik között semmiképpen nem lehet polarizált, mert az csak egyenfeszültsére használható. (fólia-keramikus- stiroflex...) A műszer világításra rizsszem izzót, vagy Led-et használhatsz. Gyári kivezérlésjelzőknél, egy "szofita" jellegű izzót használnak, néha beépítve a műszerbe, és a skálát átvilágíthatóra készítik. Ez a legszebb. üdv! proli007
Sziasztok!
Köszönöm a sok segítséget! A végére még lenne egy butus kérdésem... Ezt az áramkör tulajdonképpen a nagyimpedanciás előtéttel arra tervezték, hogy az erősítő erősített kimenetére tulajdonképpen a hangfalakkal párhuzamosan bekötve milli voltot mérjen? Amitől végülis "ütemre fog kalimpálni" a mutatós műszerem...? Olyan hihetetlennek tűnik, mert tulajdonképpen elég nagy teljesítményt kap a cucc...
Én egy egszerű 1 tranzisztoros A osztályú erősítővel építettem egyet úgy 17-18 éve AKAI VU méterekkel. Ehhez nem sok adat kell:
Tápfeszültség, vezérlőfeszültség maximuma, a kijelző impedanciája, a tranzisztor bétája.... . Ha 0dB-s jelet akarsz megjeleníteni, akkor - hogy ne terhelj be mindenképpen erősíteni is kell, Ha kimetei jelet akarsz megjeleníteni pld. egy végfok kimenő 100 V-os jelét, akkor elég lehetne egy passzív osztó is, de a nem kis fáradtság árán széppé tett hangképet nem illik elrontani semmilyen terheléssel - mégha olyan kicsi is , mint egy VU méter impedanciája. Lehet, hogy lehurrogtok érte, de a high-end elektronikában ennél sokkal /verzebb megoldások is vannak. Az tény hogy így látványosan dinamikus kijelzőt lehet csinálni. egy potméterrel nem árt finomhangolni sem, így a maximális kijelzésnél nem koppan a műszer mutatója. Lehet ezt még spirálni egy sávszűrővel, hogy pld. csak a mélyekre lendüljenek a mutatók, de megvallom őszintén, hogy szerintem ezt a mutató tehetetlensége is megoldja.
Szia!
Nem egészen értem a logikádat! - Hangszóró kimeneten nagyimpedancián millivoltokat? Mert ott millivoltok vannak? - Igen kalimpálni fog. És valamit fog mutatni, de hogy mit, az sok mindennnek összetevője, legfőképpen a zenének. - Mi az ami hihetetlen? Mi itt a kérdés egyáltalán? Nem olvastad el a (#217048) számú hozzászólásomat? Pont ezen okokból próbáltam tiszta vizet önteni a pohárba! üdv! proli007
Hali
Nos én kikaptam a C1 kondit és így semmit se csinál a cucc. Probáltam a fesz osztót máshogy, de semmi, meg se nyikkan... A másik dolog, hogy a fesz osztó más beállítással szinte semmi eltérést nem mutat. Tök mindegy, hogy 10k-10k vagy 10k-100k... Minimális eltérés van, de gondolom a műszernek ki kéne akadnia, ha 1:11 osztó helyett 1:2 van benne... No ez mitől lehet? Lehet, hogy sok a kapcsolásnak a 250uA-es műszer???
Hú, pedig akkor ott szerintem valami nem kerek. A feszültségosztónak nagyon is bele kellene szólnia a kijelzésbe, a 250uA-es műszert meg 2x9V-ról simán meg kellene hajtania a kapcsolásnak.
Üdv mindenkinek!
Szóval, nekem van egy olyan saját gyártmányú, kapcsolásom, amivel egyszerűen meglehet építeni egy kivezérlés jelzőt! Namost, a kiválasztott, VFD kijelzőhőz, kell megtervezni az áramkört! Bámilyen olyan VFD jó, aminek nincsen vezérlőrácsa, illetve ami legalább 4 szegmentált részt tartlmaz! (mondjuk egy 2*16 -os VFD-t, fel lehet erre a célra használni ha mondjuk a vezérlője elszállt, de maga a kijelző jó!) (illetve az is jó de be kell kötni, hogy fényt adjon, és mondjuk fényerőszabályzóként lehetne használni) A kapcsolási rajzot,mellékeltem! Az előreősítőre, szükség van, mert nagyon érzéketlen (lenne), a bemenete, és a műveleti erősítő, hozza erre a jelszintre! Itt van egy videó rolla!
Sziasztok!
Egy kivezérlésjelzőt szeretnék összehozni, de miután beleolvastam a témába, csak elbizonytalanodtam. Kérlek segítsetek! Amit szeretnék: -bemenő jelet mérni hangerő poti után (vagy előtt) -teljes dinamika átfogást (halk részeknél is éljen a dolog, maxon pedig ne akarjon elszabadulni a mutató) ez kb 40dB talán? -a 0dB-t kb. 775mV bemenőjelhez szeretném tenni -hogy VU, PPM, vagy audio milivoltméter kell...? nem tudom eldönteni Egy kb. 6-800uA-es műszerem van. Úgy gondolom, hogy egy logaritmikus erősítésű IC-vel kéne meghajtani. Rod Elliot oldalát néztem, egyenlőre nem győzött meg a megoldása. Hát röviden ennyi, ha valami nagy marhaságot hoztam össze, ne kövezzetek meg!
Szia Megaymir!
Úgy gondolom, hogy ez a kivezérlés jelző téma az egyik leggsokrétűbb beállíthatóságot tartalmazza. Hogy, hogyan is értem ezt?! Nos úgy, hogy van egy adott kapcsolás, ami már valakinek bevállt és esetleg megrajzolta aztán közzétette azokkal az értékekkel. DE! Adott vagy pl. Te és a te - hangforrásod - erősítőd - alapműszered - egyedi elképzeléseid - stb. Ezek a tényezők tetszőlegesen keverhetők és mindig más-más értékek kellenek, hogy az impedanciaviszonyok megfelelőek legyenek, ne legyen visszahatás semerre, ne terheljen be az adott fokozatnak (attól függ hová teszed) Szóval azt akarom kinyögni, hogy kell egy próbapanel és egy kinézett kapcsolás >> utána a kisérletezgetés a már adott rendszerrel, nameg tanácsok kérése itt a fórumon. Ha pontos akarsz lenni hanggenerátort és HF millivoltmérőt is bevethetsz. Szerintem kezd a csatolttal; ott megérted, hogy mi mért jó; hogy viselkedik az ELKO értékére a lomhasága, stb. Csak azért okoskodok, mert épp énis ezzel szórakozom, csal LED-essel.
Szia!
- Gondolom nem akarod kalibrálni a mérést. - Én mindenképpen egy csúcsértékképzőt (PPM)használnék, ha nem is ilyen formában mint a linken. - Nem biztos, hogy a Te esetedben egy logaritmikus erősítő a megoldás. Egy logaritmikus erősítő, azért jelentős egyenáramú hibávall rendelkezhet. Én inkább az egyenirányítás előtt egy dinamika kompresszort használnék, pld. NE570. (Persze ezek csak elvi ötletek, nem próbáltam ki.) üdv! proli007
Köszi a gyors választ!
Megnéztem a kapcsolást, amit csatoltál - nos, én is ilyennel próbálkoztam tegnap először, annyi különbséggel, hogy egy darab (germánium)diódát használtam, és az előtét elenállást, illetve trimmert a dióda után tettem. Perpill azon agyalok, hogy fogok egy műv.erősítő ic tokot, nagy bemenő ellenállással nem terheli (ha jól gondolom nem modulálja, piszkítja össze) a mintavétel forrását, és azzal meg tudom hajtani lineárisan, vagy logaritmikusan az adott műszert. A műszer kitérését, érzékenységét kell valahogy beállítani. HF milivoltméter akad, jelgenerátor is... Valahogy ezt a műv.erősítő dolgot kéne megoldani. Megpróbálok összevadászni valamit... Ha van valakinek ötlete, ne titkolja.
Szia proli007!
Mit értesz a logaritmikus erősítő egyenáramú hibáján? Hogy kell ezt elképzelni? Mondjuk az Elliot-féle megoldásban az tetszik, hogy ott kapcsolható a műszer VU és PPM üzemmód között.
Hello!
A logaritmikus erősítők, csak megközelítik a logos karakterisztikát, valamint a logaritmálást is csak egy bizonyos bemeneti feszültség sávban biztosítják. (Ha nem valami szorzós ide-oda konvertáló, vagy DSP megoldásra gondoltál) Az Eliot féle kapcsolásnak is megvannak a maga kis bajai. Eleve az egyenirányítása passzív, és így a dióda nyitóirányú karakterisztikája benne van a dologban. (tehát nyitófeszültség alatt nem mér) Az egyenirányító bemenetén, már 0dB esetén 10V csúcsértéknek kell lenni, hogy a 100mV-os nyitóval, 40dB dinamikát érjünk el. És akkor illik legalább 3dB-es túlvezérlési sávot hagyni. Na eztán jöhetne a logaritmákolás. A PPM/VU nem sokat tesz, az egyik csúcsegyenirányít, a másik meg átlagol.(ezt persze az analóg mérőműszer alapműködése és tehetetlensége is megteszi. (Majd ha meg logaritmálsz, akkor az lesz a bajod, hogy nem elég látványosan kalimpál.) De szerintem kicsit tűlértékeled a dolgot. Egy kivezérlésmérő, mindenképpen egy sacométer lesz csak. Mert a célt kellene először deklarálni, aztán az utat keresni. Ennek a kütyünek egy adóban, van jogosultsága, hogy ne vezéreljük túl, de egy erősítőben csak látvány szerepe lesz. Normál használatban, úgy is a tartalék dinamika dartományt (erősítő kihajtását) úgy kell beállítani, hogy ha becsap a "menykő" az is torzítatlanul tudjon kijönni belőle. Ha meg egy erősítő csúcsteljesítményen van hajtva, akkor meg tényleg csak a túlvezérlést kell jelezni. Egyébként az egyszerű kivezérlésjelző műszert régen úgy szokták kialakítani, hogy ne legyen lineáris a mutató elmozdulással (torzított). Így nem verte szét a műszert, ha túlvezérlés volt. Ha azt szeretnéd, hogy a mérőáramkör ne hasson vissza a jelre, akkor első, hogy a kimeneti impedancia a mérőponton alacsony legyen, második, hogy neminvertálós bemneti fokozatot kell építeni, olyan bemeneti osztóval, hogy még akkor sem kerüljön túlvezérlésbe az IC bemenete (ne közelítse meg a bemeneti jel a műveleti tápfeszeit), ha a kimeneten az erősítő tápfesze jelenne meg. Akkor nem fog visszahatni, csak ha kimarad a kijelző tápfesze. (remélem érthető) üdv! proli007
Huhh... még kicsit emésztem.
Idézet: „szerintem kicsit tűlértékeled a dolgot” igen, ez elő szokott fordulni nálam... de ha már odabiggyesztek egy műszert akkor értelme is legyen, ne csak kalimpáljon. Megoldhatnám egyszerűen ledekkel is, az még ráadásul látványosan villogna is.... nem, nem! Másrészt mérőerősítőnek szánom a dolgot(egyenlőre), jó lenne ha a műszer hozzávetőleges tájékoztatást ia adna. Szép lassan tisztulnak a dolgok, szép lassan... Üdv: Megaymir
Nos, valahogy így képzelem el a dolgot:
Egy egyszeres erősítésű fokozat leválasztja a jelet, amit ezután egy lineáris és/vagy logaritmikus fokozat erősít, majd egy összegző fokozat meghajtja a műszer kört, ami lehetne talán ennek a kapcsolásnak a jobb oldala. Nagy vonalakban jó ez az elképzelés? A csatolmány egy mórickarajz erről, lehet, h hülyeségeket firkáltam... Ha így van, tegyetek helyre. Üdv: Megaymir
Hello!
Háát? Az első és a hátsó buffer fokozat, erősítése nulla. Ez még igen csak elvi rajz szagú. Az egyenirányítás megoldása, még nem látszik. Szerintem fojtasd a tervezést, mert itt még sok minden, nem érthető. :no: Ja, és most már 60dB-ről van szó! üdv! proli007
Na igen, teljesen elvi, ezért írtam, hogy mórickarajz!
Igazság szerint elég sokat kell utánaolvasnom még a témának. Van még mit elsajátítani bőven! Főleg az erősítések beállítása, ellenállások egymáshoz való viszonya kérdéses. Tudsz ajánlani esetleg valami forrást, anyagot ezzel kapcsolatban? Üdv: Megaymir
Szia!
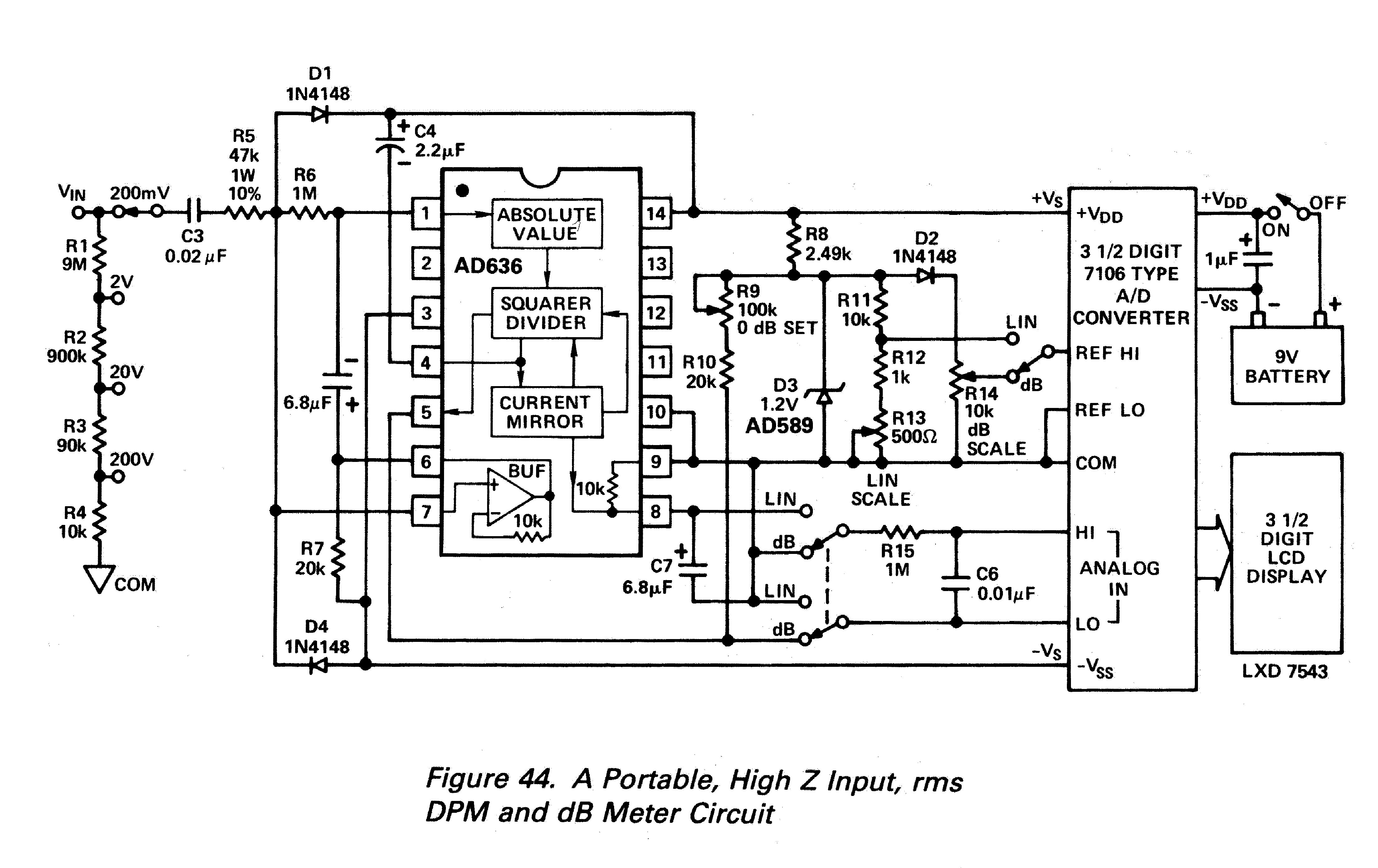
A műveleti erősítők alapkapcsolásait és számításait, nem ártana a Net-en átnézni. Nekem van anyagom hozzá, de az éppen 30 éves, nem hiszem hogy hozzá férnél, bár lehet nincs is rá szükség. Viszont ajánlom figyelmedbe az Analog Devices gyártmányú IC-t ami megoldás lehet számodra. Íme néhány alkalmazási példa. üdv! proli007
Heló!
Megnéztem a két rajzot, elgondolkoztató. Ezek az ic-k nem kispályás szerkentyűk, de ez meglátszik az árukon is, sajnos. Én a TL084-et gondoltam befogni a feladatra, de majd meglátjuk - lehet, hogy AD ic lesz a vége (költségesebb, de egyszerűbb megoldás). Csatolok néhány doksit, amit műv. erősítő témában be tudtam gyűjteni... ezekből próbálok okosodni. Hátha másvalakinek is hasznára válik. Szép napot! Megaymir
Szia!
A két rajzot, a Net-ről szedtem le, valami aplikáció, de már nem tudom honnan. itt az IC alkalmazása le van írva, teljes mértékben. Ha gondolod Emilre elküldöm, mert a fórum motor nem engedte feltenni, kicsit nagy volt a pdf. üdv! proli007
Hali!
Találtam én is egy VU meter-t,felteszem,hátha valakinek megtetszik:
Sziasztok!
Ma elkészült a Rod Elliott féle (Bővebben: Link ) VU meternek szánt millivolt mérő a nagy impedanciás osztóval . Van "szép" doboza jó nagy műszerekkel még világítást is tettem bele, csak éppen nem működik. A műhelyben rákötöttem egy rádióra ott még az egyik csatorna működgetett, de az erősítővel semmi. Sem a recout-on sem az erősített kimeneten. Csináltam egy átkötést és kihagytam a feszosztót, de így sem megy. Amikor bekapcsolom mindkét mutató kimegy max-ra és szépen visszamennek nullára, aztán semmi. Sajnos az én tudományom itt megállt. Próbáltam mindent a rajz szerint forrasztani, úgy gondolom sikerült is. Valakinek valami ötlete? Nagyon köszönöm! Bye Don
Szia!
Mérjél feszültségeket az ellenállásokon, és tedd fel ide.Meg esetleg egy képet a cuccról, meg a myákról. üdv! proli007
Sziasztok!
Megnézettem a cuccot egy nálam jobban hozzáértővel. Kapásból rábökött, hogy a tápom nem +/- -os. :bummafejbe: Azt inkább ne feszegessük, hogy hogyan volt föld a cuccon... A FET-et és a tranzisztorokat próbáltam kimérni, úgy néztem egyik sem szállt el. Remélem, ha a tápot rendbe teszem meggyógyul az áramkör és rendesen fog működni. ![]() Egy kérdésem azért lenne. Ha az áramkör 50 μA-es műszerre van tervezve ki tud vezérelni egy 100 μA-es műszert? Köszönöm! Üdv.: Don
Hello!
Természetesen nem okoz neki gondot. Bár Én az R8-at kisebbre venném. Szerintem oda 2,7kohm-ot tervezett eredetileg. üdv! proli007 |
Bejelentkezés
Hirdetés |





)











