Fórum témák
» Több friss téma |
Fórum » Muzeális készülékek-alkatrészek restaurálása
Témaindító: Kutyuli, idő: Márc 29, 2008
Témakörök:
A repedezett lakkozás leszedésére mindkét módszer alkalmas.
1.Amennyibenkromofágozol utána semlegesiteni kell(szellöztetés)denaturált szeszes tisztitás. Én szoktam denaturált szeszbe+szalmiákszeszt tenni ez is tisztitja a felületet. 2.Csiszolással.,citlingeléssel nagyon szép az eredmény.DE vigyázni kell hogy milyen vásznat használsz. Könnyen lecsiszolod a patinát is,és megsérted a furnért ami föleg az iveknél nagyon el van vékonyodva és könnyen töredezik is
Üdv!
Jön a tavasz, ideje eljárni "kukázni". Ma is voltam, meglehetősen bő zsákmánnyal jöttem haza. Többek közt egy teljesen ép Beijing 837-1P Kapcsolási rajzzal, meg egy régi sz. gép billenytűzet maradványával, és még egyéb érdektelen panelekkel. Ha valakinek kell, szóljon, elküldöm a rajzokat nagy felbontásban emailben. A billenytűzet ingyen elvihető ha érte jössz (Dunakeszi), postázni nem szeretném. A nyák lapja helyenként törött, meg rengeteg gomb hiányzik belőle, de itt csak a pusztulás várna rá.
Orion matricát keresek nem vaterás áron.
Erre gondoltam: http://retronom.hu/index.php?q=node/14273 Köszönöm.
üdv!
A V-betüs oldalon van 2db matrica 1000 ft.Szerintem ennyit meg ér. Innentől már csak az a jobb ,hogy kinek van ingyen.
Amennyiben leütöd tied a cucc.Oda kell hogy adja mert kitiltják az oldalról.Ne körülményeskedj vedd meg.Sok sikert a rádiódhoz.Melyik lesz?
Sajnos ilyenek az árak. Mit kapsz ma már 500 Ft-ért. Ez elég speciális, hiánycikk dolog. Saját nyomtatásban sem hozod ki nagyon olcsóbban, és a minőség akkor is kérdéses.
Én is vettem belőle, tökéletesen működött minden, ebben a partnerben megbízhatsz!
Köszi Nektek!
Egyébként egy Orion 442 rádiót díszítene. Esetleg nem e tudjátok hogy a skálamutatót hordozó 3 egyforma skálahúr két végét mi kötötte össze? Rugót nem találtam benne és mind a 3 le volt esve a helyéről.
Még mielőtt hálálkodnál nézd meg hogy az Orion 442-es hez nem lesz-e nagy a matrica
amit a képen láttál .Kérdezd meg az eladótól milyen nagy a cucc.Mert lehetséges hogy neked a kicsi kellene .
Szerintem azokat is rugó kellene, hogy összekösse. Van egy 882-m, aminek a skálamechanikája azonosnak látszik, 1-2 nap múlva talán pontosabbat tudhatunk.
Mindhárom húr egyik fele a skáladob csavarjához van beakasztva. Hátulról nézve a jobb oldali húrnak egy rugója van, és a tengelyen levő sasszegbe van rögzítve. A középsőnek, és a bal oldalinak egy közös rugója van a tengely köré tekerve. Talán látszik a képeken.
Sziasztok!
Szombati nosztalgia börzei szerzemény. ORION 202 Sajnos az autotrafója cserélve lett és a tekercse is hiányzik. Ha valakinek van feleslegese valamelyikből jelezze, vevő lennék rá. Dobozával lesz munka, de menthető.
Köszönöm a képeket nagyon jól látszik.
Sajnos ezt nem találtam volna ki és a gépkönyvből viszont kimaradt. Rugók elveszhettek sajnos. Annyi kérdésem lenne még hogy mi volt a sorrend összerakáskor? Előbb helyére ment a működő skála és utána a sasszi vagy együtt kell betenni mindent a dobozba?
A teljes húrozás sorrendje a következő: Ki kell venni a sasszit, majd ki kell szerelni az előlapot (6 facsavar). A mutatók (3 kisdob)húrozását külön az asztalon meg lehet csinálni, úgy könnyebb is. Mikor ez már működik, szépen végigmegy a mutató, akkor vissza lehet rakni az előlapot. A sasszin a meghajtó tengely, és a forgó nagy-dobja közti húrozást is külön, kint lehet megcsinálni. Az előlap balszélső kis-dobja és forgó kondi nagy dobja közti húrozást csak összerakva, bent a dobozban lehet megcsinálni, és ez a végső munkafázis. Tehát 3 egymástól független húrozásról beszélünk. Nem irigyellek érte, én viszonylag gyakorlott vagyok e téren, még is rá szokott menni majd egy nap a 442-esek húrozására.
Üdv mindenki !
Ez a szkóp már muzeális ? A hozzászólás módosítva: Feb 25, 2015
Üdv, ez már akkor az volt, mikor Szergej összerakta
Rugókat sikerült szerezni amint lesz egy szabadnapom megpróbálom meghúrozni.
Addig is köszönöm a tanácsokat. Ha nem megy valami jelentkezem.
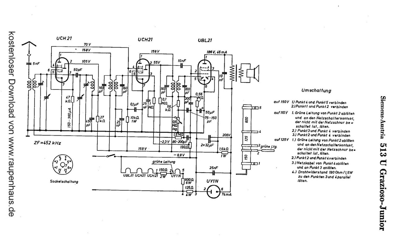
Üdvözlet Mindenkinek! A minap hozzám került egy Grazioso-Junior Super 513U Radio Siemens-Austria rádió. Az egyenirányító cső hibáját az előző tulajdonosa jelezte nekem. Hazavittem és bekapcsoltam. A rádió megszólalt, de kb. 5 perc múlva az említett UY1N cső elkezdett erősen villogni és a készülék elhallgatott. Gondoltam, nem baj van másik amit beleraktam, de ezzel sem indult el a masina. Elkezdtem méricskélni és kiderült, hogy nem megy feszültség az egyenirányító csőre. Kiderült, hogy az "ellenállásmodul" csapjáról nem megy a feszültség - szakadás van. (Ebben a készülékben nincs trafó, hanem egy "ellenállásmodul" van benne helyette több kivezetéssel). A fűtés megy. Ha a fűtés egyik kivezetését, amelyen kb. 115V van, kapcsolom a csőre, akkor működik a rádió. Jó lenne tudni, hogy pontosan milyen feszültséget kell a csőre adni?
Az UY1N fűtése (az 1-es 8-as láb között) katalógus szerint: 50V 0.1 A
Tisztelt Janó bácsi! Az ellenállásmodulra az 1-es lábra 106V a 8-as lábra 150V megy ki, így lesz a fűtés 50 V helyett 46V. De nem ezzel van a baj, a fűtés jó. A rajz szerint a bejövő 220V után 125 ohm 4W huzalellenállás kéne és ezután menne a csőre a feszültség. (Itt helyben voltam 2 elektronikai szaküzletben, de nem volt, sőt nem is lehet kapni.) Az ellenállásmodul egyébként sérült, már így kaptam: A legfelső 5. kimenet része teljesen le van törve. a 4.-re megy rá a 220V. Az 5. kimenetet pótolták egy másik 600 ohmos ellenállás helyett (a rajz szerint) egy 890 Ohmosra (gondolom, mert 886 ohmot mérek), ez megy a fűtésre (8-as láb) Az 1-es lábra az ellenállásmodul 2. kimenetéről megy a feszültség. a modul 3. kimenetén lenne a kimenő feszültség a cső felé, de ezen nincs feszültség. Összekötöttem a 3. és 2. kivezetést és így megy a rádió, de ez nem megoldás. Azt kérdezem, hogy a rajz szerinti 125 ohmos ellenállás után milyen feszültségnek kéne kijönnie?
Hát erre én a rajz, meg a feszültség adatok hiányában nem tudok válaszolni. A leírásodat, meg nem tudom követni. De "Ohm törvénye alapján könnyen ki lehet számolni a feszültség adatokat,meg a szükséges ellenállás értékeket. A csövek fűtőfeszültsége ismert, vagy ki lehet keresni a katalógusokból, a 0.1 A pedig nagyon megkönnyíti a számolást. (V:A=ohm) Ha nincs pont akkora értékű ellenállás mint amit kiszámoltál, akkor több darabból is meg lehet csinálni, vagy a nagy huzalellenállásokon a gyűrű helyének változtatásával beállítani. És még egy képlet: V x A=Watt, vagyis az ellenálláson eső feszültség szorozva 0.1-del adja a szükséges Watt értékét.
A hozzászólás módosítva: Feb 26, 2015
Rajzot a hétvégén mellékelek feszültségadatokkal együtt. Köszönöm a segítséget.
Egy kis segítség.
Üdv mindenkinek!Nekiálltam a Hornyphon W367 A rádiónak,de én is favágó vagyok a csöves technikához.Buta kérdésem lenne.A csövek fütenek,de 2 csö,az Ech 81 és az Ef 89 érdekes.
H a többi csö fényét 100%-nak mondanám akkor ez a 2 csö kb 30%-os fényeröt ad. A fényerejük elárulja a csöveknek,hogy rosszak?Urh-n sikerült befogni a Friss Fm-et,de totál hangerönél alig hallható.Ha lemezjátszó bementre nyúlok szintén csak nagyon halkan lesz brummos, a pár watt helyett csak pár miliwattal megy szerintem.Mivel nincs ilyen csövem ezért fordulok hozzátok,hogy nyilván ezzel a 2 csövel kellene a cserét kezdenem igaz? Vagy ha bárki ötlettel szolgál a tapasztalatával nagyon megköszönöm.
Mérj fűtőfeszültséget! 6,3-6,5V között kell lennie, mindkét csőnél a 4-5 láb közt!
Köszi!
A fényerő önmagában nem sokat mond, mert a katód kialakításától is függ, mennyi látszik belőle.
Az adott csőről többet elárul a jó feszültségek megléte melletti anódáram. Érdemes rákeresni a csövek adatlapjaira és megnézni, hogy a mért érték a gyári adatokkal mennyire egyezik (munkapont a kimeneti jelleggörbén). Gázos csöveknél magasabb az anódáram, a meredekség kicsi és torzít is a cső. Emisszióvesztetteknél csak kicsi a meredekség, kevés az anódáram. Ezek óvatosan regenerálhatók, irányított túlfűtéssel. Természetesen csak átmenetileg szabad túlfűteni, kiszerelve és ellenőrzött körülmények között, anódfeszültség nélkül. A jelen csöveknél minden cső azonos fűtőfeszültségen van, tehát minden csövön egyformát kell mérned. A gyenge vétel behangolatlanságból is eredhet, illetve szivárgó kondenzátorok szeretik elvinni a csövek munkapontjait. Aztán meg kell nézni, hogy a az AFC megfelelő értékű-e, nincs-e túl sok negatív feszültség a nagyfrekis körben a rácsokon. Ha a végfok katódellenállással állítja elő az előfeszültségét, akkor meg kell nézni, hogy a párhuzamos katódkondenzátor megfelelő kapacitású-e. Ha kiszáradt-kapacitásvesztett, akkor erős negatív visszacsatolást létesít a hiánya és emiatt gyenge lesz az erősítés. A gyenge pickup-brumm ezt valószínűsíti is. Aztán a kimenőtrefóval szoktak párhuzamos kondenzátort (pár nF) kötni gerjedésgátlás miatt, ez ha szivárog, akkor magas a végcső anódárama, de a cső nem a trafóra dolgozik teljesen. A hozzászólás módosítva: Feb 27, 2015
Köszönöm,nagyon sokat tanultam abból amit leirtál,ez alapján járok el.
Azt még kifejtenéd,hogy mit jelent,hogy az AFC megfelelö értékü? Köszi.Ilyen válaszok után rájövök mennyi "feketelyuk" van a tudásomban. |
Bejelentkezés
Hirdetés |
















