Fórum témák

» Több friss téma
Fórum » Olajdiffúziós vákuumszivattyú építése
Lapozás: OK   1 / 15
(#) Collector hozzászólása Júl 9, 2008 /
 
Üdv mindenkinek! A téma adott, hogy mindenki képben legyen, csatoltam egy képet. Szükségem volna elég mély vákuumra (0,001mbar vagy kevesebb), és átnézve a közép-mély vákuumszivattyúk felépítését, a diffúziósat lehet szinte kizárólag otthoni körülmények közt, és felszereltséggel megvalósítani. A felépítése alapján elég egyszerűnek tűnik, de biztos vagyok benne, hogy vannak buktatói.
Az lenne a kérdésem, hogy van-e valakinek diffúziós szivattyúval kapcsolatos tapasztalata, amit meg tudna osztani? (Mennyi olaj kell, mennyire kell melegíteni, mekkora elővákuum kell neki stb)
(#) Lozsa válasza Collector hozzászólására (») Júl 9, 2008 /
 
"0,001mbar" ????

Te jó ég! A klím leszívásnál van kb 1mBar végnyomású szivattyú. Annak még az ezrede kell?

Mihez használnád (ha nem túl indiszkrét)?

Fémgőzölés? Vagy mi?
(#) dpeti válasza Collector hozzászólására (») Júl 9, 2008 /
 


annak az olajnak a literje nem valami olcsó mulatság elmondom neked...

és nem, baromira nem lehet otthoni körülmények között normálisan megépíteni...

másrészt miből állapítanád meg hogy megfelelő vákuum van a kamrádban?

suliban ez az egész cucc egy szekrény nagyságú vezérlő részből, és egy másik szekrény nagyságú szivattyú+egyéb cuccból állt...

nem hiszem hogy van annyi zsebpénzed hogy ezt megcsináld
(#) Collector válasza Lozsa hozzászólására (») Júl 9, 2008 /
 
Fúziós reaktorhoz kell. Minél mélyebb vákuum annál jobb. A diffúziós lemegy 0,000 000 001 mbarig is (a gyári). A klíma leszívásnál úgy tudom 0,05mbarosak vannak (majdnem olyat vettem, csak ha már 60k-t költök egy ilyenre, nem fogok 20 óránként olajat cserélni benne, márpedig azokban kell sajnos).
(#) Collector válasza dpeti hozzászólására (») Júl 9, 2008 /
 
Tisztában vagyok vele, hogy mennyibe kerül az olaj, de ebayon néhány ezer forintért árulják. Lehet otthoni körülmények közt csinálni, mert nem egy ember csinált már! Nyomást természetesen vákuumszenzorral nézném.
Nem tudom pontosan mennyibe fog kerülni, de 30-40k alatt megúszom, úgy számoltam.
(#) oleg53 válasza Collector hozzászólására (») Júl 10, 2008 /
 
Fúziós reaktor? Bevallom, először ki akartalak röhögni, de utánanézve kiderült, hogy működhet.
És mi lesz az üzemanyag? Li7+H?
Sajnos érdemben még nem tudok hozzászólni, de sok sikert kívánok hozzá!
(#) dpeti válasza Collector hozzászólására (») Júl 10, 2008 /
 
akkor sok sikert hozzá!
(#) Collector válasza oleg53 hozzászólására (») Júl 10, 2008 /
 
Az üzemanyag első ciklusban deutérium lesz. Azaz D-D fúziót akarok kezdetnek. Ha aztán minden jól megy, akkor lehet, hogy D-T fúziót is össze lehet hozni.
(#) Collector válasza dpeti hozzászólására (») Júl 10, 2008 /
 
Bővebben: Link
Itt tulajdonképpen egy majdnem komplett szivattyút kapok 85$+ szállításért. Ehhez már csak olaj kell + egy hevítő tekercs, ami van is itthon. Még vákuumszenzort kell valahonnan beszerezni. Ez így már egy komplett rendszer lenne, ki lehet egészíteni többfajta érzékelővel.
(#) elektrorudi válasza Collector hozzászólására (») Júl 10, 2008 / 4
 
Hat évig foglakoztam fémgőzöléssel, vákuumszivattyúkkal, tisztításukkal, és egy kicsit a javításukkal.
Egy profi (Leibold) diffúziós szivattyúval elérhető vákuum nagyságrendileg 1x10e-8 mBar (1x10-11 Bar).
De...
Ehhez egy háromfokozatú szivattyú rendszer kell (3db szivattyú !!!) :
- elővákuum, (1x10e-2 mBar-ig)
- középvákuum, Roots (1x10e-5 mBar-ig)
- nagyvákuum (Diffúziós szivattyú 1x10e-8 mBar-ig)
A diffúziós szivattyúnk egy "kicsit" nagyobb a linkelt képen láthatónál... a teljesítménye 12.000 liter/másodperc !!! Így a vákuumteret kb. fél óra alatt szívta le.
Az elő- és közép- vákuum szivattyúk egy egységet képeznek, a diffúziós szivattyút viszont tányérszelepekkel le kell választani mint a vákuumtérről, és a többi szivattyútól is. Ugyanis az olaj 230-240 C fokos benne, és ha e közben túl nagy a nyomás (>1x10e-3 mBar), akkor pillanatok alatt megég benne az olaj, és dobhatod ki...
Még írhattam volna ezt-azt róla, de kár a betűért.
Amatőr körülmények között lehetetlen megépíteni !
A leírt adatok csak tájékoztató jellegűek, a pontos
értékek gép függőek, sőt a gép állapota is erősen befolyásolja őket.
Még csak annyit, hogy a komplett fémgőzölő gép ára használtan 220 millió Ft /db volt, de csak azért ilyen olcsó, mert egyből 2 darabot vett a tulaj...
Az ár kb. 2/3-át a vákuum berendezések tették ki...
Persze nem mondom, hogy olcsóbban nem lehet egy kicsi gép egységet kihozni, de...

Mielőtt a diffúziós mellett döntesz, érdemes lenne a turbomolekuláris szivattyú megvásárlását is fontolóra venni ! Mert igaz, hogy sokkal bonyolultabb a felépítése, viszont az üzemeltetése is sokkal egyszerűbb !!! Nincs benne drága olaj, csak egy "ventilátor" ami >50.000 n/min sebességgel pörög. Viszont, ha beleberül egy fél mákszemnyi szennyeződés, akkor kidobhatod...

Persze az előszivattyúkat így sem tudod megkerülni...!

(#) Collector hozzászólása Júl 11, 2008 /
 
Kösz a sok infót. A legtöbb helyen, akinek csak hobbi célból kell egy mély vákuum ilyen kisebb diffúziós szivattyút használ. Egyről tudok, akinek több pénze volt, és turbómolekulárisat vett. Ha lenne, én is olyat vennék, mert annak nem kell túl nagy elővákuum
Diffúzióshoz már beszerváltam egy halom elővákuumkompresszort, van 1 sima kis hűtőgépkompresszor, ezt lemértem 50mbarig lemegy. Aztán van még 2 nagyobb hűtőgép kompresszor (bár ezeket aligha fogom felhasználni, mivel dugattyúsak, a kicsinek viszont még elég jó a szigetelése), és 3 darab 1,5kW-os rotációs klímakompresszor. Ezektől sokat remélek. Leginkább most ez lesz a kérdés, hogy sikerül-e elég mély elővákuumot csinálni.
(#) Libus válasza Collector hozzászólására (») Júl 11, 2008 /
 
A kompresszor és a vákuum szivattyú azért nem ugyanaz...
A klima kompresszorok nem lesznek hosszú életűek, ha nem kapnak hűtést... de lehet próbálkozni.
(#) lgyk válasza Collector hozzászólására (») Júl 11, 2008 /
 
Idézet:
„Azaz D-D fúziót akarok kezdetnek. Ha aztán minden jól megy, akkor lehet, hogy D-T fúziót is össze lehet hozni.”


GeV-os gyorsítód már megvan hozzá?
(#) ktr válasza Collector hozzászólására (») Júl 11, 2008 /
 
Leybold

A 16"-os (DIP-8000) 70kg, 0,6mBar elővákuum, 5l/perc hűtővíz, 4kW fűtés.
(#) Collector válasza Libus hozzászólására (») Júl 11, 2008 /
 
Tudom, hogy a hűtő meg klímakompresszorokat a gáz hűti. De 10-15 percig simán bírják levegőn is. A hőkapcsoló meg leold, ha túlmelegedne bármelyik is.
(#) Collector válasza lgyk hozzászólására (») Júl 11, 2008 /
 
Miért kéne hozzá gyorsító??
(#) elektrorudi válasza ktr hozzászólására (») Júl 11, 2008 /
 

A 16"-os (DIP-8000) 70kg, 0,6mBar elővákuum, 5l/perc hűtővíz, 4kW fűtés

Ilyenek működnek nálunk is csak nagyobbik fajtából (12m3/sec).
Azért egy megjegyzést:
ezek a megadott elő- és vég- vákuum értékek a gyakorlatban soha el nem érhetők !
- 0,6mBar azt jelenti, hogy ott már csinál valamit... de ez nem a normális működési tartománya ! (megég az olaj!)
- a 1x10e-8 mBar végvákuumot csak lezárt bemenettel, és napok alatt éri el (ha egyébként minden tömítés a csúcson van.
Hozzánk többször kivonult a szerviz egy leak méterrel, de nem tudták kimutatni a szivárgást, és nem tudtak magyarázatot adni, hoigy miért csak egy nagyságrenddel nagyobb vákuumot tudunk csinálni.
(#) elektrorudi válasza Collector hozzászólására (») Júl 11, 2008 /
 
Egyről tudok, akinek több pénze volt, és turbómolekulárisat vett. Ha lenne, én is olyat vennék, mert annak nem kell túl nagy elővákuum

Hmmm...
ezt miből gondolod?
Közel ugyan akkora elővákuum kell neki, mint a diffúziósnak: kétlépcsős: rotációs + Roots szivattyúk.
Ha nagy a nyomás, nem bír felpörögni. Ha nem pörög fel, nem szív... !
.... és még egy fontos dolog :
az elővákuum szivattyúk végvákuuma csak egy dolog... legalább olyan fontos a hozam !!!
Márpedig a hűtőgép, klíma stb szivattyúknak (kompresszoroknak) nincs hozama !

Talán túl pesszimista vagyok, de ezzel az ismeretanyaggal, amivel most rendelkezel, nem látok esélyt a sikerre...

Persze, lehet, hogy tévedek. A múltkor egy elektronikából teljesen képzettlen kolléga, kis segítséggel, összehozott egy inverteres hegesztő aparátot... !
(#) oleg53 válasza Collector hozzászólására (») Júl 11, 2008 /
 
Idézet:
„Az üzemanyag első ciklusban deutérium lesz. Azaz D-D fúziót akarok kezdetnek. Ha aztán minden jól megy, akkor lehet, hogy D-T fúziót is össze lehet hozni.”


Gondolom, akkor a nehézvíz kinyerése sem probléma (vagyis nem megoldhatatlan). Nade a trícium... Arra is van konyhai recept?
(#) Collector válasza oleg53 hozzászólására (») Júl 12, 2008 /
 
Minek elektrolizáljak nehézvizet, ha egyszer lehet palackban tiszta deutériumot is venni? A tríciumra van házi recept, de ahhoz előbb mennie kell a D-D fúziónak.
(#) Collector válasza elektrorudi hozzászólására (») Júl 12, 2008 /
 
Hát ezt ki kell próbálni. Ha mindenre eddig azt mondtam volna, hogy úgy sem lehet megcsinálni, sehol sem tartanék.
(#) ktr válasza elektrorudi hozzászólására (») Júl 12, 2008 /
 
Idézet:
„és nem tudtak magyarázatot adni, hoigy miért csak egy nagyságrenddel nagyobb vákuumot tudunk”


Ha túl kicsi a kamra és szivattyú közti vackok (csapda, szelep, csövek) áteresztőképessége várhatsz ítéletnapig mire le bírja szívni.


Idézet:
„0,6mBar azt jelenti, hogy ott már csinál valamit...”


Ez a legnagyobb érték amit nem szégyelltek hazudni + igen messze van az 50mBar-tól -> a hűtőkompresszor kicsit nagyon karcsú a feladathoz.

Más gyártók diffúziósai is kb. ilyen paraméterekkel bírnak, értelmesen ~0,01mBar-tól lehet használni (ami méééég messzebb van az 50-től).


Kicsit egyszerűbb lenne tanácsot adni ha meglenne még pár adat:
kamra mérete (térfogat, felület)
időtartam (percek, órák?)
állandó nyomás kell?
problémát okoz az olajszennyezés?
(#) ktr válasza Collector hozzászólására (») Júl 12, 2008 /
 
Aki tanul ***, aki nem az is marad. Haladni csak úgy lehet ha próbálkozol.

A káromkodást kicsillagoztam,
Moderátor
(#) Collector válasza ktr hozzászólására (») Júl 12, 2008 /
 
Pontos űrtartalmat nem tudok, kb 30 centis acélgömb + hozzá tartozó csövek, kivezetések. Időtartam csak annyi kell, hogy a reaktornál legalább elérjem a 0,001mbar körüli vákumot. Aztán kikapcs. Ha nagyon megnőne a nyomás, akkor újra bekapcs, de megfelelő szigetelés esetén ez aligha következik be gyorsan. A nyomás pontos értéke nem kritikus, mivel mindenképpen ingadozni fog az injektált deutérium miatt (+a fúzió melléktermékeként keletkező hélium) Szóval ez úgy néz ki, hogy levákumozom, amennyire lemegy, majd egy fusor bekapcs, aztán kikapcs. Az jó kérdés, hogy mennyire tolerálja a cucc a különböző szennyeződéseket, erről fogalmam sincs.
(#) elektrorudi válasza ktr hozzászólására (») Júl 12, 2008 /
 
„és nem tudtak magyarázatot adni, hoigy miért csak egy nagyságrenddel nagyobb vákuumot tudunk ”

Ha túl kicsi a kamra és szivattyú közti vackok (csapda, szelep, csövek) áteresztőképessége várhatsz ítéletnapig mire le bírja szívni.


Ezzel nincs túl nagy gond... a csövek átmérője kb. 15cm, a hossz is minimális (a lehetőségekhez képest).
Másrészt, ez egy már működő gép, ami "meghibásodott".
Ezzel csak arra akartam célozni, hogy egy rendszert nem lehet "csak úgy" összerakni. Ha nincs megfelelő műszered a hiba megkeresésére, végtelenségig próbálkozhatsz!

értelmesen ~0,01mBar-tól lehet használni
Még ez is sok neki... !

... és a legfontosabb :
a kimenetén, szívni, szívni, szívni !
(#) Collector hozzászólása Júl 12, 2008 /
 
Bővebben: Link
Itt egy jó kis bemutató. Majd megkérdezem tőle, mekkora elővákumot használt.
(#) Laslie74 válasza Collector hozzászólására (») Aug 17, 2008 /
 
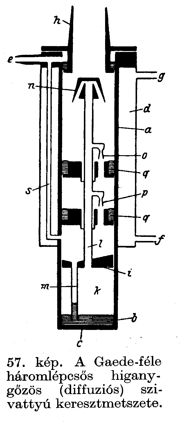
Higanydiffúziós szivattyún gondolkoztál már? Az olajdiffúziós szivattyúk előtt csak ilyet használtak és még a molekuláris szivattyúknál is jobb a hatásfoka ráadásul olcsóbb és ha kifolyna pár kiló kénnel semlegesítheted. Ha több lépcső Hg-szivattyút kapcsolsz össze még a vízsugaras előszivattyú is elég.

hg.gif
    
(#) Collector válasza Laslie74 hozzászólására (») Aug 17, 2008 /
 
Idézet:
„és ha kifolyna pár kiló kénnel semlegesítheted”

Hát, szerintem higanygőzt is ereget, azt meg nem nagyon tudom semlegesíteni. Mennyi higany kell ehhez? Venni nem lehet az biztos. Mondjuk van néhány kiló, nem tudom elég-e hozzá.
Ma pont kompresszor javítással foglalkoztunk itthon, arra gondoltam, elővákumnak jó lenne egy klímakompresszor is, folyamtosüzemben, csak a motorját ki kell cserélni normál léghűtésesre, és le kell rendesen hegeszteni. Úgy már mehetne folyamatosan. Két sorbakötött rotációs pedig elég mélyre le tudna menni elvileg. Gyakorlatilag meg ki kéne mérnem.
Mondjuk az olajdiffúzióssal sem lenne baj, csak az elővákumot hozzá megteremteni..
(#) Laslie74 válasza Collector hozzászólására (») Aug 17, 2008 /
 
A higanydiffúziósnál ha zavaró volt a meddő higanygőz cseppfolyós levegővel teli Dewar-edényen átmenő U-csőben fagyasztották ki.
(#) Collector válasza Laslie74 hozzászólására (») Aug 17, 2008 /
 
Hát, elvileg akkor elég hozzá egy kaszkádhűtés is, propánt első lépcsőben + etilént másodikban. Az -100 ig is lemegy. Bár ott meg a co2 belefagy a csövekbe, ahhoz meg szűrő kell, meg még egy halom dolog.
Ilyen higanydiffúziósat hol lehet kapni? Újba biztos nem tudok venni, mert egy ilyen is gondolom 10 milliónál kezdődik.
Bővebben: Link
Ezekből csak összehozok már valami elővákumot vagy hűtést
Következő: »»   1 / 15
Bejelentkezés

Belépés

Hirdetés
XDT.hu
Az oldalon sütiket használunk a helyes működéshez. Bővebb információt az adatvédelmi szabályzatban olvashatsz. Megértettem