Fórum témák
» Több friss téma |
Fórum » NYÁK terv ellenőrzése
Mail ment. Remélem, odaért. Igazolj majd vissza, mert ha nem ment át, felteszem egy tárhelyre, ahonnan le tudod tölteni.
Úh!! Nagyon állat lett!!! Nagyon szépen köszönöm!!! Örök hála!!
Igazán nagyon szívesen. Hazsnáld egészséggel!
Sziasztok érdeklődnék hogy nincs esetleg itt valaki aki PDF
formátomból megtudná csinálni nekem a kétoldalas nyákot? Megvan mindkétoldal rajzolata pdf-ben.
Üdv!
Szeretném kérni valakinek a segítségét, ugyanis megkértek, hogy segítsek egy templomi orgona erősítőjének az átalakításában. Nekem kell megtervezni a hangváltóhoz a NYÁK rajzot. Készen lettem vele, csak picit félek, hogy valamit elszúrtam a rajzon! Valaki átnézné, hogy jó-e, mert nem akarok beégni (a STEREO potiban nem vagyok biztos, hogy jól kötöttem be).
Épp most akartam megnézni neked, de sajna nem tudom megnyitni. (Nincs hozzá progim)
Hali!
Gondolom, úgy van tervezve, hogy a poti a nyákba lesz forrasztva. Ezesetben a rajzod nem jó. A többi részét nem néztem át, de ha holnap még nem késő, több időm lesz rá, átnézem. Üdv. Szerk: most nézem, hogy a rajz szerint a 100nF-os kondin keresztül csatlakozik az IC 6-7 lábára a potik közösített része, szóval az se jó a nyákon.
Helló
Ehhez tudna-e valaki nyáktervet adni? Nagyon köszönöm
Szia !
Ez csak vicc volt, ugye ? Üdv!
miért, nagyon királyul működik
bocs rossz helyre írtam.
nem vicc tényleg szeretnék nyákrajzot kérni. csináltam egyet de nem sikerült jól, és féltem az ic-t mert már 2 (másmiben) már eltoltam... ha sikerülne megcsinálni lenne még egy cuccom a gyakorláshoz (nemrégótaelektrózok
Szia !
Azért mert nem régen elektronikázol, pont jó lenne neked, ha megpróbálnád megrajzolni ezt a 4 alkatrészt. Ha meg vagy vele és felteszed ide amit csináltál, biztosan elmondjuk mi jó és mi nem a rajzon. De azért illene valamit rajzolni, nem ? Üdv!
Nem. nem NYÁK -ba lesz forrasztva, hanem kilesz vezetve kábellel.
Szerintem így jobb lesz...
Szerintem ismerkedj meg az Eagle-el, csak 1 kis gyakorlás kell hozzá. Szerintem...
![]() ennyire tudnék hogy csak egy hibát vétettem? (ha valaki talál valamit a 2. verzióban jelezze legyen olyan szíves)
bocsánat, csak nem oké.
még mindig csak egy led világít... biztos van még valami bibi... köszönöm
Mekkora jelről hajtod meg?
:no:
mini-hifi vagy mobiltelefon vagy számítógép vagy discman 12v adapterről ennél nagyobbal nem tudom...
Akkor kicsi a bemenő jel.
(Szerintem kellesz egy kis meghajtófokozat.) Próbálj meg a bemenetre 2-3V-ot adni, mit csinál?
Szia !
Több variáció is van, ez egy.... Üdv!
Hali!
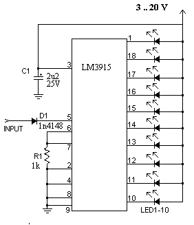
Azért jó lenne az IC 3-as lábára tápot adni!!
Szia !
Lemaradt ![]() Amugy is ocsmány a rajz, szóval ezt nem kell megcsinálni! Üdv!
elfelejtettem írni hogy cak egy led világít (fentről a második) de az ic egyáltalán nem meglegszik...
ugyanezt csinálja 3v bemenettel is
Ha változtatod a bemenő jel feszültségét (nem a tápot), akkor is ugyanaz a led világít, vagy változik?
Egyébként ez az IC vagy pont, vagy vonal kijelzést használ. Tehát az, hogy csak 1 Led világít, az lehet, hogy azért, mert pont kijelzésen van. Ha jól tudom, a 9-es lábbal lehet változtatni a módot, mindjárt utánnanézek. Addig is megnézhetnéd, amit kérdeztem. Látom közben még hozzáírtál.
ugyanaz a led világít egyfolytában bármit kötö rá, és a táp indig 12v.
azt tudom hogy lehet a9-es lábbal választani hogy pont vagy teljes kijelzés de azt nem tudom hogy lehet ezt állítani.
Na, ha vonalkijelzést szeretnél, akkor a 9-es lábat a 3-as lábbal kösd össze, és ne a földel, mint most van.
Esetleg próbáld ki: A 6-7-es lábról R1-el átkötsz a 8-as lábra, a 8-as lábról pedig egy R2-vel kötsz a földre
a 2es lábat is kössem össze a 3/9-essel?
|
Bejelentkezés
Hirdetés |













