Fórum témák
» Több friss téma |
Jó annak aki tud otthon EPROM-ot égetni!
Én sajnos nem, de ha tudsz valakit elmondanád nekem is? Külömben minden érdekelne a témával kapcsolatban!
Hali
Az ablakos EPROM-okt akarod égetni, mert akkor engen is erdekel tema
Igen, egy szép kerek ablakos (tehát UV fénnyel törölhető) 27C512-est kellene beégettetnem valahogy, valakivel, lehetőleg rövid időn belül.
Segítség!
SZia!
Ha fel tudom ajánlani a segítségemet 8megáig zudok égetni. elérhetés ment privátba.
Egyszerű, mégis biztosan működő eprom égetőt keresek, ami a processzorsebességtől független. Paralell porton menjen, lehet windows-os is.
Rt ék 02 EPROM égeto printer portra, égethető típusok: 2716...27 512
Rt ék 03 EPROM égető belső kártyás Rt ék 99/11 EPROM emulátor még van 94 es és a 91 -es RTÉK -ben(c64 + primohoz) üdv :yes:
Szia Szabi!
Van erről az eprom emulátorról valami bővebb infód, már progira gondoltam. köszi gerry
nincs
, csak ami az RTÉK -ban van..viszont a belső kártyáshoz van szoft..
Szia!
Az itt található #16800-as válasz melléklete egy eprom égető. A működtető szoftver a NYÁK-on található címről leszedhető, (be lehet üzemelni "tartós használatra") A program segít az áramkör élesztésében is. Sok epromot, eepromot, sőt ram-ot (persze csak ellenőrzéshez) lehet vele "égetni". Én megépítettem, jól működik. A program kezelése is egyszerű.
De mint alternatíva a WILLEPRO is szóbajöhet. Sokfajta epromot ismer, kezeli a soros eepromokat (24C.., 25C.., 93C.. ), és programozza a PIC-ek egy részét...
Hi!
Ez nem biztos hogy jó neked, de olyasmi [link=http://www.primo.homeserver.hu/]http://www.primo.homeserver.hu/[/link]
hi
http://www.qsl.net/iz7ath/web/02_brew/17_eprom/english/pag01_eng.htm eccerű házilag is kivitelezhető, és van hozzá program is, elméletileg Win9X (XP alatt is megy) ja és párhuzamos portról müxik. udv...
Én JDM-et használok ami soros porttal megy. IC-proggal programozom. Tökéletesen működik. Itt nincs az a gond mint a PIC-eknél hogy kevés a feszültség külső táp nélkül, mert az eepromnak nem kell 13 V csak 5.
Epromhoz kellene, nem eepromhoz! Úgy tudom, a jdm csak soros eepromot tud programozni.
Ez teljesen jónak tűnik, csak a rajzot kell majd egyszerűsíteni. Elfogadom megoldásnak, mert ez tűnik a legegyszerűbbnek.
Sziasztok!
Programozni szeretnék egy 39sf020A 70-4C-NH típusú multi-purpose flasht, az adatlapja megvan, de még nem csináltam ilyet, és nem jöttem rá, hogy hogy kell. Arra gondoltam, hogy egy mikrovezérlő segítségével küldeném az adatot, vagy megoldható közvetlenül PC-ről is? A mikrovezérlőhöz a progi hogyan épülne fel? A felsorolt kapcsolások müködnének ezzel is? Előre is kösz! Üdv
Sziasztok!
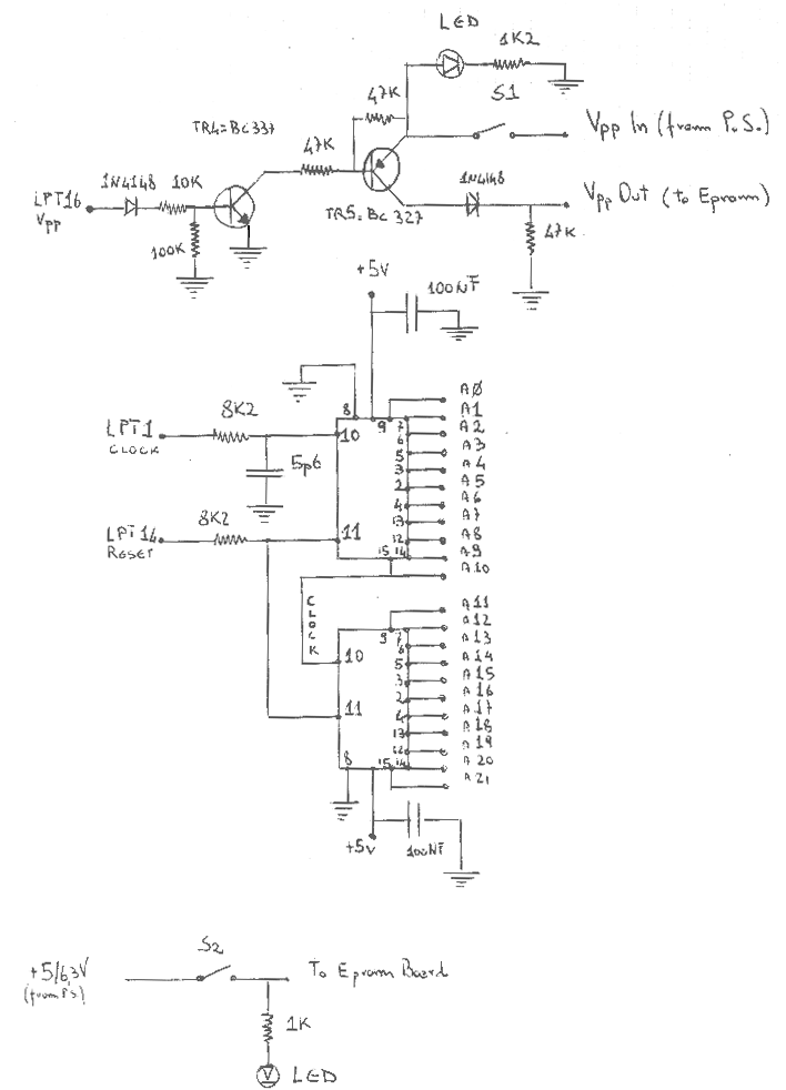
Sikerult egyszerusiteni a KISSEPROM aramkoron? En is ezt szeretnem megepiteni,de nehany helyen nem teljesen ertheto,hogy mit hova kell kotni.(lejjebb csatoltam ezt a reszt). Valakibnek nincs meg erthetobb formaban? Koszi.
A fenti ket foglalat szeru,az foglalat ,csatlakozo,vagy mi?
Az EPROM bekotese erdekelne,hogy melyik labra mi megy, a rajz szerint,mit hova kell kotni?,a tobbi vilagos... Koszi...
Kozben rajottem hogy Q0 - Q7 adatbemenet ,ami ertheto is,(de nem tudom hogy kozvetlen az LPT labakra kell kotni ?)
A VCC is ertheto,OE is,de pl a PGM -et nem latom az EPROM BOARD -on. Az LPT: CLOCK es RESET a rajzolt formaban 8k2 -n keresztul \kel?l\hova kell kotni?Ha a rajz szerint megyek ,akkor a 10 es 11 labakra jonne,de a 11 mar foglalt...LPT IN 2Help mee
hi szerintem jobb lenne ha a másik témában említett módszerrel csinálnád, ha csak futófényt akarsz, mert a BIN kiterjesztésű fájlokat még nem sikerült megértenem :S
Ha van lehetőséged rá, nyomtasd ki az oldalt (nem mindent, csak a fontosakat) és úgy jobban át lehet majd látni az egészet!
Amúgy az alapelv roppant egyszerű. Az PLT adatvonala az eprom adatvonalát hajtja meg. A nyomtatóvezérlő jelekkel a címléptetést és az égetés folyamatát lehet vezérelni. A többi a szoftver dolga... /Gomdolom én./
neked sikerült már felfogni a BIN kiterjesztésűú fájlokat???
először én is, aztán rájöttem hogy ez nem ígyvan!
Sziasztok.
Kozben rajottem ,hogy hogy is van a kapcsolas azon resze amit nem ertettem. Gondolkodtam ,hogy ok minden de hogy van a cimzes?es akkor lattam az alkatreszlistaban a 4040 -IC-ket,tehat: 2 x CD4040 IC-t hasznal ![]() Mostmar csak azt kell megertsem hogy hogyan cimzez ez a 2 IC,mert nem csak osszerakni akarom mit egy puzlit,hanem erteni is,kulonben semmit er az egesz...
ez egy számláló IC és 12 ""biten"" számol felfele kettes számrendszerben. (10esben 4096-ig számol)
azért kell kettő, mert mert így csak 12 címvonal lenne megcímezhető,de ha kettő van akkor már 24 címvonal lehetséges javítsatok ki ha tévedek Idézet: Ebben teljesen igazad van! De a KISSEPROM-ban csak 2*11bittet használt fel az áramkör tervezője az EPROM megcímzésére! Így a 2Db 4040-es számlálóval „csak!?” 2Mbit*8bit-tet lehet megcímezni az elméletben elérhető 8Mb*8bit helyett! „(#27216) source2” ( 2Mbit*8bit = 16.384Mbit. Azaz „ha jól számoltam” így is, 2Mbájt = 16Mbit infót lehet egy EPROM-ba belegyömöszölnil!) |
Bejelentkezés
Hirdetés |




, csak ami az RTÉK -ban van..

IN 2





