Fórum témák
» Több friss téma |
Fórum » Muzeális készülékek-alkatrészek restaurálása
Témaindító: Kutyuli, idő: Márc 29, 2008
Témakörök:
Szia! Én mindig az anódkörrel kezdem a felújítást. Ha szűretlen az anódfeszültség, vagy gyenge az egyenirányító cső, akkor biztosan búgni fog.
A régi elkókat szokás formázni is, ha hosszabb ideig nem volt használva a készülék. Én inkább cserélni szoktam őket, esetedben 2 db 50 mikrós kondi szűri a tápot. Az anódtekercs középleágazása egy 33 és 100 ohmos ellenálláson keresztül van lerakva testre, melyet egy 100 mikós kondi szűr. A kondit és az ellenállás osztót is illik ellenőrizni, ugyanis ezen keresztül fog a KF cső előfeszültséget kapni. A végerősítő ugyanúgy ebből a pontból kap előfeszültséget a 47k és 1M ellenállásokon keresztül. Ezeket is nézd meg és mérd meg az EL41 rácsán az előfeszültéget. Ennyit a tápról. Ezen felül gyakori hiba a hullámváltó, kopott hangerőpoti is, attól is tud búgni rendesen. Érdemes jól befújni kontakt spray-el és megjáratni őket. Ha még ígyis fennáll a búgás, akkor válaszd le az EAF42-es cső anódjáról a 10nF-os csatoló kondit és figyeld meg úgy a búgást. Ha a búgás megszűnik, akkor a végerősítő előtti fokozatban kell tovább kereseni a hibát. A hozzászólás módosítva: Jún 16, 2024
Valóban, azt valahogy elfelejtettem, hogy ebben még az egyenirányítónak is be kéne melegednie..
(Eddig csak pár kései VT csövesrádióval volt dolgom, de ott már szelénkocka az egyenirányító..)Mindenesetre köszönöm mindenkinek a tippeket, jelenleg nem tudok mérni a készüléken (200 km-re vagyok tőle), de a nyáron elvileg hozzájutok, akkor már lesz mivel mérnem is benne.
Az AZ41 egy direkt fűtésű egyenirányító, néhány másodperc (jellemzően kevesebb, mint 5s) alatt üzemképes, a bekapcsolás után 2s-al már van valamekkora anódfeszültség a csöveken.
Aha.. és akkor a második-harmadik indítási kísérletkor meg már eleve nem volt hideg. Én olyasmit képzeltem el, mint egy ECL végfoknál, 8-10 mp bemelegedési időt.
Na mindenesetre majd a nyár közepe táján talán elkezdődik valami az ügyben - egyelőre utánanézegettem, ha nem is extrém ritka és keresett darab, de mindenképp még a "régi iskola" szerint épült rádióról van szó, nem egy nyomtatott áramkörös, Isostat kapcsolósoros "tömegtermékről", mint már a 60-as évek végefelé. A hozzászólás módosítva: Jún 18, 2024
Nos, felkerült a rádió (Orion 420A) hozzám. Első belenézésre - ma már ennyire futotta csak -, gyakorlatlan szemmel ugyan, de hiánytalannak tűnik. Viszont több olyan rész is feltűnt, ami talán csak az én, ilyesmiben járatlan 30 éves szememmel, de gyanúsnak tűnik - aztán lehet, hogy a kor technológiájával ez így volt normális. (Az eddigi legrégibb készülék, ami járt nálam, 1967-68 tájékáról származik. Ez meg bő 10 évvel idősebb..)
Csatolok pár képet: - Szóval az összkép épnek néz ki (nem rozsdás, nem egérrágta, persze porosnak poros), de.. - A hálózati trafónál az ennyire lazán álló szigetelési rétegek normálisak így? Vagy ez már beázás miatti megduzzadás eredménye lenne, esetleg így öregszik a korabeli szigetelőpapír? Biztonságos így bármihez, pl. a fémvázhoz nyúlni a gépben majd feszültség alatt, vagy romolhat jelentősen a szigetelési ellenállás a hálózat felé? - Az antenna bemenet környékén az a sárgás tömb alkatrész jól gondolom, hogy nagyfesz. kondenzátor lehetett fénykorában, de mindenképp cserélendő már ránézésre is? - A csövek oldalán a nagy felületű fémes kiválás utal arra, hogy a rádióban sok az üzemóra, jó működéséhez majd csőkészletet is kell(het) cserélni, vagy ez is a korszak jellemzője volt még? - A trafós képen talán jobban látható pár kondi (?) kivezetése körül is gyanús, "megrohadtnak" tűnő a felület, ezek lennének esetleg az itt korábban sokat emlegetett kátránydugós kondenzátorok, amiket illik méregetés nélkül cserélni biztonsági szempontokból? Ill. ezek már nem a képekre vonatkoznak, hanem inkább típusismerettel lehet rájuk mondani valamit: - Olvastam olyat is, hogy ezeket a "rimlock"-nak is hívott csöveket könnyű eltörni, ha nem jól próbálod kivenni a foglalatból. Mi a jó módszer, amihez képest van a "nem jól"? Vagy mire kell kifejezetten vigyázni velük?- És végül, 60-as/70-es évek nyomógombos készülékeihez szokva lehet csak nem jövök rá, de nem találom a hullámsávváltás lehetőségét a rádión, pedig elvileg 4 sáv is van rajta. Amire rájöttem, hogy a két oldalsó gomb (más kezelőszervet nem is találtam) egyike a bekapcsoló + hangerő, a másik meg a hangoló tárcsa. Az is megvan már, hogy mindkettőt ki lehet húzni. (Még így sem tiszta, hogy hol a 4 sáv választási lehetősége, mert mindkét gombnak csak két arretált pozíciója van, nincs köztes állás érzésre.) Ám de: a hangerő poti tengelyét kihúzva semmi nem változik érzetre, a hangológomb viszont elakad kihúzott állapotban, nem tekerhető tovább. Ez így normális, vagy ez mechanikus problémára (is) utal? Bocsánat a sok kérdésért, első ilyen korú készülék nálam, de legalább rögtön családi örökség is (bár én soha nem láttam még működésben), nem szeretnék kárt tenni benne
Szia,
- a hálózati trafó "ilyen", esetleg méréssel tudnád megállapítani, hogy megfelelő-e a szigetelési ellenállása, átvezet-e valamerre. Ha jelen állapotában működőképes, akkor jó, nem nagyon tudsz vele úgysem csinálni semmit, hacsak szét nem szeded és a vasmagot felhasználva, új huzallal, szigeteléssel újra tekercseled. - Az antenna bemeneti kondenzátor nem annyira érdekes, viszont a hálózati kapcsoló utáni 4,7 nF az már nagyon is. - A csövek oldalán a nagy felületű fémes kiválás természetes, emiatt nem kell cserélni. - A kátránydugós kondenzátorok cseréjének szükségessége mérésük után indokolt (korábban leírt glimmes módszerrel), de megfontolandó, hogy azért már nem mai darabok, nem lehet tudni, hogy ha a méréskor jók is, meddig bírják. (A korhúség érdekében javasolt a régi házba bújtatni az új alkatrészt.) - Rimlock csőnél alul a paláston van egy üveg bütyök, ez pozícionálja a csövet a foglalatba, csak egy pozícióban tudod bedugni. Kihúzáskor a szokásos elővigyázatossággal kell eljárni, felfele húzod, a tetején levő kis üvegcsúcsra vigyázol, ha nagyon nem mozdul, egy kicsit lehet jobbra-balra körkörösen billenteni és közben húzni felfele. Be dugásnál megkeresni az oldalsó üvegpöcök helyét a foglalatban és ebben a pozícióban betolni. - A bal oldali gombbal működtethető a bekapcsoló-hangerőszabályzó/hangszín, a jobb oldali gomb pedig két külön funkcióval rendelkezik: a hangolás és a sávkapcsoló. Ennek a gombnak két különálló axiális pozíciója van: betolva és kihúzva; az első esetben elforgatva hajtja a forgókondit, skálamutatót, a második esetben elforgatja a hullámsáv kapcsolót egy "fogaskerék" által. A hullámsáv váltója alulról látható, egy kerek egység. Lehet, hogy csak "erősebben" kellene forgatni, de az is lehet, hogy van valami mechanikai szorulás. A hozzászólás módosítva: Aug 25, 2024
Janó bácsi, nagyon hiányzol.
![]() Idézet: „Nos, felkerült a rádió (Orion 420A) hozzám. Első belenézésre - ma már ennyire futotta csak -, gyakorlatlan szemmel ugyan, de hiánytalannak tűnik.” Minden megvan benne ami kell, tökéletes alap a restauráláshoz. A hangszóró tutira nem eredeti, de ez legyen a legnagyobb gond. Idézet: „A hálózati trafónál az ennyire lazán álló szigetelési rétegek normálisak így?” Gyárilag nem ilyen volt. Kevesen tekernek már csévetest nélkül trafót. Ezzel is megszólalhat, de napi használatra így biztosan nem hagynám. Idézet: „Az antenna bemenet környékén az a sárgás tömb alkatrész jól gondolom, hogy nagyfesz. kondenzátor lehetett fénykorában, de mindenképp cserélendő már ránézésre is?” Bolond ember cserél ész nélkül minden kondenzátort. Mellesleg itt a rajza. Igazán egy van amit rögtön vizsgálni kellene, az a 10 nF az EL41 rácsában. Idézet: „A csövek oldalán a nagy felületű fémes kiválás utal arra, hogy a rádióban sok az üzemóra, jó működéséhez majd csőkészletet is kell(het) cserélni, vagy ez is a korszak jellemzője volt még?” Nem, akkor van baj, ha nem fényes. Ha a széle fehéredik, vagy teljesen fehér, akkor az működésképtelen. Getternek hívják, és ez nyeli el a bennmaradt gázokat. Akkor sem kell kidobni, mert másnak ilyen nincsen, és soha többet nem fognak gyártani már. Annyi és olyan van, amit a fióban fellelnek. Idézet: „A trafós képen talán jobban látható pár kondi (?) kivezetése körül is gyanús, "megrohadtnak" tűnő a felület, ezek lennének esetleg az itt korábban sokat emlegetett kátránydugós kondenzátorok, amiket illik méregetés nélkül cserélni biztonsági szempontokból?” Lásd fentebb. Idézet: „Olvastam olyat is, hogy ezeket a "rimlock"-nak is hívott csöveket könnyű eltörni, ha nem jól próbálod kivenni a foglalatból. Mi a jó módszer, amihez képest van a "nem jól"? Vagy mire kell kifejezetten vigyázni velük?” Rimlock csöveknek oldalt is van "csöcse", nagyon erőszakosan azt is le lehet törni (lásd melléklet). Igazán pozicionálásra van, hogy másként ne lehessen bedugni. Kihúzni csak ésszel... Idézet: „És végül, 60-as/70-es évek nyomógombos készülékeihez szokva lehet csak nem jövök rá, de nem találom a hullámsávváltás lehetőségét a rádión, pedig elvileg 4 sáv is van rajta. Amire rájöttem, hogy a két oldalsó gomb (más kezelőszervet nem is találtam) egyike a bekapcsoló + hangerő, a másik meg a hangoló tárcsa. Az is megvan már, hogy mindkettőt ki lehet húzni. (Még így sem tiszta, hogy hol a 4 sáv választási lehetősége, mert mindkét gombnak csak két arretált pozíciója van, nincs köztes állás érzésre.) Ám de: a hangerő poti tengelyét kihúzva semmi nem változik érzetre, a hangológomb viszont elakad kihúzott állapotban, nem tekerhető tovább. Ez így normális, vagy ez mechanikus problémára (is) utal?” Jobb oldalán van a sávváltó gomb. Amúgy nem kell húzogatni semmit, ha szétszeded megtisztítani (amit úgyis kell), rá fogsz jönni. Idézet: „Bocsánat a sok kérdésért, első ilyen korú készülék nálam, de legalább rögtön családi örökség is (bár én soha nem láttam még működésben), nem szeretnék kárt tenni benne.” Sok sikert. Ha engem kérdezel, akkor minél kevesebb átalakítással tedd működőképessé, és sok örömöd legyen benne. ![]() Én PU bemenetről próbálnám elsőként, telefonnal/MP3 lejátszóval. Ha megszólal, már az is nagy örülés.
Gabtronic mester
megelőzött, kettőnk válaszából szedd össze a közös pontokat, azok mindegyike megfontolandó.A feszültségváltó (kihúz/teker/visszadug) kötelezően maximális 240 V (legnagyobb ellenállású) fokoztba állítandó. Hullámváltóval kapcsolatban lehet nem nekem van igazam, de ha kidobozolod (nem lehet megúszni), akkor úgyis kiderül. Alapelv: Amit nem kell, azt nem piszkáljuk.
Kiegészítésnek még annyit, hogy a rimlock foglalatán, csőkivétel előtt a körcikk alakú rugót forgasd úgy, hogy a cső kitüremkedése irányába legyen a kivágás rajta. Ezzel oldod a "zárat". Visszatétel után újra el lehet forgani záró irányba, így magától sose fog kiesni a foglalatból a cső.
A hozzászólás módosítva: Aug 25, 2024
Akkor lehet, hogy ezt olvastam valahol, hogy ha erőltetni kell, akkor nem jól csinálom és ne csináljam úgy, mert törés lesz a vége.
![]() Egyébként köszönöm az összes tippet, ahogy időm engedi, haladok vele tovább. A sávváltással kapcsolatban is igazatok volt: csak nem mertem elég erővel továbbtekerni a kihúzott állapotban, de átugrik utána a következő rögzített pozícióba, nem törik semmi az elsőre erősnek tűnő ellenállás ellenére sem Azt mondjuk még nem igazán látom, mi jelzi vissza, hogy milyen sávon jár éppen. De lehet majd magamtól rájövök, vagy az a megoldás, hogy ilyesmivel akkoriban nem foglalkoztak..
Még némi folytatás a kondicsere témához. A "ne cserélgess ész nélkül" elvet magam is vallom alapvetően - a nálam gyakran járó félvezetős, max. 40-50 éves gépek esetében (és innen is leszámítva pár ismerten problémás típust, pl. elpukkanásra hajlamos Rifa hálózati zavarszűrők).
Itt azért merül fel inkább bennem, amit Gabtronic is leírt: ha most épp jónak is bizonyul, mi van, ha fél évvel később épp kedvem támad bekapcsolni, és akkor borít füstbe mindent? (Nem biztos, hogy ez jellemző, de mégiscsak 70 éves alkatrész, a maitól egész eltérő anyagokból gyártva.) Persze nem úgy képzelem el, hogy telerakom 21. századi alkatrészekkel (látható helyen) az egész sasszit - illetve az élesztés idejére de, aztán majd jöhet, hogy mindez kb. korhűen is nézzen ki - magam is olvastam régebben Janó bácsi beszámolóit, amiből lehet bőven ötletet meríteni a "hogyan újítsunk fel kondenzátort" témára. Átalakítani eszemben sincs - tervben van inkább egy pici KH. adó (transmitter) építése is, arról majd lehet korabeli zenét hallgatni rajta egyéb forrásból is. A hozzászólás módosítva: Aug 25, 2024
Idézet: „Azt mondjuk még nem igazán látom, mi jelzi vissza, hogy milyen sávon jár éppen.” A linkelt rajz ezen részén (is) elgondolkodnék.
Igen, akkor látszik, hogy az elektronikai részébe még nem mélyedtem bele.
Jóval később jellemző volt ugye LED-ekkel visszajelezni mindent. Azt valahogy nem feltételeztem, hogy itt izzókkal megoldották ugyanezt - mindenképp mechanikus jelzést kerestem -, pedig ugye elvi akadálya semmi sincsen A hozzászólás módosítva: Aug 25, 2024
Gyerekkoromban volt a bátyámnak ilyen rádiója. Emlékeim szerint a skála bal szélén kivilágította a kapcsolt sáv skáláját. (Talán nyíl formában.)
A hozzászólás módosítva: Aug 25, 2024
Idézet: „Azt mondjuk még nem igazán látom, mi jelzi vissza, hogy milyen sávon jár éppen.”
Én a bal oldalra emlékeztem, igaz közel ötven évvel ezelőtt láttam.
Szerintem a kettő között az a különbség, hogy a környezet világos vagy sötét... -> Tehát 50 évvel ezelőtt még sötétségben éltél...
Szerintem meg erre gondolt:
Idézet: „Emlékeim szerint a skála bal szélén kivilágította a kapcsolt sáv skáláját. (Talán nyíl formában.)”
Ja... Én félreolvastam, és a "baloldalra" helyett a "bal oldalira"-t olvastam... Pedig szemüveg is volt rajtam...
Kifejezetten hangulatos egyébként. Szerintem, ahogy fentebb javasolta is valaki, majd a tápkör és a csöves végfok élesztésével fogom kezdeni a projektet (a portalanítást követően). Ez remélhetőleg a jövő hónapban már meg tud történni, majd beszámolok az eredményről.
Szia!
Sok sikert a felújításhoz, nagyon szép állapotban van! Ha már portalanítás akkor egy jótanács, a skálaüveggel nagyon vigyázz mert a korabeli típusoknál a feliratok már egy apró fújástól is lejöttek, szerencsétlenebb esetben már a kiszerelésnél is elmozdulhatnak, lepotyoghatnak a betűk. Hidd el nem túlzás, ecsettel, törléssel ne is próbálkozz mert tiszta üveglap lesz a végeredmény. A legtöbb amit tehetsz hogy óvatosan a feliratok környezetét megtörlöd valamivel (pl. fülpucoló, vegyszeres dolgok kizárva!) de én még azt sem feltétlenül tenném, ha lehet inkább hagyd, nem tűnik nagyon porosnak. Szóval csak óvatosan, kár lenne érte! A hozzászólás módosítva: Aug 28, 2024
Igen, erről a jelenségről hallottam, úgyhogy azt nem tervezem piszkálni. Inkább az elektronikát akarom kompresszorral kifújni, hogy utána már ne hulljon a por és pókháló a műhelysarokban. Legalábbis úgy tippelem, pl. a tekercs kivezetések épsége szempontjából ez a biztonságosabb, mint ecsettel porolni..
A skála üveget nem szoktátok szkennelni az utókor számára? Én kettőt tudtam cak ide tenni.
Sajnos ami olyan volt hogy ki kellett szerelnem azt már nem volt érdemes, egyszer nagyon megjártam, azóta inkább nem kísérletezek ha nem muszáj. Szerencsére a 60-as évek környékén már (Pl. AR 612 Pacsirta) jobbak voltak az üvegek. Még régebben valaki árult pár típushoz utángyártottat, Orion 239a hoz még sikerült szereznem.
Sziasztok!
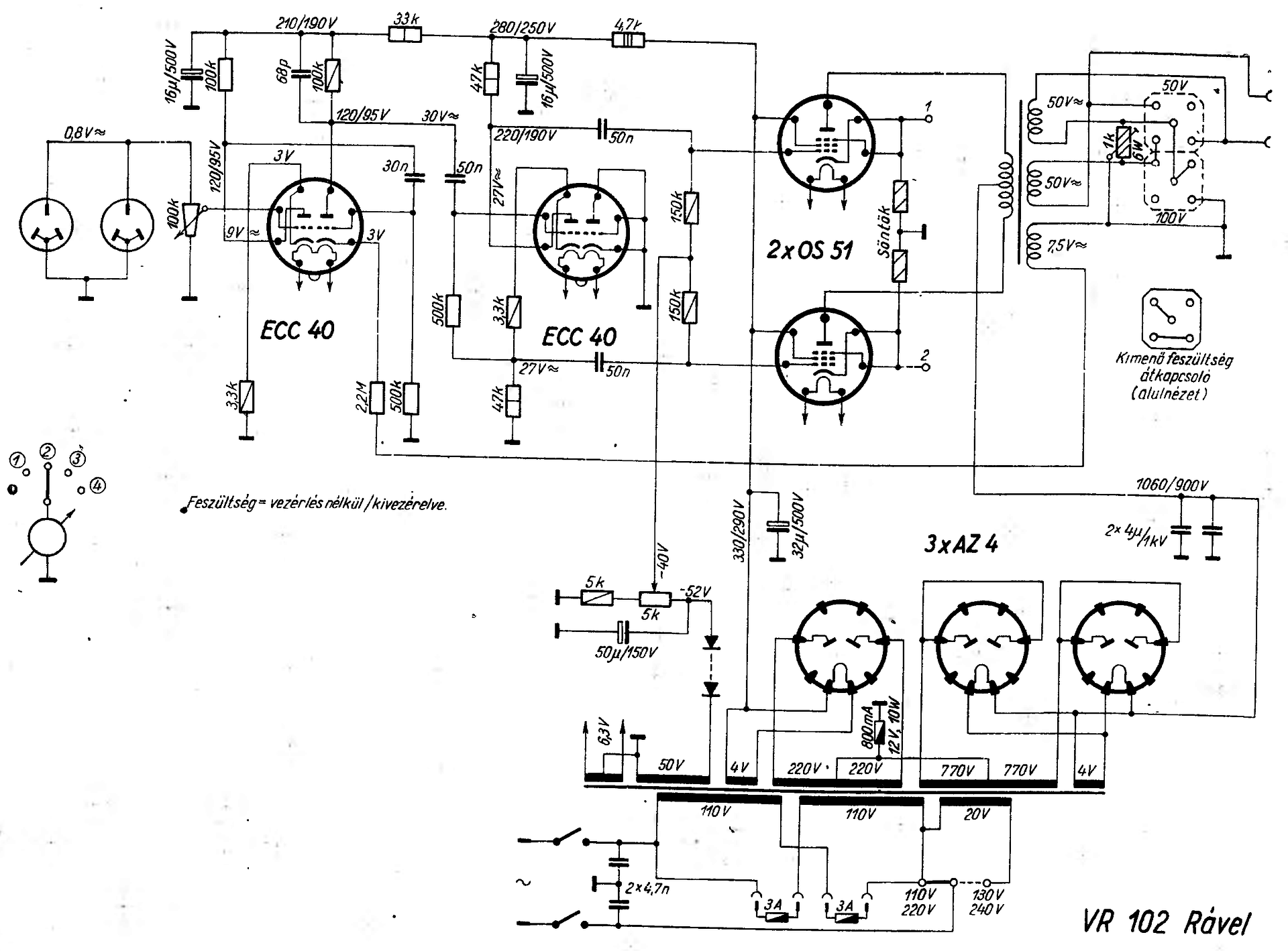
Van nekem egy Rável VR102 erősítőm. Meg fogom nézni a Kádár Géza könyvben hogy mit írnak róla, de szerintem ha az emlékeim nem csalnak akkor nem sok beállítási adat van róla. Az lenne a kérdésem, hogy nem tudja-e valaki hogy a végcsöveknek hány milliamper volt a nyugalmi beállított munkaponti árama?
Az 1958/59-es könyvben van, a 290. oldalon szerepel, és csak feszültségek vannak megadva (vezérlés nélkül / kivezérelve), áramok nincsenek. A katódköri ellenállásokról csak annyi van, hogy "söntök", érték nélkül.
Szia!
Kapcsolás, tápfeszültség és a végcső típusa, eléggé meghatározza a beállítandó nyugalmi áramot. Ezek ismeretében be tudod állítani a megfelelő értéket.
Ellenütemű végfok, végcső: 2x OS51
Anódfesz: 1060 (900) V, rács: -40 V, segédrács: 330 (290) V
Adatlap alapján 45W anóddisszipáció, 900V anódfeszültséghez kb max. 40-45mA.
PP végfokhoz szerintem megfelelő lehet, 25-30mA , sönt ellenállásokon pontosan mérhető a cső anódárama + segédrácsáram. Hanggenerátor és szkóp sokat segíthet a beállításában. Jó beállítás esetén, kissé túlvezérelve, műterhelésen jól látható szimmetrikus vágás. Nagyobb teljesítmény igény esetén, elegendő áram ami a keresztezési torzítást megszünteti. A hozzászólás módosítva: Szept 4, 2024
Mindenkinek köszönöm a választ. Nagyjából idáig én is eljutottam, csak kíváncsi lettem volna a gyári eredeti beállításokra, hátha valaki tudja.
Most 300 voltról megy a végfok, kb 8-10 ma nyugalmival. Igazából már annak örülök, hogy nem kötöttem el semmit. Annyira gyalázatos volt az eredeti warnishcsöves szigetelés mindenhol, hogy mindent újra kellett építeni, és még a dobozon lakatosmunka is volt. De egész szépen alakul. |
Bejelentkezés
Hirdetés |




(Eddig csak pár kései VT csövesrádióval volt dolgom, de ott már szelénkocka az egyenirányító..)







megelőzött, kettőnk válaszából szedd össze a közös pontokat, azok mindegyike megfontolandó.






