Fórum témák
» Több friss téma |
Akkor teszek bele egy sima kapcsolót, mert csak egy kábel bekötésével forog akkor is csak teljes ford.-on, a kapcsolója tegnap este meg teljesen leadta a szerelést... egyszercsak leállt, KH-s lett, és nem tudtam helyre rántani, aztán ráhagytam.
A dimmert meg azt sem tudom micsoda ![]() Szerk.: mégis találtam valamit... Tényleg ilyen egyszerű lenne? lehet nem az ami nekem kéne de "dimmer" kulcsszó, google képekben...
Üdv!
Két választásod van: Ahogy köbzoli írta, visszaállítod az eredeti kapcsolós megoldást, (tekercs leágazásokat kapcsol) Vagy építesz egy frekvenciaváltót. Jó drága megoldás, de csak ezzel a módszerrel lehet potival az egyfázisú asszinkron motor (merthogy ez van a ventillátorban, a 'kefés' motor túl zajos lenne) fordulatszámát szabályozni. Az egyfázisú asszinkron motor fordulatszáma a tápfesz frekvenciájától (szinkron fordulatszám) a pólus párok számától, és a slip től (csúszás) függ A fázishasításos módszer (dimmer) csak a motorra jutó átlagteljesítményt csökkenti, (a PWM is hasonlóképpen) ami csak "gyengíti" a motort, (lecsökken a nyomaték, megnő a slip) és ezzel együtt persze a szélterhelés miatt a fordulatszámot is csökkenti bizonyos mértékig, de ez nem korrekt megoldás, mert ha túl meggyengíted, megállhat a motor, és akkor jönnek a füstjelek
Te jó ég...
ennyit nem ér egy venti... Akkor inkább veszek másikat...
Sziasztok!
Egy régi mosógépből kibuherált motor fordulatszabályzását szeretném megoldani(sajna még nem láttam a mocit, csak tudom, hogy van fölösleges egy ismerősömnek) Tudtok valami kapcsolási rajzot adni, vagy valahogyan segíteni benne? Vagy várjam meg még kezemben lesz a motor? :miaz:
Szia!
Végigolvastam ezt a sok hozzászólást, hát a bonyolítás még itt is megy... PIC, meg a többi őrült ötlet, erősítő, kimenet feltranszformálás, Úristen! Itt az emberek már nem is tudnak elemi egyszerű eszközökben gondolkodni? Nekem is volt 4 évvel ezelőtt gondom a nyári meleggel éjszaka, és a 4000Ft-os piaci színeskapcsolós állóventillátor, nem csak hangos, és gyors volt legkisebb fokozaton is, hanem még melegedett is, nem keveset. Volt összedobva FÁZISHASÍTÓS /Véletlenül sem PWM-es, mert PWM egyenfeszültségen van, ha a váltófesz kitöltését szabályozzuk, triakkal, avagy tirisztorral , az FÁZISHASÍTÁS, és nem PWM!/ Szóval én ezt a cuccot flex fordulatszabályzásra használtam, gondoltam rákötöm erre... Viszont ez nem kefés motor, hanem aszinkron, és mit tapasztaltam, hát a FH ütemében gyönyörűen berregett, hangosabb volt, mint a venti, pedig a fordulat jó lett volna, hát nem jött be! Kicsit tovább gondolkoztam, és szerencsére nekem nem a PIC jut mindenről az eszembe /inkább a PI.. /, hanem elindulok a lényegtől.FESZÜLTSÉGCSÖKKENTÉS! No mi az amivel gazdaságosan feszültséget lehet csökkenteni,és csak 1db alkatrésszel, hát persze, hogy a TRANSZFORMÁTOR! Leszaladtam, és hoztam fel egy 230V/110V-osat, aggattam rá egy aljzatot /110V/, és egy dugót/230V/, és bedugtam... Maxi teljesítményen is csak negyede a fordulatszám a 230v-os üzemnek/merthát fele a feszkó!/ Legkisebbre kapcsolva éppen csak susog, és pont elég ennyire forgatni a levegőt, és még meg sem fáztam. Azóta is így használom. (már bocs a kirohanásért, de nekem még a hátamon is feláll a szőr, amikor diszkrét elemekből felépíthető áramkört a nagyonokosak egyből PIC-el akarnak megoldani... ) /2 ledes villogó PIC-el, nekem csak 2 tranya kell hozzá.../ Lényeg, ha a ventid berreg a fázishasításra, akkor marad a traffancs!
Szia!
Nekem egy 300wattos régi mosógép motornak kéne a fordulatszabályozását megoldani, de mindenképpen potival ,hogy állítani lehessen rendesen, ebben tudsz segíteni? Vagy az előző hozzászólásomban található kapcs.rajz jó egy 300wattos motorhoz is? Köszi előre is
Szia!
Az a kapcs rajz jó! Csak triak függvénye, hogy milyen teljesítményre tudod használni. Nekem 12A-es triak van benne, és a 2000W-os nagyflex-et nagyon jól szabályozza. A maximum fordulatszámot a diak feszültségének csökkentésével, a minimumot a soros poti értékével tudod módosítani. Azt tudnod kell, hogy csak kefés motorokon tökéletes, aszinkron, és szinkron motorokon nem biztos. Az enyémet rákötöttem a köszörűre, /aszinkron/ és nagyon lecsökkentette a nyomatékát, de szabályozta. Szinkron motorokat, mivel azok a meghajtó feszültség frekvenciájára "szinkronizálnak" rá, és ezért lesznek fix fordulatszámúak, így csak frekvenciaváltóval lehet szabályozni. A mosógépben nem tudom milyen a motor, de nem lehetetlen, hogy jó lesz, ugyanis az autómata mosógép, fázishasítással, de ugyancsak ford.szabályoz. A kapcs. rajzon trafó van, ahhoz is jó, pont arra a két kapocsra kell kötni a motort is.
Köszi szépen, majd megcsinálom ha nálam lesz a motor, és elmondom mi is történt, mégegyszer nagyon köszi a segítséget! :yes:
Sziasztok!
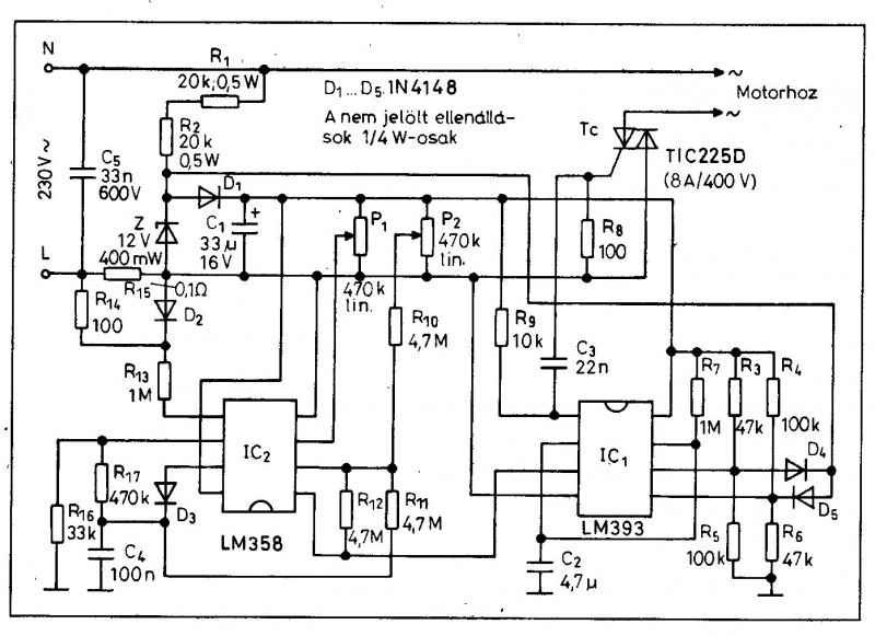
Nekem lenne egy 100W-os asszinkron mosógép motor, melynek a fordulatszámát kellene csökkentenem. De egy picit olvasgattam és rájöttem, hogy ez nem is olyan egyszerű, mivel asszinkron(nincs szénkeféje). Igaz, találtam 2 kapcsolást, amik elvileg jók asszinkron motorokhoz is, de nem vagyok benne biztos. Légyszíves nézzétek meg a mellékelt kapcsolásokat és mondjatok pár okos ötletet, hogy mivel tudnám szabályozni ezt a motort. Üdv: stefi
Szia!
Ezek már megint csak fázishasítók, ami ehhez a motorhoz nem igazán jó! Kérdés, hogy szabályozni, avagy csak csökkenteni akarod a fordulatszámát fixen? Mert a fix alacsonyabb fordulatszámhoz 100w-nál a trafót ajánlom!
Egy 3 kW-os 6 pól egyf. aszi. motorra kell
tennem egy tizedelő fordsz. szabzót. Mindenképp, mert drága volt a hozzá kapcsolódó kis vas SztRga is. Soha nem találtam még rá kapcsolást. Viszont 1kW/24 V/446A-eb bizt. trafóm van,átmeneti időkre. Hosszabb távon ez nem komoly megoldás,helyigény,súly, nagy fémdoboz végett.Aki birtokol ilyesmit, ha megosztja, megjutalmazom, tárgyjutalom lesz,faajándék!
Szia!
Mechanikus sebességváltó a legegyszerűbb. Egy autó bontott váltója erre jó megoldás.
Ha csak minden 10-ik peródust engedem át,
az, ugye, frekvenciaváltás. Motortekercsnyelőtől hallottam, hogy ez csak három fázis esetében lehetséges. Tehát új motor,új árambekötés,f-vltó ? Ez kb 250 EHUF minimum.De akkor 0-kb. 4000-ig bírja ez a motortípus.
Lehet kapni 1 fázisú motorhoz frekvenciaváltót. Mechanikus váltó esetleg?
Idézet: „Lehet kapni 1 fázisú motorhoz frekvenciaváltót.” Így igaz. Teljesítménytől függően ez szerintem kb. 20 000 HUF. Pl. Omron Idézet: „Ha csak minden 10-ik peródust engedem át, az, ugye, frekvenciaváltás.” Szerintem nem. Az "igazi" frekvenciaváltók bizony adott frekvenciájú ( és megfelelően csökkentett amplitudójú ) jelet adnak a kimenetükön. Idézet: „10szeres lassítás eléggé sok.” Úgy bizony. A motor nagyon hamar tönkre fog menni. Ahogy csökkented a frekvenciát/fordulatszámot, annál rosszabb a motor hatásfoka. Tehát a nyomatéka csökken, a rajta eldisszipált energia pedig nő. Ha a csökkenő frekivel csökkented az amplitudót ( ahogy a "nagyok" csinálják ) akkor sem szabad a motort mondjuk 20-25%-nál alacsonyabb névleges frekiről járatni. Ugyanis a hőfejlődés tönkreteszi. A profi frekiváltók tudnak olyat is, hogy mondjuk 10% vagy 5%. De ha itt üzemelteted a motort, akkor melegszik mint állat, viszont mivel a hűtőventije a tengelyére van szerelve az alacsony fordulatszám miatt a hűtése jóval rosszabb, mint a névleges üzemi fordulatszám esetében. Ha ezt a motort akarod használni, akkor szerintem is inkább mechanikus áttételt használj.
Üdv!
Az általad linkel rajz is végsősoron egy (kissé bonyolult) fázishasításos teljesítmény (áram) szabályzó. Eddíg azt magyaráztuk, hogy így korrekt módon nem lehet a ventillátor fordulatszámát szabályozni. (a fordulatszám csak a póluspárok számától és a frekvenciától (na meg a slip, csúszástól) függ. Persze működni fog, vésősoron, mert a fázishasítás révén csökkented az átfolyó áramot, akkor csökkented a motor nyomatékát is, és a terhelés hatására a fordulatszám is csökkenni fog (nő a slip). Azonban ez nem korrekt fordulatszám szabályzás, és ha a kelleténél jobban gyengíted a motort, és megáll, elindulni már biztosan nem fog, akkor lesznek füstjelek.
Igen,elolvastam a levelezést!
A konkrét esetben egy árnyékolt pólusú motorral kialakított ventilátorról van,amelynek a légszállítása túl sok és azt kell csökkenteni. Jobb megoldást nem találtam (olcsó és gyorsan elkészíthető legyen),ezért gondoltam a fázishasításos módszerre. A linken lévő kapcsolás nem szimpatikus,szerintem is bonyolult. Keresgéltem az U217B- vel kialakított kapcsolások között,de azok a kb. 50W-os terheléshez nem illeszkednek.
Szia!
Már egy pár helyen mutattam ezt a cikktöredéket. Remélem hasznos infók vannak benne a számodra is:Bővebben: Link
Induktív terhelésnél ne felejtsük el átblokkolni a triakot egy RC-taggal. (100nF,10 ohm, vagy hasonló kombináció).
Köszi a rajzokat!
Az egyszerűség mellett persze nem akarok a hálózatra zavart termelni. Most nézegetem a T2117 Atmel IC adatlapját. Szimpatikusnak tűnik,bár még vannak tisztázatlan részek. Pl. viszonylag kis terhelés esetén (50W) jól szabályoz-e?
Az RC-tag nem zavarszűrés miatt van beépítve, hanem a triak biztonságos kommutációját segíti induktív fogyasztónál.
Igen,tudom.
Null átmenet kapcsolóval szeretném megoldani,hogy minél kisebb legyen a hálózatra termelt zavar.
Egy profi cél IC-ről van szó (ATMEL). Szerintem nem fogsz csalódni benne.
legutóbbi érdeklődésem után most már tényle kapható
4 (!) kW-ig f-váltó,egy fázisra
igen, ezt kellett legyártani, erősített szerkezeti résszel, NC-vel mart furattal,
oldalt lappal merevitett L-lemezzel, közgyűrűs egysoros mélyhornyűvel...
Sziasztok!
Szeretnék tanácsot kérni, egy háztartási robotgép fordulatszám szabályozásához. Ez Kenwood típus és egy szerintem ötletes, de nekem ismeretlen elven oldották meg. Sajnos néhány alkatrészt nem tudtam beazonosítani, mert vagy ismeretlen, vagy elégett. Küldök egy "öszvér" ábrát. A rajzon a kapcsoló egy a motor tengelyére épített röpsúlyos megszakító. A motor kommutátoros, 450 W-os. A Triac (szerintem) jelölése I7904 71713 Kösz
Helló! Tudvalaki segíteni nekem,abban hogy van eggy Imi HZ 80c-4 380/220 1100W,1400.1/p villanymotorom ami eggy általam készített 1-hengeres krompresszoron van,azlenne a kérdésem: 220-ról müködtetem csak nemindul el magátol csak ha segítek neki szóval indítórelé nélkül meglehet ezt oldani? s hogyan?Jelenleg 2db 400-as állandó kondi van rajta.
|
Bejelentkezés
Hirdetés |





ennyit nem ér egy venti...
/, hanem elindulok a lényegtől.








