Fórum témák
» Több friss téma |
Fórum » Csöves erősítő készítése
Ne feledd betartani a fórum viselkedési szabályait, és a topik megmaradásának feltételeit. [link]
A téma átmenetileg fagyasztva lett, hozzászólni nem tudsz!
A szűrés inkább 100 Hz-es brummot okoz, a fojtótekercsek vezetékét hosszabbítsd meg annyira, hogy teljesen el tudd fordítani, már régeben is feltűnt, hogy azok a kimenők alatt vannak közvetlenül, megszórhatják a kimenőt. Az SRPP fűtése hova van kiközepelve, azt olyan +60-80 V-ra kellene (egy 2 mA-es ellenállásos osztó, az alsó tagon pár µF (10uF)szűrőkondival megfelel neki).
2-300 mV nagyon sok, az már valamelyik csövön, vagy csöveken erősített szerintem, nem nagyon hiszem, hogy ekkora brumm közvetlenül kerülne a kimenőre, de azért meg kell próbálni a fojtók elfordítását.
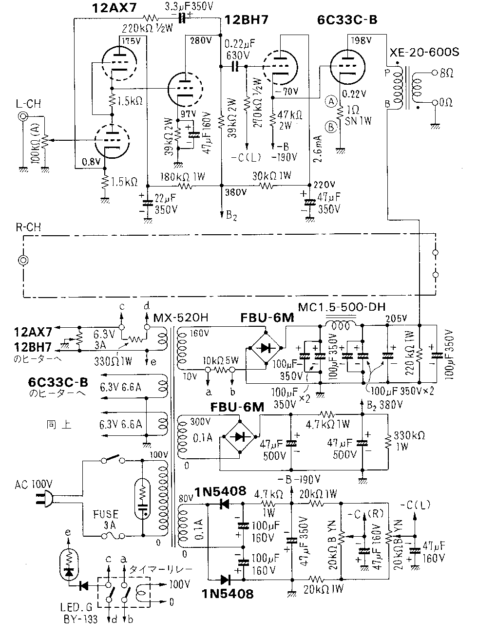
Szerintem a fesz kétszerezős táprésznek gyenge a szűrése (80 V-os tekercs, -190 V-ja)...
Nem tudom, de miért nem keresel zenekari erösitő kapcsolási rajzot pl. Fender Bassman 10-es egy -50wattos kimondott basgitár erősitő. Ha ez nem tetszik, keress másikat,és azt a RT-et felejtsd el.
Esetleg, ha érdekel, annyiban tudok segiteni, hogy van egy regent 30-as végfokom két el34-egy ecc83 + csőfoglatok, sasszé forrlécek hálózati és kimenő trafó ez (úgy tudom osztott tekerésú ha nem akkor akik jobban tudják majd megmonják) Ebből simán kilehet hozni, nem kell a tr afó tekeréssel bajlódni.
Egész véletlenül nem rég modoltam egy ilyen Böhm Regent 30-ast kifejezetten jól szól basszussal meg csak lestünk a komámmal, hogy uhh.. persze a 30 W kicsit kevés basszusra max próbálni, gyakorolni jó, esetleg kis klubokbam de nem zúzda metálra, hanem "finomabb" zenékhez. Ha ECL82 nem vevő rá, engem érdekelne a kimenőtrafója 12 Ohmra illeszt sajnos, de komálta a 8 ohmosat is az EL34 -ek elég toleránsak illesztés szempontjából. egyébként most 6L6GC van bennem, annak aztán tényleg alá illeszt de szól rendesen ( jobban, mint az El-ekkel )
nincs mit, örülök, hogy nem "kotlott" rajta a posta!
Szépek!
Méregetve , most vettem észre , hogy egyik primer induktivitása 2x 1,5H a másik 2x2H . Vasmag nélkül is mértem úgy egyformák voltak , ebből az következik , hogy az egyik vas jobb minőségű . Szét kell szednem és keverve ismét bevasalni .
Generátorral is mértem 60Khz felett kezd esni , de még 80KHzen is csak 3dB a szintesés , 1,2k illesztés mellett .
Vizuálisan valóban igényes kivitel, gondolom a minőségére sem lehet panasz. (Még az illesztés megfelelő dokumentálására is gondot fordítasz.)
Összeraktam én is a "letekeréssel" módosított kimenőket és a "feltekeréssel" módosított hálózati toroidokat. Tegnap a 6C33C SE másik oldalának deszkáját is összeraktam. A hétvégén huzalozom ezt tetródás meghajtásra, a másik marad triódásan, aztán majd meglátjuk (meghalljuk)...
Várom , hogy meghallgatás alapján melyik változat lesz a nyerő .
Elárulnád mekkora feszültséggel vizsgáltad generátorról?
Gondolom az üzeminél jelentősen alacsonyabb feszültségen (amire a generátor képes) légréses kimenőt (SE) nem tudok így vizsgálni...
Generátorból 8V eff. a primerre , sorosan kötött 1,2k ellenálláson keresztül , a szekunderen szkóp és 8 ohm terhelés .
Igen ez a mérés , nem jelent teljesítmény sávszélességet , de jól megmutatja a kimenő minőségét . Így mérve már 10Hz -től indul , ez az érték kevésbé fontos , mivel teljesítmény nincs . Te is kipróbálhatod ,( letekerés előtt és után láthattad volna a változást) .
NYÁK-rajzról leolvasott értékekkel összerakva a generátort nekem max. 4Veff lett a kivehető jel.
Így a középállásban bekattanó potival no meg a meglehetősen jól sikerült osztóval, 2Veff és 2mVeff jól használható értékekhez jutottam. (A 200mV és 20mV lehetőségeket még nem igazán használtam.)
Nekem 8 V beállítható , felette megnövekszik a torzítás .
Trimerrel növelheted még szerintem (+/- 15V táp mellett ) , figyelve a torzításra . RIAA méréseknél hasznos a mV -os szint . Kimenőt így is tesztelheted ..
Tekergetem a "Szputnyik fojtót". Már van rajta 990 menet, 0,20-as huzalból. Mennyit tekerjek még rá szerintetek? Olyan 1600-1800 körülire gondoltam és így 100 Ohm alatt van az ellenállása, a légrést megpróbálom minél vékonyabb papírral.
Köszi , sajnos szét kell szednem , ma már nem fogok hozzá .
Míg várok az asztalosra, hogy elkészüljön a doboz, összeállítottam az íróasztalon a GU 50 Se-t. Türelmetlen ember lévén, semmi méricskélés, próba élesben. Nagyon pici brümm a káosz ellenére. Szóval: nekem tetszik a hangja ! Megérte a gyötrelem a kimenőkkel + a toroidot is én tekertem kézzel. Egy valamit viszont nem értek. Olyan -70 , -80 V előfeszültség hatására áll be az anódáram 60 mA -re. Nem sok ez ? A GU triódának van kötve, anód feszültség 430V, GU fűtőfeszültsége 13,1 V ,230 V hálózati feszültségnél.
Azért kell akkora előfesz mert a segédrács is közel 430V-on van. Nálam amikor 250V-on volt a segédrács akkor 400V-ról (anódfesz) csak -25V körüli előfesz kellett, igaz 90mA volt az anódáram, tehát még kevesebb kellett volna 60 mA-hez.
Akkor minden rendben. Valahogy sejtettem, hogy a triódába kötés okozhatja, köszi szépen .
Üdv! Telitalálat,ennél a tápnál több voltnyi brumm látható.Na most mit csináljak? A nyák miatt elég kötöttek a lehetőségeim. Csak a kondi növelése elég lehet ? Mennyivel ha ezt lehet saccolni?
Meg kell nézni mindenféle képpen a tápot, hogy esetlen nem onnan jön-e a zavar. Ha az jó, akkor meglehet nézni még a vezetékek elrendezését is, mert ha a jelvezeték esetleg a fűtés vezetéke közelében megy, az is okozhat brummot.
Sziasztok!
Elveszett bárányként megkerültem... Tegnap megszületett "EcoHanni"! 3,86Kg-al, 52cm-el, és nem csöves!... Ha majd itthon lesz, és csendben kell lenni, mert alszik, biztos kijutok végre a 6AS7G OTL-hez...
Gratulálok a kislányodhoz!
Ő az első fórum bébi?
Köszönöm szépen!
Az elmúlt 1700 oldal alatt én sem emlékszem hasonló áldomásra... A srácok inkább a börzéről viszik haza a kincseket, nem a szülészetről...
Sturbi véleménye szerint a feszkétszerező táp szűrése kevés, ezt megnéztem, és valóban nagyon magas brumm látható itt. Ez messze van minden fűtés vezetéktől és trafótól. Csak azt nem tudom hogy a kondik növelése elég-e,mivel a nyák miatt másra nemigen van lehetőségem.
Nem semmi vagy te Zoli (persze pozitív értelemben), roppant igényes munka, mint minden amit csinálsz. Nagyon jó a CHZ emblémád is a közepén.
Igen hallgattam és brummos.Minden a rajz szerinti értékekkel van épitve.
Gratulálok a Babához !
Így kell majd a tápot ráadni. |
Bejelentkezés
Hirdetés |










