Fórum témák
» Több friss téma |
Fórum » Kapcsolóüzemű (PWM) végfok építése
Nem a késleltetés okozta problémáról, hanem a fokozatokról beszélek.
Az integrált komparátor IC is ugyanígy néz ki belülről, mint a diszkrétből épített, de tény, hogy sokkal gyorsabbakat tudnak csinálni. Annyi a gond velük, hogy ezek max 5-6 V tápról járnak.
Igen ezt én is láttam, hát erre majd kitalálok valamit...
Más: Felülvizsgáltam a MATLAB-os eredményemet, mert ugye ott késleltetés nélkül is elértem a -180fokos fázist. Na hát természetesen a legegyszerűbb résznél a fesz. osztónál néztem be a dolgot... Újraszámoltam az átviteli függvényét a visszacsatoló körnek most már remélhetőleg jól és rajzoltattam Bode-t MATLAB-bal. Most már kijött, hogy nem éri el a -180 fokot, és tisztán látszik az eredménye a késleltető hozzáadásának is. Egy probléma van. 3.85MHz-nél kellene oszcillálnia a dolognak ezen eredmény szerint, míg TINA tranziensszimulációban ez ~230kHz... Csatolok képet az átviteli függvényszámolásról, ahol felrajzoltam, hogy én mit gondolok visszacsatolásnak, tehát, hogy melyik hálózatnak számoltam átviteli függvényét. Meg MATLAB fázismenetet is.
Ideális komparátorral a tranziens szimulációban 430kHz-en pörög...
Hát én sajnos nem vagyok matematikus, már annak is örülök, hogy kicsit megértettem az UcD működését. A MATLAB-ot sem ismerem. A TINA szimuláción talán jobban el tudnék igazodni, de a TINA-t sem ismerem. Nem tudom mi miért ott oszcillál nálad, ahol. Ha már mindent értesz, akkor örülök, hogy annyit segíthettem amennyit tudtam. Ha valami gyakorlatiasabb kérdésed van, ahhoz még vagy hozzá tudok szólni, vagy nem.
Sajnos az a gond, hogy alapvetően én ezeken az egyenleteken keresztül szeretem megérteni a dolgokat, mert itt pontosan látom, hogy milyen paraméterekkel mi változik. Persze a te hozzáállásod is nagyban segített és valószínűleg nem is ment volna nélküle a megértés, ezt köszönöm szépen!
Leírom, hogy fentebb mit csináltam, ha érdekel, legalább én is tudok mondani neked valami újat... Ezt az áramkört jelen esetben frekvenciatartományban vizsgáltam. Ezért van 's' az egyenletekben. Az egyenleteket meg egyszerű fesz.osztóval írtam fel, ami a kimeneti és bemeneti feszültségek arányát, a frekvenciától (s-től) függő erősítést adja meg. Ugye minden frekvencián kapunk az Ube/Uki-re egy komplex számot, aminek az abszolút értéke lesz az erősítés adott frekvencián, míg a szöge a fázistolás. Ebből jön a Bode diagram, amit a MATLAB-bal ki lehet rajzoltatni, ha adsz neki egy átviteli függvény (ami jelen esetben az 's'-eket tartalmazó Ube/Uki arány), amit a képen '=Hfbn'-nel jelöltem. Ugye itt a kérdés az volt, hogy a visszacsatoló hálózat valóban az e amit alulra felrajzoltam, ahol dezaktivizáltam a forrást és bemenetnek a szűrő kimenetét, míg kimenetnek a komparátor bemenetét vettem. Mert, hogy ennek az átviteli függvénye Hfbn. Kérdésem egyébként azt hiszem csak egy maradt, ezt korábban is feltettem, de lehet, hogy átsiklottál felette, ha nem akkor meg csak azért teszem fel mégegyszer, hogy ha valaki erre jár hátha tudja majd rá a választ és megosztja velünk. ![]() Szóval több helyen is olvastam, hogy ha a visszacsatolásba több pólust teszünk (meg nyilván zérusokat is, hogy a fázist visszaállítsuk), akkor kisebb lesz a torzítása a rendszernek. Amit olvasok ezzel kapcsolatban leírást, ott konkrétan két pólus hozzáadásával 1! nagyságrenddel csökkenteni tudták a torzítást. És Bruno is említette többször, hogy ez valóban jó megoldás, csak stabilitási problémákat vet fel a dolog és ezért Ő úgy tudom 5-ödrendű rendszerrel dolgozik. Szóval a kérdésem az lenne, hogy miért javít a torzításon a pólusok hozzáadása? Mert az eredményről sok helyen beszámolnak csak a mögöttes tartalomról nem esik szó... :/ szerk.: Pontosabban azt írják, hogy a relatív körerősítést kell növelni, és ezt így lehet megtenni. Hát ezzel én kerültem előbbre ( A hozzászólás módosítva: Ápr 14, 2019
Ha már csak egy kérdésed maradt, akkor ebből most csináljunk hármat és ha a háromból megválaszolsz ötöt, nem marad csak harminc
![]() 1. Kezdjük a "mániámmal", a nullával és végtelenekkel, ami most van/nincs lesz. Első lépésben a visszacsatolókörben csak az arányos tag szerepeljen (első ábra). Ha nem nagy munka, szeretném ha bepötyögnéd a MATLAB-ba az átvitelt a visszacsatoló kondi nélkül. Ebben az esetben a vivő frekvenciáját csak a kimeneti szűrőkör fázismenete és a késleltetés fogja meghatározni és olyasminek kell kijönnie, hogy vivőfreki harmada, negyede lesz annak amit a múltkor mutatott. 2. Ha a kondenzátor áramát integráljuk, megkapjuk a kondenzátor feszültségét. A második ábra szerint, ha kihagyjuk a vcs. körből az arányos tagot, a komparátor bemenetén megjelenik a fojtó áramával arányos feszültség, mivel az egyik pólust "kiütöttük" egy zérussal. A komparátor bemenetén ilyenkor 50%-os modulációnál háromszögjelet kell látnunk, az (elméleti) 0/100%-os modulációnál fűrészjelet, ami azt bizonyítja, hogy elsőrendű szűrővel állunk szemben és a kimeneti feszültség 6dB/oktávval esik. 3. Ekkor kapjuk a harmadik ábrán látható integrátort, ami az egyetlen megmaradt kérdésedre adja meg a választ, hogy, hogyan függ a torzítás a nyílthurkú erősítéstől. Ha az erősítés a végtelenhez tart, az integrátor "közeledik" az ideális integrátor felé. 4. Sokat segít a kimeneti szűrőkör fázisviszonyainak megértésében, ha felrajzolod a szűrőkör vektorábráját (is).
Szia!
Szerintem nem jól íartad fel az átviteli függvényt, vagy nem értem. Uki/Ube, ok. Komparátor invertáló lába egy vitruális nulla. Uki van az: [R2x(1/sC+R1)]*(-i) Ube van az: [R3]*(i) ("i" majd kiesik az osztásnál) Az egyszerűsített hálózat rajza, hogy lett olyan amilyennre egyszerűsítetted? Idézet: „Ha már csak egy kérdésed maradt, akkor ebből most csináljunk hármat és ha a háromból megválaszolsz ötöt, nem marad csak harminc” Kérdések mindig lesznek, a kérdés az, hogy a pillanatban mi foglalkoztat... Idézet: „1. Kezdjük a "mániámmal"...” Megtettem, csatolt képen a kék görbe a kondi nélküli eset. Viszont két dologra felhívnám a figyelmet. Egyrészt MATLAB-bal plotoltam a késleltető fázismenetét és olyan eredményt kaptam ami szerintem nem jó (a jellege jó volt, csak éppen nem ott metszette a -180 fokot, ahol kellett volna neki). Másrészről ugye az eredmény csak akkor jó, ha a visszacsatolás átviteli függvényét jól írtam fel, ez esetben (a Te képed alapján) ez r1/(r1+r2). Mindenesetre kevesebbet kaptam ami ugye a várt eredmény volt. Idézet: „A második ábra szerint, ha kihagyjuk a vcs. körből az arányos tagot, a komparátor bemenetén megjelenik a fojtó áramával arányos feszültség, mivel az egyik pólust "kiütöttük" egy zérussal.” Mind a fenti, mind úgy az egész 2./3. pontodat igyekszem feldolgozni. Idézet: „4. Sokat segít a kimeneti szűrőkör fázisviszonyainak megértésében, ha felrajzolod a szűrőkör vektorábráját (is).” Ez alatt nem tudom mit értesz. Mármint azon kívül amit a Bode megad mit fog mutatni?
A komparátor invertáló lábánál ott van a visszacsatolt vivőmaradék. Bár ezen én is gondolkodtam már, hiszen elméletben annyi a különbség egy komparátor és egy műv. erősítő között, hogy a komparátor kimenete open-collectoros.
Az 'i'-k nem tudom micsodák, ha a komplex tartomány miatt írtad, akkor nem kell, hiszen az 's' miatt komplex-frekvenciatartományban vagyunk. Ugye én csak a visszacsatolásnak az átvitelére voltam kíváncsi (Hfbn = Hfeedback-network), ezért felrajzoltam alulra, hogy mit gondolok én visszacsatoló hálózatnak. Azért rajzoltam fel az egész hálózatot is, hogy lehessen ellenőrizni és hogy érthető legyen az, mikor azt mondom, hogy a visszacsatoló hálózat bemenetének az LC szűrő kimenetét vettem, míg a kimenetének a komparátor invertáló bemenetét.
3.85e+6 rad/sec az nem 600 kHz?
A hozzászólás módosítva: Ápr 15, 2019
Idézet: „Ez alatt nem tudom mit értesz. Mármint azon kívül amit a Bode megad mit fog mutatni?” 90%-os modulációnál szépen látszik, hogy az 50%-os moduláció nem esik egybe a kimeneti szinusz nullátmenetével. Ezt a Bode-n nem láthatod csak a vektorábrán. Csak elméleti jelentősége van, de hát... az összes többinek is amiről itt eddig beszéltünk.
A 2. pontomhoz:
a zöld a fojtó árama a sárga a bemeneti összegzőpont feszültsége ha a visszacsatolókörben benne van a differenciáló kondi, illetve csak arányos tagokkal...
Másrészről annyit még hozzátennék Karesz válaszához, hogy nem is kell tartani a késleltetéstől, mert így effektíve egy kétpont szabályzásod van, aminek a frekvenciája időben változik. De ez egyáltalán nem rossz dolog. Nyilván megvannak a hátrányai, de megfelelően megválasztott frekvencia mellett audió tartományban tökéletesen használható még ez a "legegyszerűbb" megvalósítás is.
edit: :O Mi fene, ezt vagy 20 hozzászólással előbbre szántam még... Pont a 214. oldal végére. A hozzászólás módosítva: Ápr 16, 2019
A dakota bölcsesség szerint a folyóhoz több út is vezet (bocs, ez csak úgy eszembe jutott). Nem szeretem az egyenleteket, mert ki kell találni őket és amit az ujjaimon nem tudok kiszámolni, azt inkább bepötyögöm a szimulátorba, mert ez az elhülyülés legegyszerűbb módja
![]() "Átültettem" a matematikai modellt analógba (első kép). Lehet, hogy Bruno is valahogy így hozta össze azt a fázis diagramot, csak nem kötötte az orrunkra, mert nem szokása. Ennek az "analóg modellnek" az első tagja a késleltetés. A késleltető művonalat minden további nélkül lehet helyettesíteni RC taggal, (vagy RC tagokkal, melyeknek a futási ideje összeadódik). A második tag egyértelmű, a terhelt kimeneti szűrő. A harmadik tag olyan, mint az egyenleted. A kimeneti szűrőt követi a visszacsatolókör frekvenciafüggő feszültség osztója, melynek kimenete a bemeneti összegzőpont - de ez nekünk most nem kell. A Bode-t érdemes addig nézegetni amíg meg nem érti az ember mit mutat. (Ez mindenkinek szól akiket ez a téma érdekel.) A felső "kék vonal" az RC tag amplitúdó és fázismenete. A késleltetése R*C=160ns, a -3dB-es pontja 1MHz. A "sárga vonal" a fáziskésleltetések összege, ami nagyfrekvencián itt -270 fok lesz. (Nyilván ehhez annyiszor -90 fok adódik (+1) ahány fokozatú az erősítő.) Ha a visszacsatolásban csak arányos tagok vannak (az ellenállás osztó) a gerjedés frekvenciája (a -180 fok) 292 kHz-en lesz. A "zöld vonal" a bemeneti összegzőpont feszültsége. (Ez most nem pontos, mert 11-el oszt, aktívan pedig csak 10-el, de nagyon jó közelítéssel (2-3%-on belül) hozza a valós értéket.) A differenciáló kondi a zárthurkú erősítés mértékétől függően "sietteti" a fázist. Ennek megfelelően a -180 fokos késleltetés a magasabb frekvenciák felé tolódik el (fel). A következő két "matmod" ábra bizonyítja, hogy az "analóg modell" jól működik. Legalább 40-50 különféle változatot leszimuláltam, különböző késleltetésekkel, terheléssel (jósági tényezővel), zárthurkú erősítéssel és különböző idő állandójú diff. tagokkal. A matmodon is mindig ott van az vivő frekvenciája ahol a Bode-n a -180 fok. Tehát ezzel a módszerrel nagyon egyszerűen, gyorsan és pontosan meghatározható az oszcillációs frekvencia.
Erről a két szimulációról írtam vagy 100 sort, de inkább töröltem. Aki nem ért valamit kérdezzen...
Sziasztok! Egy olyan kérdésem lenne, hogy számoljam ki a kimeneti LC filtert, 1 ohmra, és nem baj ha nem megy 20 khz ig, mert csak sub erősitőről van szó. Erről a végfokról lenne szó. Kimeneti fetek persze cserélve valami ...ényre. Tudom damping faktor elég kicsi lesz 1 ohmon, de most más jó relativát nem tudok. (Autós erősitő lesz).
Sajnos itt nem értem mire gondolsz. :/
Ezekkel meg az előző hsz-eddel is tök jól összefoglaltad köszi szépen. Jól értem, hogy a 42ns-es késés a kimeneti szűrő+visszacsatoló kondis kör összes késéséből jön?
Milyen okból fogva jelölted meg a tekercsre jutó feszeket? A problémám, hogy ettől függetlenül, továbbra sem világos, hogy a pólusok hozzáadásával miért kisebb a torzítás. Van egy DTU-s írás ami kb. csak erről szól. És ott van egy ábra (feltöltöttem róla egy képet), amin látszik, hogy pólus hozzáadásával nő az erősítés (egyébként már ez egy érdekes a dolog, mert pl passzív pólussal hogyan lehet erősítés növelni az magas). Aztán, hogy a pólusok okozta problémákat (fázismenetváltozás) megoldja, tesz be zérusokat. Na most amúgy is aktívan csinálja az egészet, tehát nem értem miért kell a pólus-zérus hozzáadás, és amúgy is, zérus hozzáadással már lehetne erősítést növelni, majd pólusokkal finomítani a fázismeneten, de akkor a kérdés, hogy miért a pólusokon van a hangsúly. Elmondom, hogy én miként képzelném el az egészet: Minél erősebb a visszacsatolás, nagyobb az erősítés, a kör annál inkább tudja követni a bemeneti jelet. Szóval, az erősítés növelésével csökken a THD --> pipa Na jó, de ugye ami fontos, hogy a számunkra fontos tartományban (20Hz-20kHz) között az amplitúdómenet a lehető legegyenesebb legyen, különben bizonyos összetevőket kiemelünk/elnyomunk. A fázismenetre is igaz ez, hiszen ha nem ugyanannyi a késeltetésük ezen tartományban a komponenseknek, akkor torzítják egymást, megint nő a THD. Erre a csatolt képen azt látom, hogy van egy kb. egyenes amplitúdómenet a hallott tartományon belül, még a fázis is megfelel a fent írtaknak, erre ezt módosítják a pólus/zérus hozzáadással és az egyetlen várt dolog, az erősítés növelése marad meg. Miért? Vagy többet ér az ennyivel, hogy nagyobb az erősítés, mint mondjuk, hogy arra figyeljünk, hogy a komponensek különböző fázisai okozta torzítást csökkentsük? ui.: Egyébként bocsi, hogy nem reagáltam már jó ideje, csak most sűrű volt az élet...
Ha mindent értenék, én lennék Bruno ll.
Az a baj, hogy "szakcikket" mindenki írhat, akkor is ha nem biztos, hogy jól átgondolta amit leírt. Ezt a diagramot ilyen átgondolatlannak látom, vagy csak nekem magas mit akar ábrázolni és mintha nem is UcD lenne. De ha kitennéd az egész cikket, lehet jobban érteném. Ugorjunk kicsit vissza az elejére. DC szintet adok a bemenetre. A terhelésen megjelenik a felerősített Uki egyenfeszültség (és a vivőmaradék). A fojtóra felváltva kapcsolgatja a félhíd a pozitív és a negatív tápfeszt. Ha a félhíd kimenete pozitív tápon van, a fojtón 3.5V feszültség van. Ha negatív tápon van, a fojtóra 35V feszültség jut. A két téglalap mutatja a két feszültség-idő területet. Nagyon fontos megjegyezned, hogy a két téglalap területének nagysága mindig azonos. U*i (1)=3.5V*2.3us = U*i (2)=35V*0.23us = 8.05 uWeber Ezzel a fojtó vasmagjára jutó fluxussűrűséget is kiszámolhatjuk, ha elosztjuk a vaskeresztmetszettel. B=Fí/A
Visszatérve a múltkor kitett szimulációra.
+UL feszültség van a fojtón (már jó ideje). A késleltetés a komparátor bemenetétől a félhíd kimenetéig 160 ns. "t1" időpillanatban (elméletileg) átbillen a komparátor, mivel a bemeneti fesz eléri a 0V-ot. A félhíd kimenete a késleltetés (160ns) elteltével billen át "t2" időpillanatban. A fojtóra ekkor a jóval nagyobb "-UL" feszültség kapcsolódik. Mivel a fojtó árama a fűrészjelhez közelít, "t2-t3" idő sokkal rövidebb lesz (42ns). Ekkor lesz a komparátor bemenetén ismét 0V. A félhíd átkapcsolásához ismét el kell telnie a késleltetési időnek, a 160ns-nek. Ha a fojtó árama felvenné az ideális fűrészjel alakot, akkor az átkapcsolás legrövidebb ideje (a legkeskenyebb impulzus szélessége) a késleltetés lenne. Ez azért fontos, mert legkeskenyebb impulzus feszültség-idő területe fogja meghatározni a legszélesebb impulzus hosszát. Ezekből pedig az következik, hogy a kettő összege lesz (az 50%-os modulációhoz képest) a vivőfrekvencia lassulása. (Remélem ez így érthető, nem tudom egyszerűbben megfogalmazni.) A hozzászólás módosítva: Ápr 26, 2019
Idézet: „Elmondom, hogy én miként képzelném el az egészet: Minél erősebb a visszacsatolás, nagyobb az erősítés, a kör annál inkább tudja követni a bemeneti jelet. Szóval, az erősítés növelésével csökken a THD --> pipa” A kérdéseidre nem is válaszoltam. Erre nem is tudok. Nyílthurkú erősítése szerintem az analóg erősítőknek van. Az UcD-nél nem látok változást a THD-ban ha változtatom a komparátor vagy a limiter erősítését. Itt azt látom, van egy komparálási szint és van egy késleltetés. Igaz, a komparátornak van nyílthurkú erősítése, de feltételezzük, hogy az elég nagy, tehát nem szól bele a THD-ba. Ha a szűrő kimenetén (a terhelésen) eléri a feszültség a visszacsatolókör által meghatározott feszültségszintet, a komparátor - majd a félhíd kimenete átbillen. De külön kell kezelni az alapjelet és külön a pwm jelet. (Most fáradt vagyok ehhez, majd legközelebb.)
Akkor nézzük meg a harmonikus torzítást.
A nyílthurkú erősítést 200 dB-re állítom, a zárthurkút 20dB-re, a limitert +/-20V-ra, a késleltetést 160ns-re, a bemenetre adok -1.8V DC-t (ez 90%-os moduláció). Az "analóg törvények" értelmében a kimeneten meg kellene jelennie 18V DC-nek, de nem ez történik, mert a kimeneten csak 17.53V van, azt is látjuk miért. A bemeneti összegzőponton a vivőmaradék középértéke úgy tolódik el, hogy a PWM jel fesz-idő területe állandó maradjon. Ha integráljuk a vivőmaradékot, -42.8mV-os DC szintet kapunk. Ezt megszorozzuk a tízszeres erősítéssel és az eredményt kivonjuk az elméleti 18V-os kimeneti szintből, akkor pontosan kijön a 17.53V-os kimeneti feszültség. Tovább számolgatva az ujjainkon, (18V/17.53V)*100=2.68% linearitáshiba (na jó... csaltam, mert nincs is ennyi ujjam). A nyílthurkú erősítést csökkentve 100, majd 80dB-re, nem változik számottevően az eredmény. 60dB-nél már leáll az oszcilláció. Tehát emiatt nem világos nekem amit Bruno ír a nyílthurkú erősítés és a torzítás összefüggéseiről.
(Újat kezdek, hogy ne keveredjenek a dolgok.)
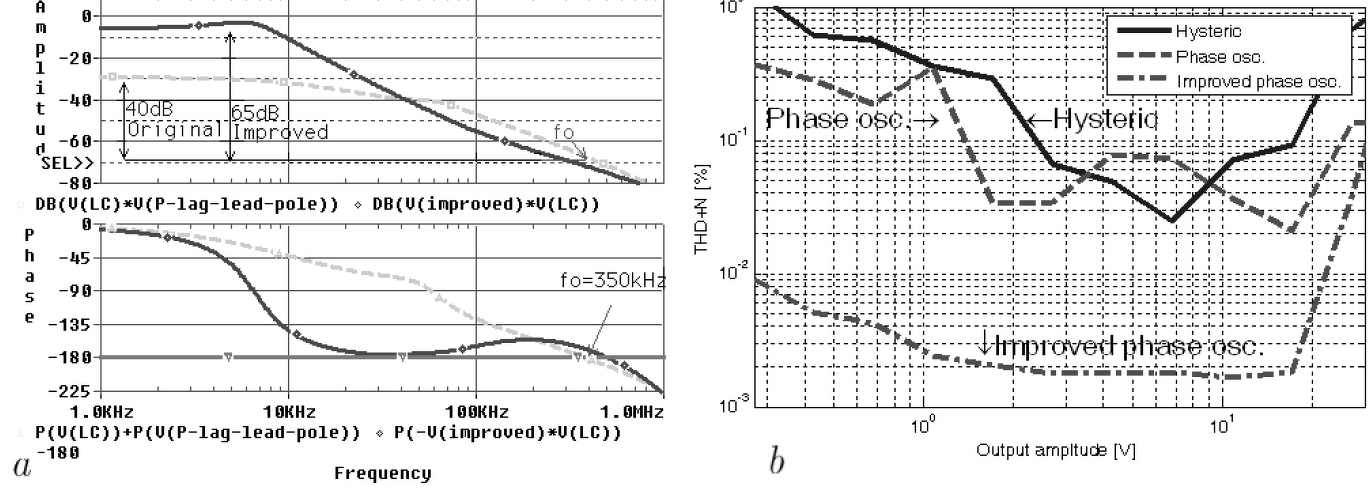
Megnézzük mit mutat THD-ra ugyanekkora szintű (3.6 Vpp) 5kHz-es szinusszal. 3. harmonikusra -54.7dB-t mutat a Fourier-sor, ami 2.3% THD. Ha jól sorba tudnám fejteni, biztosan az a 2.8%-hoz közeli érték jönne ki (megint csak szemre, sacc/kb). Mondjuk azt nem értem mitől vannak páros harmonikus összetevői is, hiszen a szinusz a kivezérlés növelésével arányosan négyszögesedik és a két félhullám elvileg szimmetrikus, a négyszögjelnek pedig csak páratlan harmonikus összetevői vannak. A 100. harmonikusig vizsgálva, lehetséges, hogy a vivőmaradékot látja úgy a szimulátor, hogy abban minden felharmonikus szerepel. A negyedik képen megint csak azt látjuk, amiről már eddig is beszéltünk, hogy a THD a vivőfrekvencia növelésével csökken. A kisebb amplitúdójú vivőmaradéknak kisebb a DC szintje is. A végtelen gyors vivőnek nulla a vivőmaradéka, tehát nulla a torzítása.
14. oldalon látható a dolog.
Köszi a tekercses gondolatmenetet, ha jól értem ez gyakorlatilag a fizikai magyarázata a szűrő kör okozta fázistolásnak.
Ugye Bruno és az általam is említett DTU-s cikk a loop gain emeléséről beszél, ami ebben az esetben nem a nyílt, hanem a zárthurkú erősítést jelenti. Szerintem.
Idézet: „A bemeneti összegzőponton a vivőmaradék középértéke úgy tolódik el, hogy a PWM jel fesz-idő területe állandó maradjon.” Ez miért is? szerk.: -1.8VDC pedig szerintem nem 90%-os moduláció, hiszen a 0VDC ebben az esetben az 50%. A hozzászólás módosítva: Ápr 29, 2019
Nem látok összefüggést a feszültség-idő terület és a fázistolás között, de attól még lehet összefüggés, hogy én nem látom...
Ezt a fesz-idő területet állítólag nem sokan értik, pedig egyszerű (ha már érti az ember). Mutatok még egy példát a szkóp fotón. Az első kép csak ahhoz kell, hogy megértsd mit mutat a szkóp. Trafós gate meghajtással játszottam és akkor sikerült lencsevégre kapnom ahogy telítésbe mennek a toroid magok. Szó szerint kell venni azt, hogy feszültség és azt, hogy idő. Volt szorozva szekundummal. Ahogy a szkópon látod. 2.9 V * 4 us. Ez egy terület. Egy téglalap területe. Ha a feszültséget, vagy az időt eléggé lecsökkented, a vízszintes szakasz eltűnik és "rendes" négyszögjel lesz belőle. Most a képen 22 us a periódusidő (45kHz). Ha frekvenciát növelem 125 kHz-re, a periódusidő 8 us lesz és itt már négyszögjelet fogunk látni. Ebbe a "vasba" ekkora fluxust lehet belesűríteni. Tovább nem mágneseződik. 2.9V*4us=11.6 V*us=11.6 uWb Ha a vasat felmágneseztük, azt le is kell mágnesezni. Bármennyi idő alatt lemágnesezhetem. Ha 1 us alatt akarom, akkor -11.6V-ot kell rákapcsolnom. Ha 15 us alatt akarom, akkor 773 mV-ot kell rákapcsolnom. Ha nem mágnesezem le, akkor feszültség indukálódik benne és villamos ív formájában lemágnesezi magát. Ha rövidre zárom, akkor a huzal ellenállásán hővé alakul a mágneses energia. Benne nem maradhat. Mindig lesz egy ugyanakkora területű "téglalapunk" amely idő alatt a fluxus le fog épülni. Idézet: „-1.8VDC pedig szerintem nem 90%-os moduláció, hiszen a 0VDC ebben az esetben az 50%” Azt írtam, hogy a bemenetre adok -1.8V-os egyenszintet. Ezt megszorzom a tízszeres erősítéssel, az 18V. A tápfesz +/-20V. Tehát a moduláció 90%. A vivőmaradék középértékét az előbb leírtam. A bemeneti összegzőponton van a hibajel, vagy másképpen az előtorzított jel. Ez úgy "áll be", hogy a kimeneten a fesz-idő terület állandó maradjon, Mert ez törvény. Másképp nem lehet. (Amit a THD-ról írtam az majdnem egy az egyben hülyeség, de valamelyest jó helyen kapisgáltam. Ezt a THD dolgot nem értem tisztán, még el kell vele molyolnunk egy jó ideig.) Most semmit sem értek... várom az Isteni szikrát |
Bejelentkezés
Hirdetés |
































