Fórum témák
» Több friss téma |
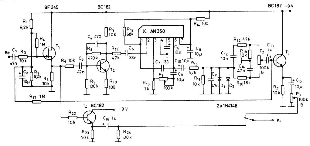
Megvan a kapcsolás. Hobbi Elektronika évkönyv 1992-es számában találod meg a leírással. Szerintem nem nagyon kell utánna előerősírő, mert a 0,6V az már elég nagy jelszint a végfok bemenetére.
hello!
honnan a retekből lehetne ilyen kapcsolót szerezni (Magyarországról vagy esetleg vmelyik szomszédos országból) ??
Ennek nagyobb a kimenő jele mert az utolsó tranyó erösít de egy csomó kapcsolásnál a diódák után már csak 1 poti van és a kimenet
Pl Miskolcon! Én 690Ft ért/db vettem kb 1 hónapja a Búza tér melletti alkatrészboltban (mindíg elfelejtem a nevét) igaz az csak 2 áramkörös...
True bypass + LED-hez kéne effektbe igaz? A geofexen(azazITT) láttam egy megoldást arról, hogy hogyan kapcsolgathatunk LED-et egy sima kétáramkörös kapcsolóval, úgy hogy megmarad a "trúbájpász" kapcsolástechnika is. De ha meg mindenképp kell a 3 áramkörös kapcsoló akkor én a www.tube-town.de oldalon láttam méregdrágán. (német bolt)
Ja amúgy: nemrég készítettem el egy csöves overdrive/előerősítőt, a neve "RealMcTube".
Nagyon szép hangja van! Nem bonyolult megépíteni, 1db ecc83(vagy ecc82, 81) jó hozzá, 120volt körüli anódfesz kell+ 12,6 v fűtőfeszültség. Szimpla dolog, egy volume poti és egy drive poti amivel túl lehet vezérelni a csövet Itt van a link, ni: !!! Az első fokozat után 68nF-os kondit tettem, nem 22nF értékűt, enniy össz váltaztatást csináltam. Az anódfeszt máshogy kell előállítani mert a lapból 120V-os hálózati feszültségre van tervezve a táp. én puskás trafóval oldottam meg. egy trafóval letranszformáltam 12 voltra és arról puskás trafóval 120ra,és meg is van a fűtő+anód feszültség. Nekem nagyon tetszik a hangja gondoltam megosztom veletek hátha kedvet kaptok hozzá!
mért nem teszed fel a ki mit épített topicba?? esetleg hangmintát is tehetnél róla
Sztem true bypass - táp kapcsolást akar egyébként a neve a kétáramkörösnek DPDT Footswitch a 3 körös 3PDT de abból lábkapcsolót a lomexnél pl nem láttam
Hát sajnos nem találtam meg a kapcs rajzott.
Van benne egy LM324N és egy NE5532P ic. És még mindig nem torzitt és a jel minimális. Így nézz ki.
Szeva! Azt hiszem, ez az a kapcsolási rajz, amiről a képet feltetted...
Hello!
Ne haragudj, valami miatt elfelejtettem eddig válaszolni ![]() ...Köszi a segítséget, megnéztem a progit(guitar FXbox), elszórakoztam vele énis egy darabig, viszont kezdek rájönni, hogy az akusztikus gitárból sosem lesz elektromos gitár
Helló!
Szerintem próbálgass, havan otthon: 1.)Piezó hagszóród; ez egy legtöbször kerek kristályhangszóró 2 kivezetéssel . Ezt ráragasztod celluxal a testre és kész is. Itt nemárt egy ellenállást sorbakötni, hogy csillapítson. A ragasztásnál is próbáld meg sok helyen, mert nem mindenhol ugyanolyan a gitártest hagzása.2.) Telefon halgatóbetét; ez nem vicc!! Kipróbáltam és műkszik, bár 5000Hz felett nem nagyon visz át, de a gityónak nem is kell annyi! Ezt is ragaszd rá a megfelelő helyre(nehezebb, mert nem lapos!) Én ezekkel próbálkoztam. Sima mikrofon is jó. Fontos az, hogy ha túl hangosra állítod az erősítőt, akkor az gerjedni fog!! Az ellenállásal tudod csillapítani(a hangerő persze csökken). Az biztos, hogy nem lesz elektromos hangja. Max akkor kezd közelíteni, ha veszel párezerért egy bármikor fel-le vehető pickup-ot. Magánvélemény: az akkusztikus gitárt hagyjuk akkusztikusan. Ha torzítani akarunk, akkor mindenképpen szükség lesz egy elektromos gityóra. Effectezni lehet, hangosítani is, de a torzítás az már durva egy akkusztikus gityónak(hangszernek) UI: Azért az Apocaliptica jól nyomja, nem??
"Egyszerű, de használható torzítót keresek..."
használj quad 405-öt. (hihihi) bocs de ezt nem hagyhattam ki.
Ha gitár pickup-ot teszel bele és lezárod a nyílást, hogy az üreg visszahatását a húrokra csökkentsd, közelíteni fog a hangja az elektromos gitárhoz (nyílván fémhúrok kellenek és a pickup-ot hozzá kell igazítani a húrokhoz, mint az elektromosnál).
Edgar!
Én is régóta gondolkozom a dr. strauss torzító építésén. légyszíves mondd meg nekem, hogy milyen tranzistorokat használtál, és melyik boss torzító volt, amit lenyomott simán (mert ugye a boss rengeteg torzítópedált gyárt!). A tipusok azért kellenének, mert tudomásom szerint az alkatrészek milyensége dönti el legtöbbször, hogy ugyanaz a kapcsolás kukatöltelék, vagy boss-okat lenyomó áramkört eredményez-e (magyarul elektronikai szempontból apróságokon múlik hogy jó lesz-e a hangja).
Szeva!! Szerinteb BC546 vagy BC413-as tranyókkal csináld, ezek nekem elég jól bejöttek. Régebben én is megcsináltam a strauss féle torzítót, de rosszul terveztem meg, ezért nem nagyon ment (nem tudok véleményt mondani a hangjáról)
Hello! Kösz a gyors választ! Egyébként mit lehet azon rosszul tervezni? Ezt most nem akadékoskodásból kérdezem, csak én nem akarom elkövetni azokat a hibákt, amiket Te (okos ember más kárán tanul
). És a diódák? mivel azok vágják a jelet, gondolom meghatározóan befolyásolják a torzító hangját. Vagy tévedek?
Számodra van egy egyszerű kapcsolásom. Hogy mennyire nagyszerű, azt neked kell eldöntened! A. J. Flind: Egyszerű áramkörök elektronikus hangszerekhez c. könyvében van, ha érdekel, megpróbálom lefényképezni a rajzot... nagyon egyszerű, 2 tranzisztoros. Az is lehet, hogy tervezek hozzá nyákot is, mert én is szeretném újra megépíteni!
Könnyű volt elrontani. Csináltam a protelben a kapcsolási rajzot, és pár drótot nem a megfelelő helyre húztam be, de amúgy elég átláthatatlan meg összevissza a strauss kapcsolási rajza...
Épp most javítottam ki a kapcsolásom hibáit, most meg a paneltervezéssel szórakozok... Ha már ennyi jót mondanak róla De ha van vkinek panelterve az szóljon!!!
Szevasztok!!! Elkészültem a strauss féle torzító nyákjának tervezésével! Aki meg szeretné építeni a nyáktervem alapján az nézze át, mert nem szeretném ha úgy járna mint én először. Ha hibát találtok benne azt jelezzétek! A panelt Protel '99-ben terveztem, de megy a 2004-essel is!
Hello!
Légyszíves tedd fel a panelrajzot valami "emberi" formátumban is (pl. jpg), amihez nem kell speciális program (én nem olyat használok, ami meg tudja nyitni az ilyen fájlokat). Előre is köszönöm a segítséget!
A protel sztem elég emberi... Jobb tervezővel még nem találkoztam. De mellékeltem JPG-ben is, remélem használható lesz, mert eléggé nehéz lesz rajta kiigazodni. A panel mérete: 58x40.5mm
Üdv!
Segítséget szeretnék kérni, mert megépítettem ezt a torzítót, de nem torzít A jel átmegy rajta, de torzítás nélkül. Az ellenállásokat mind átnéztem, a forrasztást is, azok mind jók, egyedül a két tranzisztort, meg a pár kondenzátort nem tudtam megnézni, de hát ha valamelyiknek baja lenne, a bemenő jel nem jutna el a kimenő jack aljzatig szerintem.. A diódák jók, a bekötés jó. Egy piezzoval hajtom meg, de ez se lehet baj, mert még a piezzo bemenő jelét erősíti is. Csak egy a baja.. Pont arra nem lehet használni amire kéne.. Torzításra.. Valaki tud valami ötlet adni, mi lehet a baj?
Szeva! Ezen a honlapon nem csak 1 torzító van... Azt megírhatnád esetleg hogy melyiket csináltad meg. Én is építettem már olyat, hogy a jel átmegy rajt, de nem torzít. Ennek több oka lehet: rossz tervezés (nincs minden a kapcs rajz alapján), tranzisztorok (lehet hogy halottak, vagy rosszul kötötted be, nem megfelelő típust használtál, esetleg NPN->PNP-t raktál). De először azt próbáld ki, hogy a bemenetre más hangforrást kötsz (számgép, discman), kimenetre pedig erősítőt.
Elnézést, figyelmetlen voltam
Egy forrasztás mégsem volt jó, egy helyen.. A kérdés tárgytalan, a torzító KIFOGÁSTALAN
Igaz, elfelejtettem, modnani, "Torzító" ilyen linken van alul, abból is a tranzisztoros. A potméter egyik lába nem volt rendesen forrasztva, javítottam a hibát, a választ azért köszönm
Naaa! Ha már jól működik, akkor esetleg mutathatnál róla fényképeket, mert kíváncsi vagyok, hogy mégis milyen. Esetleg valami hangmintának is örülnénk, sztem!
Csak mert elég egyszerű, lehet, hogy én is megépítem!
Magam eszkábált piezzós hangszedőből jön az adás a torzító, felé, szóval nem elektronyos gitár, de ha érdekel persze csinálok hangmintát
Képet is rakhatok, próbapanelen, van nem is tervezem nyákba építeni, ez az első kapcsolásom Egyáltalán nem egy profi munka
Megkevertem a két topicot
Hangmintáért gyere ide, kép is lesz nemsokára. Ide
ok
Már meghallgattam... hát egy picit nyers nekem, de amúgy ahhoz képest, hogy mennyi alkatrész, szerintem jól szól! Egyébként meg csak ajánlni tudom, EZT mert ezt a kapcsolást én is megépítettem, és ennek már brutál hangja volt, persze lehet kísérletezni különböző tranyókkal!!
Kösz a rajzot, megépítem amint lesz időm
. Amit most hallgattál, ez se a BC239C-vel csináltam, mert nem kaptam ilyet, hanem azthiszem a BC184C-vel. Azt adták. A Fuzzy Face, a kapcoslási rajzon a két potméter, lineáris vagy logaritmikus? Egy hangmintát felraksz? Csak hogy mire számítsak |
Bejelentkezés
Hirdetés |







...Köszi a segítséget, megnéztem a progit(guitar FXbox), elszórakoztam vele énis egy darabig, viszont kezdek rájönni, hogy az akusztikus gitárból sosem lesz elektromos gitár
. Ezt ráragasztod celluxal a testre és kész is. Itt nemárt egy ellenállást sorbakötni, hogy csillapítson. A ragasztásnál is próbáld meg sok helyen, mert nem mindenhol ugyanolyan a gitártest hagzása.
). És a diódák? mivel azok vágják a jelet, gondolom meghatározóan befolyásolják a torzító hangját. Vagy tévedek?





