Fórum témák
» Több friss téma |
Hi all!
Abban szeretném segítségeteket kérni, hogy: Volna 5-6 féle led (ez még változhat) és ezeket kellene egy nyomógombbal léptetni egymás után valamilyen egyszerű kapcsolás segítségével! Szerintem 4017-es IC-vel lehetne leghamarabb megoldani de ha hülyeséget mondok akkor nyugottan javítsatok ki! Segítségeteket előre is köszönöm! üdv.: Router
Addíg eljutottam hogy 4017-es IC-vel lenne érdemes próbálkozni de kellene hozzá valami egyszerű kapcsolás is!
Ez a rajz szerintem nem lesz jó.Én is próbáltam ,de pergett, azaz villogott a kimeneti mint állat.
Pergésmenetesítőt kell elé tenni.
Itt egy pergésmentesítő: [link=http://www.hobbielektronika.hu/cikkek/cikk.php?id=3&pg=4]http://www.hobbielektronika.hu/cikkek/cikk.php?id=3&pg=4[/link]
Ez egy nagyontuti pergésnemtesítö, csak egy plussz ic-t igényel. Ha nemkell enyire stabil kapcsolás, vagy csak "spórolni" akarsz! Egy, a nyomógombal párhuzamosankötött kondi is elég hatásos lehet. Ennek az értéke 10n - 220nF ig lehet. (Persze találkoztam már 1uFaradossal is.):yes:
Csak annál az a baj, hogy a kondi szép lasssan sül ki. És mivel nincs az IC bemenetén schmitt trigger így a csökkenő feszültség megint pergést eredményezhet. Nincs stabil logikai állapot...
De +old6ó 1 HALL elemes nyomogombbal is és akkor nincs szükség prellmentesítésre.
Meg lesz oldva a dolog! majd este tolok fel kapcsolási rajzot!
Nekünk ugyanilyen feladatunk volt a suliban PIC-el. Ha reszetet generálunk külső nyomógombal, akkor mindig egyel odébb lépjen a világitó led. Ha gondolod elküldhetek hozzá mindent, de az biztos, hogy van ennél egyszerűbb és olcsóbb megoldás is.
Na úgynézki nem volt jó a kapcsolás amit kaptam úgyhogy keresek tovább a célra megfelelő valamilyen egyszerű kapcsolást!
Hali!
Én készítettem csak neked egy léptetőt ![]() 4017-es az alapja, tutira működik!
Van pár dolog amit nem nagyon értek a képeden!
odaírtam minden mellé a kérdést! (mentsd le és úgy látszik!)
A Zener nem 1N4007, hanem 4,7V-os zénerdóda. A többit majd Norberto...
Igazán nincs mit! De mondom, majd a többit Norberto!
Hali!
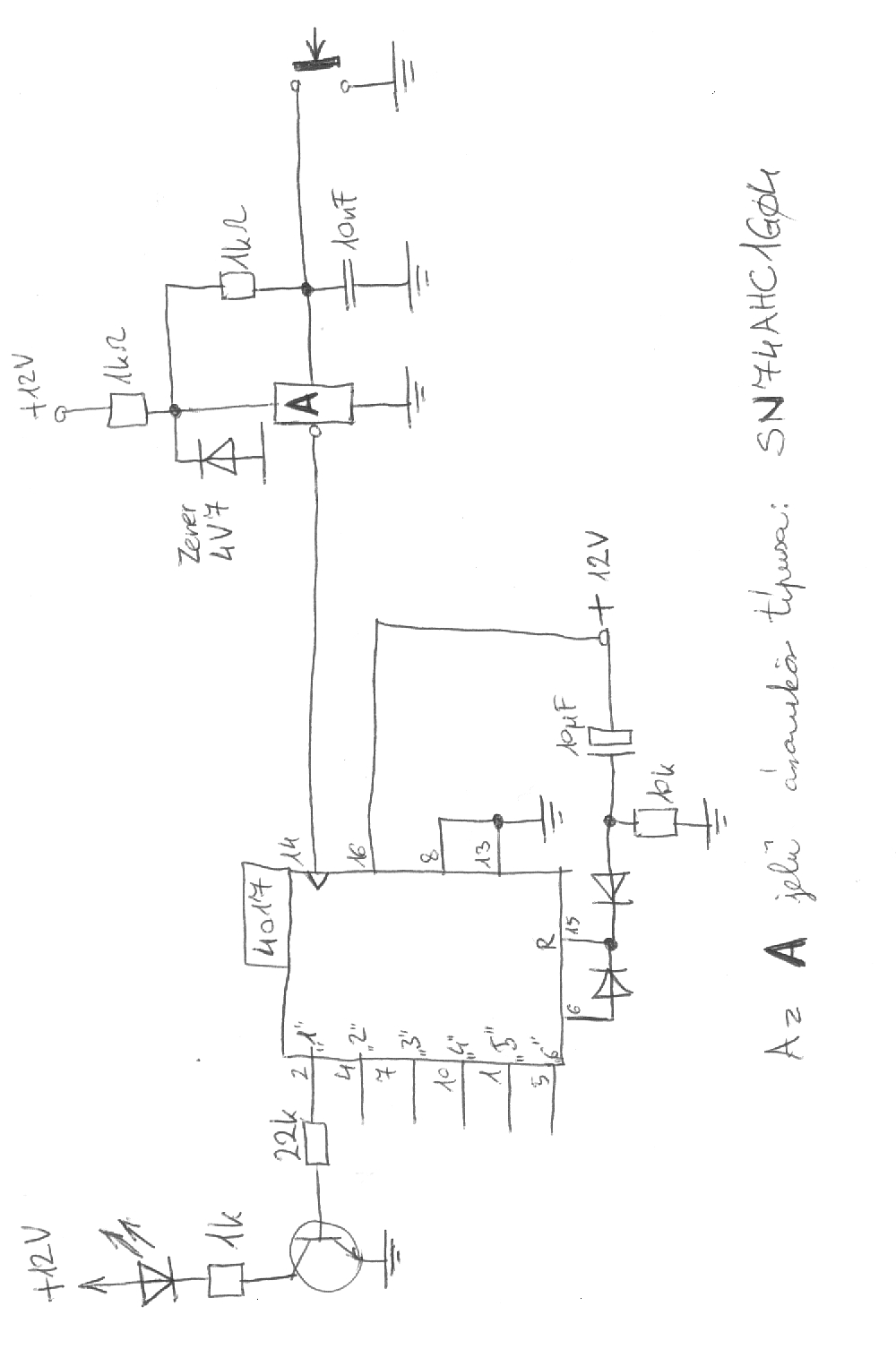
Igen, ahogy Frakye is mondta, a Zener az 4,7V-os feszültségű legyen. A 2 egymással szembefordított dióda az igazából bármilyen lehet, én 1N4148-at javasolnék (ugyanis az a világ talán legelterjedtebb és legolcsóbb diódája). A kimenetekre kötött tranyó bármilyen lehet, csak NPN legyen és bírja el a LED-ek áramát ![]() Az A betűvel jelölt alkatrésznél az adatlapját megtekintve, látni fogod, hogy értelemszerűen melyik láb mire való. A kis karika a kimenet, vele ellentétesen a bemenet; alul a föld, felül a tápfesz. És hogy alapesetben miért nem a 0-dik pozíciótól indul a léptetés? Mert így van egy olyan pozíció, amikor semmi sem világít, tehát a LED-ek nem fogyasztanak áramot. Tehát az áramkör bekapcsolásakor egyik LED se fog égni. Aztán egyszer megnyomod a kapcsolót, és máris világítani fog az első LED. És ha a sor végére ért a léptetés, és ezt követően nyomsz egy továbblépést, akkor ugyancsak egyik LED se fog világítani. Ez persze megszüntethető egyszerűen, ha pl. a 0-dik helyre is (azaz a 3-as lábra) egy LED-et raksz tranyóval... Idézet: „A kimenetekre kötött tranyó bármilyen lehet, csak NPN legyen és bírja el a LED-ek áramát” Akkor szerintem BC182 elég lesz! magas fényerejű ledekből lesz minden ágon 2db ha minden igaz! Idézet: „Az A betűvel jelölt alkatrésznél az adatlapját megtekintve, látni fogod, hogy értelemszerűen melyik láb mire való. A kis karika a kimenet, vele ellentétesen a bemenet; alul a föld, felül a tápfesz.” Na ez az ami nekem kínai volt! tudnál konkrét lábakat írni, hogy mit hova?
megépítettem a cuccot a rajz alapján pontosan de sajna nem működik :no:
A jelöletlen tranzisztor az lehet BC182-is, vagy egyéb tipus is ami NPN és kapcsolni tud néhány 100mA-t.
Valóban, a 4017 a Q0-ról kezdi a számolást, de resetlés utá ezen a lábon van csak "H" magas szint az első inpulzusig. Így a Q0 az a 0. inpulzusnak felelne meg. Alkalmazását a kapcsolás kialakításakor kell mérlegelni! A ZÉNER 4V7 az azt jelenti, hogy ide egy feszültségszabályzó diódát kell tenni, aminek 4.7V feszültségszintet kell tartania. Tehát ez NEM1N4007, hanem PLD: ZPD4.7 (4.7V 500mW), ZY4.7 (4.7V 1.32W), ZPY4.7 (4.7V 1.3W), ZX4.7 (4.7V 10W) STB. Az Idézet: jelű áramköri elem az SN74AHC16 (7416) lenne. Ez az IC hat invertáló meghajtót tartalmaz.( TTL->CMOS interface. ) Ezt katalógusból vagy az alkatrész adatlapján tudod beazonosítani. Az hogy ez a kapu invertáló abból láthatod, hogy a kinemeti pont egy karikából indul ki! Ha csak egy sima vonalerősítő lenne, akkor a kimeneti pontja pont ugylenne rajzolva mint a bemenete. Ez minden logikai kapunál ígyvan!!!:yes: „A” A 7416 bekötése: ( 1.láb:1kapu BE) ( 2.láb:1kapu KI) ( 3.láb:2kapu BE) ( 4.láb:2kapu KI) ( 5.láb:3kapu BE) ( 6.láb:3kapu KI) ( 7.láb:GND negatív tápfesz) ( 8.láb:4kapu KI) ( 9.láb:4kapu BE) (10.láb:5kapu KI) (11.láb:5kapu BE) (12.láb:6kapu KI) (13.láb:6kapu BE) (14.láb:VPP - VDD +5V...15V tápfesz) A 4017 (RESET - törlő) 15.lábáramenő diódák lehetnének 1N4007-is de nem indokolt az 1300V 1A-es típus. Hejette az 1N4148 (75V 200mA kapcsolódióda) vagy 1N914 is tökéletesen megfelel. Aszem nemfelejtettem ki semmit!?... Közben lemaradtam egy pár körrel!
A francot!
Nem kell bonyolítani. Az első rajzot kell alapul venni, csak fordítva kell kötni. A Clk bemenetet kell 1k-val tápra húzni, akkor alapból kigyúl az 1. LED. Pergésmentesítés: a kapcsoló érintkezőivel párhuzamosan be kell szúrni egy 100nF-of kondit. NEM FOG PEREGNI!!!! Kipróbált megoldás.
Szerintem egyszerűbb lenne az általam mellékelt rajzot megépíteni. igaz hogy a léptetést nem te vezérled, hanem az 555-ös IC adja az órajelet a léptetéshez, amit persze a rákötött kondenzátor kapacitás értékével lehet szabályozni.
A rajz a köv címen található: http://www.freeweb.hu/bss/index.php?id=127
:yes: :yes: :yes:
Szevasztok!
Egy TTL kimenetre szeretnék állapotjelző LED-et rakni úgy, hogy a jelátvitelt ne befolyásolja (konkrétan: vételt+küldést jelző LED egy TFDS4500 alapú IrDA adapterhez). Gondolom, ehhez valami tranyó+ellenállás páros kell, de itt már sajnos megáll a tudományom. Tudna valaki vmi konkrét kapcsolást, példát javasolni?
Ezt a "NAGYOK" így oldották meg: " Optiolnal LED circuit ".
Azaz, CMOSFET-tel egyszerűen...
Persze ígyis megoldható a visszajelzés a TFDS xxxx IR modulhoz.
A T-X az adásjele, magas aktív kimenettel! (Ha a kimenet aktív, akkor a jel +UT közelében van!) Az R-X, az a beolvasott adatjel, alacsony aktiv jelű. (Ha a bemenet aktív, akkor a jel -UT közelében van!) Kapuként alkalmazható a CD40106 schmitt-trigger bemenetű inverter, 4093 és schmitt-trigger bemenetű NEM-ÉS -t javaslom. Mert kicsi a fogyasztása, és mert nemterheli számottevően a kimeneteket. A MEN-ÉS bemeneteit párhuzamosankötve inverterekké válnak. Példa a mellékben... !!!. A 40xx x-es CMOS IC-k menhasznált bemeneteit határozott logikai szintre kell kötni, mert rejtélyes hibáknak forrása lehet, a "LÓGÓ" szabadonhagyott bemenet! !!!!
Köszi, de nem lettem sokkal okosabb. Itt csak a TX vonalon van LED, nekem az RX-re is kéne, ahhoz meg invertálni kell a jelet, ha jól tudom. Arról a bizonyos CMOSFET-ről se írnak egy kukkot se.
Úgy látom, kérdésemből nem tűnt ki eléggé, hogy nem nagyon értek az elektronikához. Ha van egy konkrét példa (kapcs. rajz típusjelzésekkel és értékekkel), akkor azt meg tudom építeni, egyébként viszont semmi esélyem...
A TFDS egyik lábára lehet kötni egy LEDet ami alapjáraton jelez... csak azt nem tudom melyik, de itt van a kapcsolások közt egy infra adapter azon is így van aszem...
|
Bejelentkezés
Hirdetés |







Tudna valaki vmi konkrét kapcsolást, példát javasolni? 





