Fórum témák
» Több friss téma |
Fórum » Geiger-Müller számláló (hobbi)
Végre sikerült megszerznem a csövemet, úgyhogy dobom is a képeket.
Számlálónak a BSS-n találtam egy kapcsit, ezt is szeretném megépíteni, már mindenem meg is van hozzá. A feszt a GM csőnek egy 555 icvel és egy lm317-tel csináltam meg, így szabájozható is. Viszont lenne egy problémám. A csőnek semmijen adatát nem ismerem, 2 db szám (55901 és MA00000342) van rajta, de erről sem tudtam semmit sem kideríteni. Mivel nem szeretném rögtön kinyírni, ezért szerintetek mekkora áramkorlátozó ellenállást tegyek elé?
A 4. kapcsolás a legkönnyebben kivitelezhető és jól feldolgozható jelet ad. Én ezt ajánlanám.
A cső soros ellenállása valóban elhanyagolható, de a munkaellenállással tegyél párhuzamosan cca 50 pF kapacitást ami a szerelési szórt kapacitást szimulálja. Ez elérhető de gondos tervezést igényel, szerencsétlen esetbsn akár néhányszor 100 pf is lehet.
A PIC ben nem vagyok otthon de azt vedd figyelembe hogy az impulzusok véletlenszerűen érkeznek, igy ha a proc. éppen nem figyel oda az impulzus elveszhet. Ennek elkerülésére egy monostabilt ilehet indítani a gm cső impulzusával ami biztosan fenntartja a jelszintet addig amíg a pic ráér foglalkozni vele. Ebből adódik a másik probléma hogy az ez idő alatt belépő impulzusok nem lesznek figyelembevéve.
Mindezt elkerülheted egy diszkrét számláló léptetésével amit a pic időnként kiolvas majd nulláz. (A beépített számláló is jó ha függetlenül működik)
annak idején engem is érdekeltek ezek a cuccok, volt ezekról egy teljesen tudományos kis könyv, Gázionizációs detektorok cimmel. Nem tudom mire akarjátok igazából használni, egy amerikai pofa küldött nekem jó pár évvel ezelőtt egy agyagot amiben volt egy sugárzás mérő, félvezetős. A rajzot nem tudom megtalálnám-e, a bemeneten egy spec. infra fotodióda volt milar-fólia szürövel. lm3900 volt benne, totál nagy erősítésre, több
funkciója is volt. Nem építettem meg igazából más kellett az anyagából. A nuenergy.org odalról böngészve talán megtalálható. Állítólag nagyon érzékeny rádióaktív tartalmú érceket is lehet vele keresni... De ez innét már meleg pite...
Ez nehéz dió! Mivel a csövek tápfeszültsége is különböző nem lehet csak egyszerűen megmondani az okosat.
Szerencsére a helyzet nem teménytelen de egy kevés méregetést, kísérletezést igényel. Az orosz (CCCP) csövek max árama 20 - 50 uA körül szokott lenni. (Ez a gyakori) Ha ebből indulun ki akkor az áramkorlátot 5-10 uA re beállítva nagy baj valószínűleg nem történik. Keményebb dió az üzemi feszültség megállapítása. Ehhez kell egy tápegység 200 - 1000~1500 V közötti szabályozhatósággal, és egy nagy marék ellenállás. (Áramkorlát) A menetrend a következő. A csövet a korlátozó ellenálláson keresztül tápra kötni. A föld felé egy ~1-10 kOhm ellenállás, ide kerül egy kondin keresztül egy erősítő bemenete. Bekapcsolva a tápot fülelünk! Lassan folyamatos mérés közben emeljük a feszültséget amig el nem érjük a max áramhoz tartozó feszültséget. Ha közben meghalljuk a beütéseket (kattanások) akkor elértük a cső indulási feszültségét. Itt megállunk és megnöveljük az ellenállást. Tovább növelve a feszültséget egy ideig sűrűsödnek a kattanások majd nagyjából egyenletes számuk lesz. Amikor újra emelkedni kezd itt a max üzemi fesz. A kattanások sürüsége a háttérsugárzástól függ kb 3-20/sec körül várható.
Nekem az egymást követő beütések közötti időintervallumok hossza kellene minél pontosabban. Nem lehet valahogy a PICet real-time működésre sarkallni? Vagy prioritásokat rendelni a portokhoz? Olyan feature itt nincs, hogy a bemenő jelet interrupt hívással kezejük le?
Nem értek az elektronikához, melyik a munkaellenállás? Esetemben a gondos tervezés kizárt.
Kössz a segítséget! Bár nekem német csövem van, de azért majd hétvégén kipróbálom.
Munkaellenállás = amiről a jelet leveszed, ez esetben a föld felé levő ell. (#4. kapcs)
Időt is lehet mérni hw számlálóval de megoldható Sw ből is, ez elegánsabb, de pontos időzítésü programot kiván. Egy hurok futásait számlálod és a beérkező imp. kiolvassa a számlálót ami mutatja hányszor futott le, majd beállitja a kezdőértéket (ami idő a kiolvasáshoz és feldolgozáshoz kellet) és várja a köv megszakítást. Probléma hogy a feldolgozás alatt érkező imp. megszakítja a feldolgozást és hamis eredményt ad. Ezt valahogy ki kel küszöbölni vagy valahogy kezellni kell.
Sok különbség nem valószínű, a teszt amit leírtam univerzálisan használható. Ennél csak az lenne jobb ha lenne ismert aktivitású sugárforrásod vagy egy működö számlálód.
Mindenesetre én kicsomagolnám az eszközt mivel előfordulhat hogy némi elektronikát is tartalmaz a tokozás ill a kábel.
lényeg az hogy rövid legyen a megszakítás lekezelése. Olyat lehet, hogy fut egy kód folyamatosan, és ezt szakítja meg a megszakításkezelő-rutin? Mert így tök jól megoldható lenne a dolog. a főszál (amit a megszakítsásrutin megszakít) csak egy végtelen ciklus, ami megpróbál egy memóriarészletet olvasni, és kiírni az MMCre. Ha nincs a memóriarészletben változás, akkor nincs mit kiírni ugye. A megszakításrutin meg csak erre a memóriaterületre írná be a beütések időpontját. Az a baj, hogy az MMC írás hosszát valószínűleg nem tudom teljes pontossággal megmondani, így az lehetetlen, hogy megmondjam, hogy mennyi ideig fut egy ciklusmag (amiben egy elágazás is van, melynek csak az egyik ága időigényes (MMC), és ez az időigény ismeretlen). Nincs olyan PIC, amiben alapból van timer? Megszakítás esetén kiolvasom, resetelem, kiírom a memóriába, a főszál meg ugyanaz, mint amit korábban is mondtam. Ez lenne a legjobb, a szinkron művelet jól külön lenne választva az aszinkrontól, ráadásul a szinkron kód rövid és gyors lenne.
Van ismert aktivitású sugárforrásom és két működő számlálóm is, úgyhogy a hitelesítéssel nem sok gond lessz.
Szétszedni meg nem akrom a csövet mert irtó drága volt.
Mit sugároz? Fényt sugároz. Röntgent legfeljebb csak nagyon kicsit. 30kV felett, és óriási vákum melett van csak igazán erős röntgen, az alatt lágy röntgen van.
Mérgettünk egyet sugárzásmérövel. László Zs hozott magával egy GM csövel müködö sugárzásméröt és megvizsgáltunk néhány Tesla tekrecsre helyezett izzót.
A müszert eléggé zavarta a nagyfeszültség, és ez megnehezítette a mérést, de hogy röviden összefoglaljam: nem tudtunk a háttérsugárzást jelentösen meghaladó sugárzást kimutatni egyik izzó esetén sem. (zseblámpaizó, 15W-os vákumos izzó, normál izzó, stb.) Azért nem írtam határozottan, hogy nincs semmilyen sugárzás, mert a müszer néha indikált valamit - de nem lehetett eldönteni, hogy csak zavarokat szedett össze a Tesla tekercs müködése miatt, vagy mért is valamit. Kb 1...1,5 méter távolságból viszont már csak a háttérsugárzásnak megfelelö értékeket mértük. Mindenesetre azt nyugodtan ki lehet jelenteni, hogy az ilyen nagyfeszes játékoknál nem kell veszélyes mértékü röntgensugárzástól tartani.
Gondolom egyenirányítva volt a mini, ugye? Egy tv-képcsőt kéne lemérni, úgy hogy rajta van a tesla. Az már lehet hogy eredményes lenne. Én meg itthon nem merem bekötni a röntgen csöveket, azok már azért löknék a röntgent mint a fene. Majd ha lesz műszerem
Van egy magyar, a terminálon belinkeltem a képet róla a fusor topikba, de fogalmam sincs hogy mit mér, meg milyen elven.
Az egyenirányítás elmaradt. Lehet, hogy úgy is meg kellett volna nézni, de arra gondoltam, hogy ha van rtg. akkor az van AC-ról is. Bár a fesz talán feljebb menne ha nincs rajta folyamatosan kisülö terhelés (izzó). DC-röl nincsenek olyan látványos kisülések az izzóban. Lehet, hogy mérni kéne mégegyet.......?
A TV képcsö tutira termelne rtg-t 25...27kV felett, nem véletlenül 25kV az anódfesz.
Szerintem a nagyfrekis AC nagyon lerontja a röntgen hatásfokát, nem 50%-ra hanem lejebb. Valahol régen erről olvastam, de már nem elmékszem mi volt az. Szóval teljes DC-t kéne ráengedni, pufferkondi mondjuk nehéz lenne hozzá, de az lenne a tuti.
Csao!
Váltófesznél egyáltalán nincs rtg, mert nem tudnak annyira felgyorslni a zelektronyok, hogy vmi fémbe belecsapódva fékezési sugárzást hozhassanak létre! Ha téleg rtg-t akarsz mérni, akkor ócska színesképcső végletekig túlfűtve (amit elbír), és 40kV nagyfesz egyent beleküldeni, ott lesz rtg doszt! Vagy régi szovjet színestévé ballaszttriódája, azokat még konkrét sugárvédelemmel is ellátták anno! Atv és moncsi képcső normál üzemben is termel némi lágy rtg-t, de az főleg hátrafelé megy,nem a nézős felire, és nagy részét az ólomadalékolt képcsőüveg elnyeli. Ja: Ha vki tud szerezni üzemképes és óccsó rögönycsövet, dobjon már egy privit, kéne a gyűjteményembe!
Ment privi.
Vajon a szupravezetőre lőtt elektron is csinálhat röntgent?
Megkaptam, köszi, válasz ment!
Szuravezető: Yó kérdés... elméleti fizikusok, hajrá!!!!
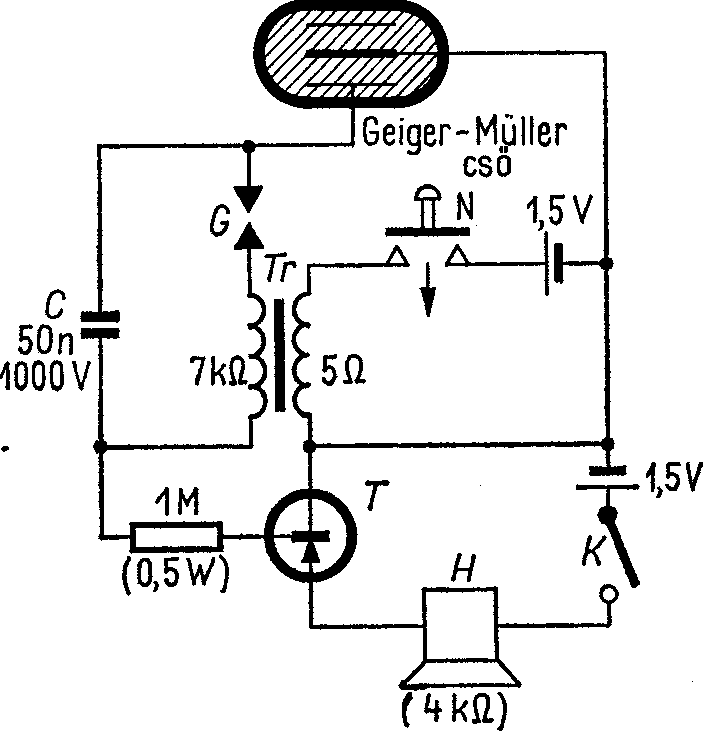
Sziasztok! Nem olvastam végig a topicot, bocsi, ha haszontalan dologgal jövök elő. De! Egy régi "Ifjú technikus"-ban találtam a mellékelt kapcsolást. Egyszerű, de lehet, hogy működik.
Csá!
Na, egy kis videó a most elkészült hang moddos geiger számlálómról:
Bővebben: Link Tulajdonképpen nem röntgen vagy gamma, hanem alfa forrás az, amivel demonstrálom (Am-241 5,6MeV-os alfával) Füstérzékelőben volt 0,2ug, de jobb nem játszani sokáig vele, sőt, ha valaki ilyesmit talál, jobb ha berakja valami vastag fémdobozba, és lezárja. Baromi erős alfa sugárzó.
volánvince: ez nagyon hasznos kapcsolás lehet, nem gondoltam volna, hogy a glimmlámpa képes lehet érzékelni. Bár valószínűleg csak igen kis sugárzást képes jelezni.
Régebben vettünk piacon egy régi GM számlálót: Bővebben: Link 5rad/h a mérési határa. 3 ezret nem megért?
Szervusztok,
Van egy IH-5-ös sugárzásmérőm (1977-es modell). Nincs-e véletlenül valakinek egy kapcsolási rajza? Előre is köszönöm!
Üdv mindenkinek.
Leht hogy elcsépelt kérdést teszek most föl, de megtudná valaki mondani hogy hol lehet működőképes GM-csőhöz jutni? A Google-t már minden létező kulcsszóval végignéztem és sajnos nem jártam sikerrel. Ha valakinek van csöve, műszere vagy tudja hol tudok szerezni kérem szóljon. Előre is köszönöm.
Én egy kedves hobbielektronikustól vettem anno. Feltettem az apróhirdetésbe, hogy keresek működő GM csövet, és vettem tőle egész olcsón egy hibátlanül működő csövet.
Ebay, vatera, apróhirdetés, piac. Hirtelen ennyi jutott az eszembe.
|
Bejelentkezés
Hirdetés |







Nem értek az elektronikához, melyik a munkaellenállás? Esetemben a gondos tervezés kizárt. 




