Fórum témák
» Több friss téma |
Esetleg valami konkrétat tudsz ajánlani?
Ez jó lenne esetleg egyenirányítva GRAETZ kapcsolással?
Lehet kapni olyan 6-8 ampert is tudó töltő-tápokat laptophoz, notebookhoz,szerintem meg azok a legkisebbek.
Lehet venni kész dobozolt és dobozolatlan tápokat is neves gyártóktól. Keresőbe beírod : power supply és rengeteg találatot ad. Én is használok például Lambda és Meanwell gyártmányúakat is. Ötlet szinten érdemes időnként ránézni a Conradra is, mert ott megadják korrekten a gyártókat és ugyanazt kapod meg náluk darabos kiszerelésben, mint például a Farnel-nél, csak a Conrad az egy darabos ár miatt rosszabb.
Van egy szabályozható tápegységem, amin az áramkorlát kb. 60 mA-nál nem állítható kisebbre. (A max 250 mA) Kíváncsi vagyok hogy ez miért lehet.
És ezt tényleg úgy képzelted, hogy valaki a tápegységed és a kapcsolásának ismerete nélkül, csak így látatlanban kitalálja?
Hello!
Esetleg ha lenne róla egy kapcsolási rajzod, mert jóslással és távolbalátással elég gyengén állunk.. üdv!
Kapcsolási rajzom sajna nincs hozzá: mivel a neten nem találtam így csak akkor lesz ha lerajzolom. Gondoltam bepróbálkozok, hátha valaki így látatlanba is tudja.
Valoszinu az aramfigyelo kor nem tul erzekeny es ezert nem lehet lecsokkenteni 60mA ala.
Sziasztok!
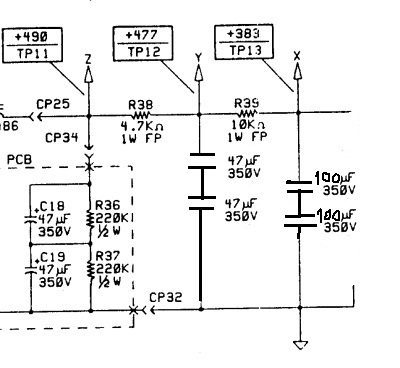
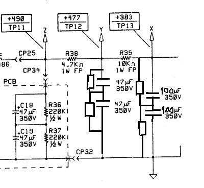
Egy kis segítségre lenne szükségem. Az első rajzon látszik a tápegység egy részlete amit egy erősítőhöz akarok építeni. Sajnos 22µF 500V-os kondenzátort csak külföldről, horror áron tudnék beszerezni. A második rajzon láthatjátok az első ötletem, hogy 2 kondenzátort kapcsolok sorba és a kondik felszültségosztóként működnének és elég lenne a 300-350 voltos kondi. Stabilabb lenne a harmadik rajzon jelölt módszerrel, ahol még ellenállás is betennék feszültséget osztani? Oda milyen értékű ellenállás lenne megfelelő? Bocsi a paintes megoldásért, de nem használok nyák és kapcsolási rajz tervező programokat.
Hello!
Az ellenálláson átfolyó áramnak csak a kondi szivárgási áramnál kell 5-10-szer többnek lenni. Akkor a feszültség már eloszlik. Vagy is két 100..200kohm pld. már megteszi, mint ahogy az első kondinál is látható. üdv!
Feltehetően ez a kapcsolás van benne, itt az R1, R2 ellenállások állítják be a kimenőfeszültséget. R1 növelése, vagy R2 csökkentése szükséges. Itt jegyzem meg, hogy a 723 kimenőárama max 150mA, ami a teljesítmény tranzisztort max 1,5..2A-ig képes kivezérelni. Ha 3A kellene, akkor még egy (pl.:BC301) tranzisztort kell darlingtonba kötni a TIP-el.
BC300 -as van benne , itt vannak képek .
Hello!
Ez egy cseppet "izgi". Az tény, hogy ha lekorlátoz az áramfigyelő, akkor az invertáló bement feszültsége alacsonyabb lesz, mint a neminvertáló. De menyivel? Tegyük fel,hogy az NPN erre kinyit. Csak éppen a kollektor feszültsége negatív. Valamint hova folyna le az áram. A figyelő osztó felé? És mi folyna le, ha a kiment mondjuk rövidzárban van? üdv!
Igen... ennek már több, mint 25 éve... akkor sem működött rendesen, sőt lehet, nem is NPN volt a tranyó, de a két bemenet közt volt az E-B az biztos. Most csak emlékből egészítettem ki az adatlapos rajzot - hátha. De írtam is, hogy inkább komparátor kell. Akkor valahogy egyszerűen meg akarták úszni, aztán az Ezermester boltban kötött ki alkatrész árban...
Ezt találtam , sajnos a " ATX táp átalakítása " topic-nál nem kaptam még választ , hogy mit kell átalakítani az ATX tápon hogy ilyen legyen , aki tud segíteni megköszönném .
Hello!
Ha az egyszerű 723-as stabilizátor javítása meghaladja a képességedet, akkor egy kapcsolóüzemű táp biztosan meg fogja. Úgy gondolom azért nem kaptál választ, mert ez a videó elég semmitmondó. Inkább operatőri gyakorlat, mint műszaki munka. Ennek átalakításához sok mindent el kell távolítani, hatástalanítani kell. Nem lehet egyértelmű olyan javaslatokat tenni, amihez ne kellene tudás, gyakorlat és a kapcsolóüzemű tápok ismerete. Gondolom ennek nem állsz a birtokában. Egyébként egy PC-táp teljesítménye elsődlegesen az 5V terhelhetőségére van kihegyezve. A 12V-os oldalon nem tud komoly áramokat leadni. (Még általában akkor sem, ha rá lenne írva) A 20A biztosan meghaladja a képességét. De a videóban árva szó sincs áramról, ha jól figyeltem. De ha át akarod alakítani, akkor nincs más lehetőséged, mint átolvasni a topikot ahol a aksitöltőnek alakítottak át tápokat. Egyébként ez a kérdés, semmi esetre sem az "egyszerű tápegység" topikba tartozik, hanem inkább ide. üdv!
Én is vettem a minap egy Codegen 350 W-os tápot. A rajta feltüntetett feszültségeket és áramerősségeket nézegettem. Az viszont, hogy melyik vezetéket kell összekötni melyikkel az nincs feltüntetve. Ha nincs vagy 40 kimenő vezeték rajta, akkor egy sem. Nekem szükségem lenne arra az 5 voltra és a ráírt 20 amperes áramerősségre, esetleg a 12 voltra és a 16 amperre. Mit tegyek? Minek van annyi vezeték rajta? Melyiket melyikkel kell összekötözgessem, hogy a legnagyobb áramerősséget ki lehessen aknázni? Összes pirosat, összes feketét és az összes sárgát kössem össze, aztán ezek közé tegyem a fogyasztót?
Köszönöm!
Kedves tamast2!
Egy PC táp, az PC alaplaphoz készült. Azért osztották el sok-sok vezetékre a test és táp vezetékeket, hogy egy-egy szálon ne follyon túl magas áram. Ha másra akarod használni, vagy kicseréled az eredeti sok szálat egy-egy vastagabbra, vagy párhuzamosítod őket. De ne várd el tőlünk, hogy kitaláljuk, mire szeretnéd használni!
Pirosak 5V
Sárgák 12V Narancssárgák 3.3V Feketék test A zöldet és valamelyik feketét összekötve indul be. (Aztán majd valamely modi jól áthelyezi a kérdést meg a választ is...)
Köszönöm erbe, mugab és zolika60! Miért helyezné át, más topicba? Ezek egyszerű tápegységgel kapcsolatos kérdések voltak. Elindítottam már, mert másfelé is olvastam a fekete - zöld indításról. Még lenne pár kérdésem. Nem mertem még rövidre zárni, de olyankor mi lesz? Kikapcsol és ha megszünik a rövídzár visszakapcsol, vagy kikapcsol és nem kapcsol vissza? Esetleg próbáljam ki, nem fog tönkremenni? Mert előfordulhat, hogy véletlenül rövidrezárom a közejövőben. Ha nagyon meg lesz terhelve és túlmelegszik, szintén kikapcsol vagy tönkremegy? Elektrolizálni szeretnék vele, mert van rendes trafóm diódákkal, ami állandóan megy és így közben ezzel tudnék mást is csinálni.
Köszönöm!
Az sajnos eléggé változó, hogy egy-egy táp mit művel rövidrezárva, vagy túlterhelve. Akad, amelyik sipákol, akad, amelyik simán leáll és akad, amelyik pápát választ (aktuális tevékenység. Ha felszáll a füst, megválasztották a pápát.
).
És van amelyik meghúzza a vállát, és átmegy vezetőbe. a kimeneten meg kijön a nyers tápfeszültség. Ami rajta volt, abból jön ki a füst.
Szeretnék egy routert valamint egy modemet egy 300W-os PC tápegységről működtetni. Hogy kell a kábeleket összekötni?
Mekkora feszültséggel mennek az eszközök?
Bár megjegyzem, nem egy optimális összeállítást akarsz csinálni.
Túl alacsony a terhelés a PC tápegységnek, az 5V-ot is le kellene terhelni hozzá, de így iszonyatosan gazdaságtalan és hangos lesz. Ne erőltesd.
|
Bejelentkezés
Hirdetés |













). 




