Fórum témák
» Több friss téma |
Sziasztok Szakik!
Én sajna nem vagyok az, ezért hozzátok fordulok. Van egy digit diktafonom, külső (asszem elektret) mikrofonnal. Az a problémám hogy amikor erősebb hangot veszek vele, vagy icipicit belefújok annyira recseg hogy az nem emberi. Esküvői felvételre szeretném használni de olyan szörnyü minőségű hangot produkál hogy használhatatlan. Mit tudok vele kezdeni hogy megszűnjön a nagy háttérzaj, és a recsegés?
sztem először próbáld eg kicserélni a mikit és ha úgy sem jó akkor mást kérdezz
Hát nem tom.
Gondoltam valami egyszerű kiegészítéssel le lehetne szűrni vagy csillapítani ezt a problémát. Esetleg csökkenteni a miki érzékenységét. Amúgy ha ragaszkodsz a mikrofoncsere ötletéhez, milyen mikit tanácsolsz? Maradnék a gallérra csiptetős méretnél ha lehet, de nem kötelező.
Hali!
Ne fújj bele! Esetleg tegyél rá szivacsot, bár elektretnél ez szerintem macerás. Amúgy jól vesz fel?
Próbálj rá olyan szivacsot, amit a fülbe dugható fülhallgatókra adnak.
Már próbáltam a szivacsot nem jött be.
Túl érzékeny szerintem. Amúgy jól vesz fel, bár minden hangot felvesz, nekem pedig úgy lenne jó ha csak a közvetlen közeli hangokat hallaná. Pl. a lagzin a vőfély gallérjára csíptetve az ő hangját nem nyomnák el annyira környező zajok.
Le lehet venni a felvétel hangerejét, de a minimumon is tú erős. Ez olyan mintha egy tv stúdióban valaki kismikrofonja begyűjtené a többiek beszédét is, szinte ugynolyan intezitással mint a célszemélyét.
Jack-dugóval csatlakozik?
Mono, vagy sztereó csatis? Ha sztereó, akkor van rá esély, hogy nem kell a diktafonba nyúlni. A három érintkezőből az egyik a test, a másik jel, míg a harmadik a táp, a mikinek. (hangsúlyozom, csak ha sztereó, és csak valószínű) Szóval a testet egyértelmű azonosítani, a kérdés az, hogy melyik a jel-szál. Azt megszakítva, betéve egy soros ellenállást, (vagy potit) remélhetőleg állítani lehet a felvételi szinten. (De lehet, az is használ, ha a táp-ágat szakítod meg, és hasonlóan egy ellenállással a tápot csökkented.) ((Ez utóbbitt persze csak mértékkel.)) Más esetben csak a diktafon belsejét "piszkálva" lenne megoldható.
Nekem ha ilyen érzékeny mikrofonom lenne tennék mögé egy homorú parabolát és jó lenne lehalgatónak.
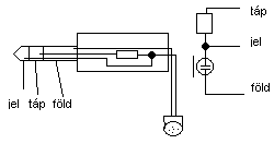
A lábkiosztás szabványos, külső tápos elektretnél:
jack csúcsa: jel jack közepe: U+ (táp 2-5V között) jack szára: föld A gyakorlatban ezt úgy oldják meg, hogy a mikirofontól két ér jön, a jel és a föld. A jack belsejében van egy ellenállás (2-5k), amivel feszültségosztót képez az elektret kapszula. A táp így jut el a kapszulában lévő FET-hez. (lásd a képet) Igen ritka (nagyon ritka) esetben egy haramdik ér külön viszi a tápot a kapszulához. Tehát ha potméterrel le akarod szabályozni, akkor újra kell csinálni az egész csatlakozót, mert általában ki van öntve, így nem férsz hozzá az igazi jelhez, csak ahhoz amielyikre az egyenfeszültség rá van "csücsentve". (egy kísérletet azért lehet h. megér a soros ellenállás v. feszültségosztás a két kapszulához vezető éren.) De nem is ez a baj. Azért hallatszódik minden azonos szinten felvételben, mert a diktafonban van egy AGC (néha AVC-nek írva, szertetik összekeverni, pedig igazából nem azonos), azaz automatikus erősítés szabályzó, ami arra törekszik, hogy nehogy "lemaradjon" valami a felvételről. Ez igen hasznos áramkör (néha), de az esetek többségében több a hátránya mint előnye. Ha most Te leosztod a bemenő jelet, nagy valószínüséggel csak annyit érsz el, hogy az osztást megpróbálja kikompenzálni az AGC, így eredményként csak a zaj növekszik. Tehát az AGC-t kellene vagy kikapcsolni (egyetlen esély ha menüből állítható) vagy becsapni. A becsapás megvalósításához egyenfeszültséget kell szuperponálni a jelre. (ez a "csücsentés", de a feljebb említett ide nem elég) Erre valamelyik HE újságban láttam gyakorlati megvalósítást, meg kéne keresnem.... Amúgy ha belefújsz, vagy szuszogsz nincs az a mikorofon ami nem recsegne. Ezt a megfelelő elhelyezéssel kell elkerülni.
A miki mono, a jack csati szintén.
Szétpattintottam a miki tokját és mit látok:: a miki két polusa össze vann kötve a smd ellenállással vagy mivel. NNa mondom kísérlet, pc miki szétszed, benne hasonlo elektret, azt kivesz, diktafoné helyett betesz. A recsegés gyengébb lett, de még mindig bőséges.
Én az elektronikához annyit értek, hogy TUDOK Forrasztani meg kilogikázom hogy melyik madzag merre megy. Bocsi de sajna így ebből nem sokat értettem.
A mikit bárhová teszem, az erősem élesebb hangra berecseg, még a szoba végéből is.
Még az az érdekesség az esetemben, ami talán segíthet kideríteni a problémát, hogy ha teljesen leveszem a felvételszintet. Semmilyen hang nem hallható, de recsegni ugyanúgy recseg. Ezt sem értem.
Szia
![]() Nem vagyok elektronikai zseni, de szerintem akkor a hiba nem a mikrofonban keresendő. Tipp:át kéne nézni a diktafont belül, hogy nem ér-e össze a forrasztás olyan helyen ahol nem kéne.
Jaa, így egészen más a helyzet!
Ezesetben a diktafonnál van gond. Szerintem inkább vidd el szerelőhöz, ehhez a forrasztási tudás kevés. Üdv!
Hali!
Ezekkel én is tisztában vagyok, bár a szabványos bekötést sajnos van, amikor a gyártók figyelmen kívül hagyják. (Talán azért, hogy csak az ő termékük legyen hozzá használható) Azért nem írtam, hogy melyik melyik, jobb azt kimérni. Nade az új infók ismeretében ez már lényegtelen.
Ne viccelj a Diktafon zsír új. És gyönyörűen vesz fel. Annyi a baj hogy túl érzékeny, mivel ahol használni akarom túl nagy a hangerő. Stimt? Ezért szeretném visszább venni egykisssé, hogy nneee szkadjon ki a "dobhártyája"meg az enyém se a recsegéstől.
Idézet: „Semmilyen hang nem hallható, de recsegni ugyanúgy recseg.” Ez engem arra emlékeztet, amikor kontakthiba van a testen. Persze te hallod, hogy mit produkál, de szerintem teljesen levett felvételi szintnél nem szabad recsegnie. De az is lehet, hogy én értem férre, hogy te mire gondolsz. Viszont mivel a csatlakozó mono, ez azt jelenti, hogy a miki felhúzó ellenállása a diktafonon belül van elhelyezve, tehát az érzékenység állítása a már korábban említett ellenállásos dologgal csak úgy oldható meg, ha a diktafont felnyitod. Ez meg ugye garivesztéssel jár. :yes:
Nem nagyon izget a gari, úgyhogy szétrántom és belekukkantok. Ha nem jutok dűlőre (mivel nem nagyon vágom az ilyesmit), teszek fel képeket a cucc beléről, meg készítek hangmintát is, hátha az segit.
Köszi a segítséget.
Titinek sztem is igaza lehet, ha teljesen levett felvételi szintnél recseg, az valószinűleg a nem a miki hibája.
Ki lehetne azt is próbálni, teljesen levett felvételi szintnél lerakod valahova stabilan, és távolabb zajt csapsz. Ha recseg akkor igencsak különleges hibával állsz szemben. Vagy ha teljesen leveszed, akkor nem némítja el a bemenetet, csak egy nagyon halk állapotra? Na mindegy. A hangminta mindnesetre tanulságos lenne.
A hozzászólás módosítása nevű gomb csak a hozzászólás megírását követő 2-3 percben működik.
Nem némítja el teljesen a bemenetet. Szédszettem de annyira picik és zsúfoltak az alkatrészek hogy képtelen voltam egy normális fotót csinálni róla. Nézegettem deszerinem minden úgy van ahogy lennie kell.
Úgy sz.r ez a diktafon ahogy van. Megint belenyúltam a kakába ahogy szoktam, ennyi az egész. Úgyhogy hagyjuk az egészet. Kösz mindent. :rinya:
Nem kell elkeseredni. Hogy személyes példával éljek: folyó hó 9-én, enyhén másnapos állapotban (aprócska buli) sikerült megoldanom egy lassan 3 éve húzódó problémát...
Ez időkritikus feladatnál tudom h. jobban bosszantó, de sztem tegyél fel egy hangmintát, még akármi lehet. |
Bejelentkezés
Hirdetés |






