Fórum témák
» Több friss téma |
Mielőtt kérdezel, a következő két dolgot ellenőrizd!
I. A helyes tápfeszültségek megléte.
II. A kimeneten van-e egyenfeszültség.
Élesztés.
Szevasztok.
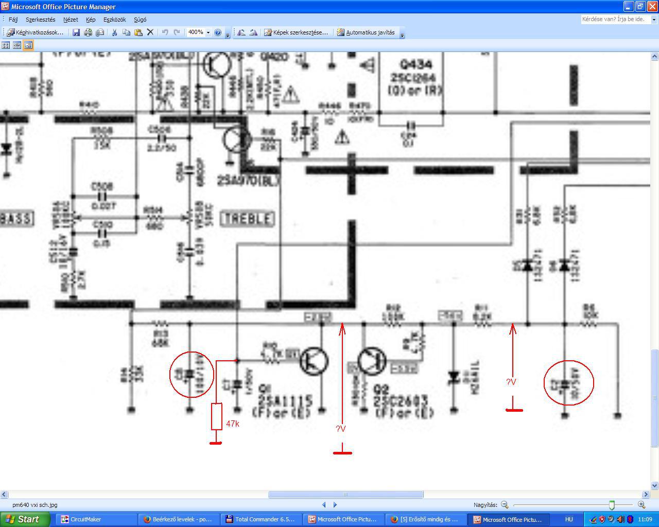
Van nálam egy Harman Kardon PM 640Vxi erősítő. Olyan hibával hozták ide, hogy nagyon sok idő mire bekapcsol. Persze nálam nem csinálta a jelenséget. Találtam benne pár púpos elkót, de arra jutottam, hogy kicserélem benne az összeset akkor már újra. Puffereket is cseréltem. Összeraktam, kipróbáltam. Semmi hiba, többszöri ki-be kapcsolgatásra sem jött elő a hiba. Elvitték, de újra ez a baj állítólag. Most hallgatom, de semmi rendellenes dolog nincsen. Nyugalmi +-30mv mindkét oldalon. Viszont amit most észre vettem, hogy van két dióda a kimeneti résznél ami ebben nincsen benne. Azt nem tudom, hogy gyárilag sincs vagy valaki kiszedte. Nincs feliratozva sem. Azoknak mi a szerepük? A D403-D405-ről van szó. Kapcsolási rajz
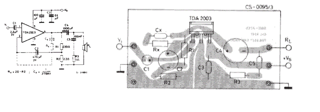
Összeraktam a kerti rendszerem, 3 darab TDA2003-s erölködö standard bekötéssel meg 6 szélessávu autohangszoro. (3x2 párhuzamosan) .
Egész jol müködik csak egy kicsit olyan morgo hangja van. Meghallgattam a YT-bon több hasonlo erölködöt, mindben ki lehet hallani mintha valami CMRR torzitás vagy valami hasonlo lenne a hangban. Ha némileg több basszus van a zenében mintha modulálná az egész hangot. A torzitás független a hangerötöl. Beszédhangon semmit nem lehet észrevenni, de zenén egy kicsit mindig. Itt a srácnak joval torzabb a hangja (enyém ettöl sokkal szebb, de ugyanilyen a torzitás tipusa kb 7:32 töl.) Tda2003 Sem a bemenet sem a kimenet nincs tulmodulálva és 20000µF a szürö kondi a 3 erösitöre. Egyenként is ugyanilyen a hangja. Valami ötlet?
Szia! Azok a diódák a hangszórótekercsben indukálódó feszültséget korlátozzák, elhagyhatók éppen.
Köszi, viszont van még valami. Az L401-R485 illetve az L403-R487 sincs benne, hanem csak egy átkötés van a helyén. Kerestem képeket róla és amit találtam abban benne van. Ez tipuson belül változó dolog lenne?
Szia! A videón átrakta a jelföldet a hangszóró földhöz. Ha a nálad is hasonló a jelenség, vizsgáld felül a NYÁK-tervet!
Csak tipp. Nem lehet az, hogy a tulajnál alacsonyabb a hálózati fesz. a kelleténél?
Szerintem elve rosszul álsz neki a hibakeresésnek! Mivel korábban kifogástalanul működött az erősítő, nem valószínű, hogy a gyárilag módosított, kihagyok alkatrészek okozzák a gondot, amikkel együtt élve működött az erősítő akár évtiezedekig! Egyébként az nem sima átkötés, hanem ferrit gyűrű van rajta, tehát induktivitások azok ahogy a rajzban is van (L).
Mit jelent az, hogy sok idő mire bekapcsol? Sokára húz be a relé? Processzoros és nyomógombbal indul, tehát készenléti módban is lehet az erősítő? A hozzászólás módosítva: Máj 26, 2016
Különböző piacokra, különböző követelmények szerint gyárthatnak.
Ez egy teljesen analóg cucc. Nincs benne semmi digitális ic. A bemenet választás is kapcsolós.
A sok idő még bekapcsol arra utal, hogy van amikor sok idő kell mire megszólal és akkor is halkan recsegve kezdi, de aztán jó lesz. Ez van, hogy 10 perc, de van, hogy 1 óra is eltelik a bekapcsolástól számítva. De mint írtam itt nálam nem produkálja a hibát még most. Így csak ennyi infóm van amit a tulaj mondott. Relé sincs benne amúgy. Lehet, hogy a védelmi vagy a némításnál van valami hiba? Bár akkor meg mindig csinálnia kellene.
Nem feltétlenül. Ha egy kondenzátor nem akar töltődni rendesen, mert kontakthibás egy ellenállás például, az okozhat ilyet. Igazából egyszerű kideríteni, amikor nem szólal meg, szkóppal végig kell méregetni a jel útját kb. fél hangerőn, ahol elakad a jel ott van a gond. Ha fent leírt tünetek mindkét csatornán egyformán jelentkeznek, akkor ki is zárhatók a végerősítők például, mivel azoknak egymáshoz nem nagyon van közük, de az előerősítő fokozatban ugyanarról a tápról járó műveletierősítő példéul már okozhat hasonló jelenséget, ami egyformán érinti mindkét oldalt.
Probléma megoldódott. Szemmel alig látható helyen összeért ahol a forrasztásom megfolyt. Ezért nem szabad "lég" építeni a dolgokat.
Igen a kondikra gyanakodtam én is. Volt is pár benne ami már kivolt száradva mert semmi kapacitása nem volt. Ezért kicseréltem az összes elkót az erősítőben. Igaz a hangszínnél nem cseréltem. De akkor megnézem azokat is csak elöbb ki kell várnom, hogy jelentkezzen a hiba.
Az már késöbb volt. Nálam csillag huzalozás van.
Na van ez a Sherwood...Szerintem megtaláltam az erősítő rész bemenetét.Úgy búg, mintha fizetnének érte neki.A búgást leszámítva szépen szól.
Egyrészt: a búgással mit tudok kezdeni? Másrészt: a végfok előtti rész áll egy Phono, CD Tape stb bemenetből, aztán hangszínszabályzás, hangerőszabályzás van.Illetve van egy kis digitális rész is a távirányító végett.Szerintem a hiba gyökere a bemenet és a végfok bemenete között lehet.De hogyan találjam meg?Hol kezdjek hibakeresést?
Szia!
Ma megint volt egy kis időm méricskélni. Csatoltam pár képet. Megmértem, lehúzott betáppal a bal és a jobb csatorna kimenetén a jelet. A végfokpanelen csak a törpefeszültségű áramkörök aktívak. Látni hogy az egyik csatornán mekkora a zavarjel és a másikon. Viszont ha lehúzom a bemeneti jel csatlakozóját a végfokpanelről akkor szinte megszűnik. De ha megmérem a bemeneti csatlakozón a jeleket ott nincs rajta ez a zavarjel. Valamint a végfokpanelen a csatlakozó tüskéken sem mérek ilyen jelet. Az RC tak nincs megpirulva.
Az R2-t és a jelföldet a mellékelt ábra szerint hoztad ki a 3-as lábról?
Rx, Cx sávszűkítő van rajta?
És mi történik, ha a végfok bemenetét rövidre zárod? Ha nincs a bemeneten semmi, akkor ez a jel rákerül a bemenetre és tulajdonképpen kioltja a zajt, ez tipikus tünete a rossz kábelezésnek, vagy paneltervnek.
A hozzászólás módosítva: Máj 26, 2016
Szia! Egy áramtalanított végerősítő kimenetén észlelt jelből nem tudok következtetést levonni.
A puffer méréseredménye lenne a soron következő lépés.
Szia!
Olyat észrevettem, hogy ha mozgatom a jelkábelt (ami a bemeneti XLR -ről megy a DSP-be) akkor erősödik a zavarjel. kipróbálom!
Látom elég sok a kondi, van alacsony és magas tápfeszültség is, tehát G vagy H-osztályú?
Akkor maga a kábel szedi össze a zajt, ismerős jelenség. Annó amikor még a brummot kergettem az erősítőimben, rájöttem, hogy a trafó leghatékonyabb árnyékolása a távolság. Csináltam mindenféle panelt, próbálkoztam összevissza kötögetni eredménytelenül, egészen addig amíg rá nem jöttem, hogy sokkal egyszerűbb a megoldás és mondhatni "mechanikai" probléma volt.
Amúgy a kábeleket arrébb rakva minimálisra csökkenthető a brumm, ha valóban ez a gond, de fél centimétereken is múlhat. Ha most a végfok bemenetet rövidre zárva nem jelentkezik a zaj, akkor meg is van a forrása és a lehetséges megoldás.
Egy kicsit másképp vannak elhelyezve az alkatrészek, de ugyanigy van kivezetve minden és minden rajta van ami a gýari rajzon is láthato.
Egyetlen dolog amit még kiprobálnék, hogy most nagyon alalcsony impedanciárol hajtom (fejhallgato kimenet) ill. egy 2k5 poti a bemeneten meg sorba kötött 22 kOhm. A hozzászólás módosítva: Máj 27, 2016
A trafó távolságának növelése is remek módszer, ha van elég hely, de meglepően hatásos a trafó forgatása is (szögletes, lemezelt trafó esetén).
A réz-oldalt meg tudnád mutatni? C4 és R3 test határozottan elkülönül egymástól?
H osztályú, soros-párhuzamos kapcsolásban vannak a kondik.
+-140V +-70V
Meglehetősen szembemegy az alapelvekkel.
Egy panelen megkockáztatnád az alábbi átalakítást? Szerk.: a gyári panel éppen a youtube-os fickó "dubstep" kapcsolása A hozzászólás módosítva: Máj 27, 2016
Mérd meg az "A" rajzon a bázis-emitter feszültséget bekapcsoláskor. A gazdinál lehet valami gubanc ami kinyitja egy pillanatra a túláramfigyelő tranzisztort.
C1-et (ha jól látom a pozíció számát) semmi nem süti ki. Szerintem nyugodtan áthidalhatod egy 22k-val, ez nem okoz semmilyen problémát a védelem működésében. A két elkót feltételezem kicserélted. Mérd meg még azt a két feszültséget, hogy jó-e. (Nem látom hány V-os a Zener, illetve, hogy mi mennyi.) |
Bejelentkezés
Hirdetés |













Amúgy a kábeleket arrébb rakva minimálisra csökkenthető a brumm, ha valóban ez a gond, de fél centimétereken is múlhat. Ha most a végfok bemenetet rövidre zárva nem jelentkezik a zaj, akkor meg is van a forrása és a lehetséges megoldás. 










