Fórum témák

» Több friss téma
Fórum » Speciális mérőrúd építése
Lapozás: OK   1 / 1
(#) littlet hozzászólása Jún 12, 2016 /
 
A következő dologban szeretném kikérni a véleményeteket.

Lehetséges-e otthoni körülmények között megépíteni egy olyan mérőműszert (mérőrúd, mondjuk valahol úgy 20-50mm átmérő között), amelybe beépítésre kerülne egy (vagy több) erőmérő (szorításra, összenyomásra lenne érzékeny akár több pontban is), egy hőmérséklet mérő, egy PH mérő és egy felületi nedvesség mérő. Szerintetek kivitelezhető egy ilyen eszköz megépítése?

Köszönöm a hozzászólásokat!
(#) Medve hozzászólása Jún 12, 2016 /
 
Szia, a véleményem és az én tudásom szerint, kivitelezhető. De hozzáteszem: a mérőrúd mást jelent.
A hozzászólás módosítva: Jún 12, 2016
(#) Gafly válasza Medve hozzászólására (») Jún 12, 2016 /
 
Ráadásul nem teljesen értem, hogy pontosan mit, és miért szeretne a kérdező
Röviden: pontosan mit is szeretne?
(#) Bakman válasza Gafly hozzászólására (») Jún 12, 2016 /
 
Hazugségvizsgáló? A kuncsaft fogja a rudat...
(#) littlet válasza Medve hozzászólására (») Jún 12, 2016 /
 
Jogos, elnézést kérek, de hajnalban csak ez jutott eszembe a forma miatt.
(#) littlet válasza Bakman hozzászólására (») Jún 12, 2016 /
 
Az ötlet jó, ez még nem jutott eszembe.
(#) Bakman válasza littlet hozzászólására (») Jún 12, 2016 /
 
Ha elmondanád, mit szeretnél tulajdonképpen, könnyebben segítenénk.
(#) littlet válasza Bakman hozzászólására (») Jún 12, 2016 /
 
A dolog még nem kiforrott. Valami játék féleségre gondoltam, amit - ahogy te is írtad - megfog egy játékos, és elkezdi szorítani (ha két kézzel, akkor ugye minden érzékelőből legalább kettő kell bele). A cél, hogy mondjuk minél tovább tudja ugyanolyan erővel markolni, s közben látni lehessen, hogyan változik a tenyere alatt az adott érték. Képzeld el, hogy mondjuk Fekete Laci egy olyan rudat fog, amibe ez be van építve. A rúd hozzá van erősítve egy kamionhoz, amit ugye elhúz, amikor is mi szépen látjuk, hogy mi is történik valójában a tenyere alatt.
(#) bbalazs_ válasza littlet hozzászólására (») Jún 12, 2016 /
 
A pH mero minek?
Szerintem amit te keresel az a nyulasmero belyeg, viszont ennek a mechanikai kialakitasa mar rajtad mulik (en sem egeszen ertem, hogy pontosan milyen erohatast akarsz merni). Egy rudat lehet szoritani, huzni, nyomni, hajlitani, csavarni, nyirni, szoval mit is szeretnel merni?
(#) littlet válasza bbalazs_ hozzászólására (») Jún 12, 2016 /
 
A szorítást szeretném mérni, amit a rúdra fejtenek ki. A nyúlásmérő bélyeget ismerem, de az ilyen erőhatás mérésére tudtommal nem használható fel. Vagy igen?
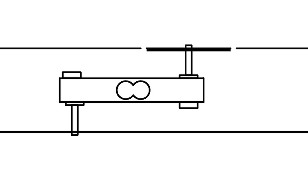
(#) Bakman válasza littlet hozzászólására (») Jún 12, 2016 /
 
Én így próbálnám megcsinálni. Nyílván nem 1 kg méréshatú bélyeget kell választani.
(#) proba válasza Bakman hozzászólására (») Jún 13, 2016 /
 
És egy szoba mérlegből kiszerelni az egészet, még az elektronikával sincs baj. Valaha magával a mérleggel játszottuk, ki tud nagyobbat szorítani.
(#) littlet válasza proba hozzászólására (») Jún 18, 2016 /
 
Az ötlet nem is rossz, de félek, hogy a rúdba szerelés nem lenne annyira egyszerű.
Következő: »»   1 / 1
Bejelentkezés

Belépés

Hirdetés
XDT.hu
Az oldalon sütiket használunk a helyes működéshez. Bővebb információt az adatvédelmi szabályzatban olvashatsz. Megértettem