Fórum témák

» Több friss téma
Fórum » Rádió építés a kezdetektől a világvevőig
Lapozás: OK   141 / 278
(#) bigrobi hozzászólása Júl 28, 2018 /
 
Közben rájöttem hogy mivel csökencsem az érzékenységet a kézközelítés iatt volt. Igy más a hang hangossab de maradt az érzékenyseg. Egy ellenálás értékét 20 szorosára növeltem. Majd lessz rajz is.
(#) szikorapéter hozzászólása Júl 28, 2018 /
 
Sziasztok. Volna itt egy ilyen kapcsolásom megépítve megtekert trafókkal viszont a rádiórészt is meg akarnám építeni lehetőleg AM sávhoz. Milyen tekercset, illetve forgót kéne illesztenem hozzá hogy legalább az AM sávot át tudja fogni (400Khz-1,1Mhz emlékeim szerint. )
(#) tdi75 válasza szikorapéter hozzászólására (») Júl 29, 2018 /
 
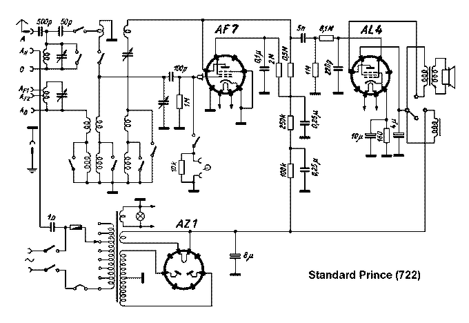
Szia! Ha gondolod nekem megvan a Prince 722 kapcsolása. Átküldhetem, nem áll semmiből.
A kapcs rajz 161 Kb, az alkatrész listája 88. Irj ha kell.
(#) szikorapéter válasza tdi75 hozzászólására (») Júl 29, 2018 /
 
Nekem is megvan a kapcsolás de a tekercskészletéről semmi infó amúgy sem. Nekem egy olyan tekercs és kondenzátor "válogatás" kell amivel az egyszerű műsorszóró AM sávot tudom venni.
(#) bigrobi válasza szikorapéter hozzászólására (») Júl 29, 2018 /
 
Taáltam egy ilyet. Megvannaka tekercs adatai is. Nekem az ECH 81 es radióm volt jó régen. De nem találok rajzot.
(#) bigrobi válasza szikorapéter hozzászólására (») Júl 29, 2018 /
 
Ime az ECH83 nem is 81. A makai könyvben leírt tekercs jó ide. Fejhalgató helyett ellenálás és kondenzátorról megy a hang. Kérdés milyen tekercset akarsz? Én a ferritmagossat szeretem mert könnyen allitható. Szintén függ a tekercs mérete a kondenzátorrtól. A másik képena középhullámú tekercsem van 360pF kondira de az 500assal is jól megy. Kh az 530 tól 1600KHz ig megy. Különben most ez a tekercse van a szuperregeneratív rádióm.
(#) szikorapéter válasza bigrobi hozzászólására (») Júl 29, 2018 /
 
Ez az 50mm-es maggal gondolom légmagos tekercs akar lenni, És akkor az a kondit az anódhoz utána tekercs és katód azt az én kapcsolásomban milyen értékekkel kell bevinni?
(#) madzagos válasza szikorapéter hozzászólására (») Júl 29, 2018 / 1
 
A makai könyvben lévő jó lesz hozzá. Nekem müködik vele.
(#) szikorapéter válasza madzagos hozzászólására (») Júl 29, 2018 /
 
Akkor bigrobi válaszából a 2. képen látható (L1L1.PNG) elvileg jó nekem igaz?
(#) bigrobi válasza szikorapéter hozzászólására (») Júl 29, 2018 /
 
Légamgos tekercs, jobról az első az a föld második megy rácsra az első tekerrcs 3-ik ivezetés a forgókondi. A másik 40 menet nekem az entnnakörhöz meg egy 25 vagy 30 kell a visszacsatolásnak vagy megpróbálni azt a 40et annak hasznalni. Nekem hartley oszcilátoros a mostani kísérleti rádióm, így az első a tranzisztor bázissa, 2. egy potencióméteren keresztül emiter es a 3-ika föld. Ennél nincs visszacsatolótekercs., ha visszalapozol parat ott van apr terv róla, ezt sosem probáltam elektroncsővel. Egy 5cm PVC vízelvezető csőre van feltekerve. Lényegében ez a középhullámú sávot átéri.
(#) bigrobi hozzászólása Júl 29, 2018 /
 
Nekem is komplikálódik a helyzet egy oszcilátor felépítéssel nem tudom az egész sávot átfogni 500KHz és 10Mhz között. Egy ellenálást állandoan változtani kell. Mivel a kollektornál kimarad az a potencióméter,a kolektoron levő ellenálásal bajlódok, vagy középhullámra jó vagy rövidre. Vagy oa is potenciométer kell de én nem akarok oda azt. A tekercsemen természetessen több kivezetes van ami megy a bázisra ógy változtatnám a hullámhosszokat. Külon 5-10MHz vagy csak 500-1600Khz be tudom állítani.
(#) tnl válasza bigrobi hozzászólására (») Júl 29, 2018 /
 
Elég egyszerű, és jól működik a leírt gondon kívül?
(#) hobbyjani hozzászólása Júl 29, 2018 / 1
 
Egy régi román folyóiratban kaptam,csöves konverter az amatőr sávokra,fel lehet használni a régi tévéroncsok tunerjábol a PCF82,vagy 802 csövet,vagy az orosz 6F1P-t,utána jöhet akármilyen középhullámos szuper,vagy akár DSP-s rádió,ki akarom próbálni.

konverter.jpg
    
(#) bigrobi válasza tnl hozzászólására (») Júl 29, 2018 /
 
Igen picit át van alakítva mert van 3 tranzisztoros erősítő így, az emiteren van 1khom ellenáls és onan megy a hang. Majd csinálok 1 rajzot is Úgy néz ki ha minden be van állítva menetszám stb érzékeny és bármely hullámon jó.
(#) hobbyjani hozzászólása Júl 29, 2018 / 1
 
Egy másik rajzot is kaptam,egy szuper amit a mai tranzisztorokból lehet épiteni,a KF trafók helyett 455-s kerámia szűrőket fogok tenni,igy a hangolás egyszerűb lesz,csak a BFO-hoz kell egy trafó,a hangvégfok pedig egy 8002 ic lesz.

szuper.jpg
    
(#) bigrobi válasza tnl hozzászólására (») Júl 29, 2018 / 1
 
Íme gyorsan rajzoltam eggyet. A kondenzator nálam 500pF a tekercs jelenleg 20+60 és ferritmaggal álítom be hogy első legyen a Kossuth adó. A felső 100Kohm potencióméter nincs ott, nálam egy ellenálás van jelenleg 5.6Kohm ha jól emlékszem de 47Kohmig eleg jó de van változás. Akár 2-3méteres anntennával is működik pest ha halkan sőt még símán ferritrúddal is. De 10-12m antennával használom. Földelés nem is kell neki. Ha a kollektornál nincs ott a kondenzátor és az ellenálás nem szól a rádíó. Ha fejhalgatón akarjuk halgatni nem kell a 3 tranzisztoror erősítő. Az az ellenálás helyet jöhet a fejhalagtó és nem 10nF hanem egy 1µF elkó megy. Az erősítőben egy két érték eltér pl. 47 helyett 44Kohm van mert minnel többet akartam regi alaktrészt felhasználni. a 100ohmos ellenálás nélkül könnyen befütyül vagy zúg az erősítő. Valójában volt egy potencióméter az erősítőnél is, az ki van hagyva a az alső emiteren levő potencióméterrel az érzékenység mellet a hangot is állítom. Az értékek jászásával az oszcilátorban el tudom érni hogy szeb hang de halkabb, avgy érzékenyebb legyen sőt a multkor volt az a bajom hogya kezem közelségére reagált. Kollektorra nem ment az erősítő az egész oszcilátort elhúzta, kivéveva ha külön árramforrásról megy a zerősitő pl. aktív hangszóró. Erre a megoldásra egy hibás kapcsolásom miatt jöttem rá.
A hozzászólás módosítva: Júl 29, 2018
(#) hobbyjani válasza szikorapéter hozzászólására (») Júl 30, 2018 /
 
Nekem van egy ilyen ,,hercegi"rádióm,egyáltalán nem hercegeknek volt szánva,mert a belseje egy közönséges audion néprádió,abban a korszakban amikor már a herceg rádiója már nem lehetet más csak szuper.Itt van a rajza.
(#) pucuka válasza hobbyjani hozzászólására (») Júl 30, 2018 /
 
És láthatod milyen szép, egyszerű, letisztult kapcsolás. Semmi 22 000 µF szűrés, mégse búg.
(#) szikorapéter válasza hobbyjani hozzászólására (») Júl 30, 2018 /
 
Ugyan ezt építem én is, csak annyi különbséggel hogy a gyári tekercskészletet azért nem szeretném végigtekerni,így kap egy tekercset amivel a mai műsorszóró AM sávot képes fogni.
(#) hobbyjani válasza szikorapéter hozzászólására (») Júl 30, 2018 /
 
Az a legegyszerűbb ,egy tekercs régi tévéroncsbol kibelezet 3 mm feritmagra kb 100 menet 0,1-es huzal KH-nak,az antennát meg csatlakoztatod egy 50 pf kondival,visszacsattolást is csinálhatsz reá kb 20 menet de ilyenkor még kell egy forgó a visszacsattolásnak is.
(#) tnl válasza hobbyjani hozzászólására (») Júl 30, 2018 /
 
3 mm -es ferritmagra hogyan lehetséges 100 menetet tekerni? (még .1 es drótból is)
(#) tnl válasza tnl hozzászólására (») Júl 30, 2018 /
 
Bocsánat, 3mm átmérős ferritgyűrűre gondoltam
(#) hobbyjani válasza tnl hozzászólására (») Júl 30, 2018 /
 
Nem gyűrű,egyenes,régi tévé KF trafóból,megy még az antik vaspormagos is.
(#) szikorapéter válasza hobbyjani hozzászólására (») Júl 30, 2018 /
 
Akkor a visszacsatolás is mindenképpen kell igaz? Légmagos tekercset akarok mindenképpen, már csak azért is mert jól néz ki a tekercs a régi csövek mellett. Találtam itthon egy 2x400pF-os forgót remélem ez elég lesz hozzá. A tekercsek huzala már megvan már csak "magot" kell keresni amire tekerek holnap. Egyéb kérdés: Mivel az anódtrafóval még mindig hadilábon állok az mekkora lehetett gyárilag? Mármint anódfeszre? Én saccra olyan 210 egyent engednék rá,de azért jól jönne olyan ember véleménye is aki több ilyet látott már.
(#) bigrobi hozzászólása Júl 30, 2018 /
 
Az elöbb jött be az Absolutli radio közphullámon ami angliaban van tök pöpec. Csak kcsit halk a 4 trnaziszot nem ojan erös mint 32 avgy 3 elektroncső? Régen ECH83+EL86 al ment hangossana rádióm. itt meg 4 tranziszorral is csendben kell maradni. Ja sikerült rovidhullámba is ez az de valami adatatvitelis tb meg beszed nem jó frekveciákon vagyok.
(#) bigrobi válasza szikorapéter hozzászólására (») Júl 30, 2018 / 1
 
Akkor csináld stílusossan.
(#) szikorapéter válasza bigrobi hozzászólására (») Júl 30, 2018 / 1
 
A legnagyobb bajom talán a hellyel van. Mivel alapból kicsi a rádió ház, a sasszi még kisebb lett így sok dolog volt amiről le kellet mondjak: kimenőtrafó pl. az előlap hátára került a hangszóró mellé. A hálózatit még mindig válogatom bele, a csövek már be vannak kötve , most lényegében már csak a rádiórész híja van.
(#) bigrobi válasza szikorapéter hozzászólására (») Júl 30, 2018 /
 
Elméletileg az én rádióm alig akart nagyobb lenni egy cigisdoboztól, egy tápdobozba fog kerulni ennyit a tervezésról. Sajnáltam nem nagy forgót felhasználni, a nagyobb átmérőjű hangszórón szebb a hang stb. De íme egy ötlet tedd a tetejére a tekercset video link
(#) tdi75 válasza szikorapéter hozzászólására (») Júl 31, 2018 / 1
 
Szia! Megnéztem neked, ezek a csövek mehetnek 250 voltos anódról. De fűteni is kell őket, az 4 volt a három cső az kb. 3,5 amper. De számolj néggyel. Szerintem egy kb 20 wattos trafó elég lehet neked.
Szóval a 210 voltos anód feszültséggel nagyon nem lőttél mellé
(#) hobbyjani válasza szikorapéter hozzászólására (») Júl 31, 2018 / 1
 
Itt van a rajz az előerősitő cső átalakitása audionra ,én mégis a ferritmagos tekercset ajánlom,mert azt pontosan be lehet állitani a sávba,a menetszámok ab 100 menet,bc 30 menet 0,1 huzal,a második változat jobban tetszik,mert nem kell a visszacsattoláshoz forgókondi.Ha légmagosat csinálsz,akkor a beállitáshoz fel és le kell tekerjed a drótot amik pontos lesz a KH sáv.
A hozzászólás módosítva: Júl 31, 2018

audion.jpg
    
Következő: »»   141 / 278
Bejelentkezés

Belépés

Hirdetés
XDT.hu
Az oldalon sütiket használunk a helyes működéshez. Bővebb információt az adatvédelmi szabályzatban olvashatsz. Megértettem