Fórum témák
» Több friss téma |
Szia!
Fel tudnád tenni azt a bizonyos 3 OPA-s kapcsolást? A válasz valószínűleg benne van. Amit írsz, az érdekes, hasznos, de én még nem tudom, hogy mi az a "6 digites DMM. Egyébként én is 4-5-szörös erősítésre gondoltam ösztönösen. Az általad javasolt ICL7650-ös IC adatlapját tanulmányozni fogom. Ezzel lehet, hogy kikerülhető a probléma, de ettől még nem oldottuk meg, ugye? Én szeretnék valami elvi megoldást is tudni, mert mint írtam korábban még az 50 Ft-os 471-es is 0,1% pontosságú linearitást tud, csupán a nullpont-illesztés a probléma. Egy ilyen apróságnak látszó probléma miatt vegyen az ember precíziós IC-t nagy pénzért? Ágyúval verébre nem érdemes lövöldözni. Mégegyszer: köszi a segítséget! Ha tudod, tedd fel azt a kapcsolást!
Én inkább áldoznék rá IC-nként 6-700 Ft-ot, hogy ne kelljen órákat szórakozni tervezgetésekkel, beállításokkal, majd a néhány nap (hónap) múlva utánállítgatásokkal.
Szerintem ilyen problémákra nem "ágyú" az ilyen IC, hanem ilyet kell használni, azért találták ki.
Gyakorlatilag erről az alapkapcsolásról van szó. Én annyiban egyszerűsítettem rajta, hogy az első két fokozat csupán feszültségkövető (R1=0 és R_gain hiányzik), így az erősítés számítása Uki/Ube= R3/R2 értékűre redukálódik. A jó linearitáshoz és CMRR-hez szükséges, hogy a két-két R3 és R2 ellenállás valóban nagyon közeli értékű legyen, ehhez kellett a nagypontosságú, 6 digit felbontású műszer, és a válogatás. Még mindig könnyebben kompenzálható jelfeldolgozáskor az erősítés abszolút hibája, mint a nonlinearitás.
Egyébként igaza van kendre-nek. Nekem a uV-os mérendő jelszintek miatt kellett az igen alacsony ofszetfeszültségű erősítő, ami a gyakorlatban kizárólag chopper-es elven valósítható meg. Sok cég gyárt ilyen precíziós opamp-ot, és a 7650-es sem mai darab. Viszont egy csomó impresszív tulajdonsággal rendelkezik (alacsony ofszetfesz és hőfüggés, extrém magas nyílthurkú erősítés, CMRR és tápfesz-elnyomás, stb). Ha más, összetettebb v. külön áramkörökkel kellett volna megvalósítani, sokkal drágább és helyfoglalóbb lett volna ez a fokozat. Ha szükség van a nagyon alacsony ofszetre, ezt nem lehet megkerülni.
Sziasztok!
TLC271 IC-t mivel lehet helyettesíteni, ami jobb minőségű hangot biztosítana? Ebben a kapcsolásban van: Bővebben: Link köszi
Bocs a kezdo a masik forumtarsnak szolt aki irte hogy tanulni szeretne .Kezdoknek meg nincs impedancia problemaja .
Most olvasom a kolega ajanlatat, en is a chopper modszerre gondoltam mivel zaj lehet az ilyen nagy impedanciaval valo meresnel.Es eddig a konyvet kerestem de nem tudom hol van , lehet hogy othon.Orvosi muszeres konyvben van a bio-impulzusok erositeset vegzik ilyen chopper modszerrel. A" (Texas)-analog es illeszto aramkorok" cimu konyvben a 58 es 59 oldalon talahato a diferencial nagy kozosmodu elnyomasu es ofszetkompenzalt meroerosito kapcsolas.Bemenoellenallas. 40 es 100 MOhm ertekeket talaltam. Az 53-as oldalon talalhato egy aszimetrikus bemenetu de 10G bemeno ellenallasu ofszetkompenzalt kapcsolas. Meg kerestem de nem talaltam meg , kell legyen a 10G-as kapcsolas diferencial modban is .A kapcsolast ellenutemu modszerrel kotni hasonloan a 3 OPA-s kapcsolashoz. De letezik FET-es ofszet korekcios aramkor is kb.100M val terheli csak a bemeneteket es mind a ket bemenetre van egy egy kapcsolas ugyhogy magmarad a diferencial bemenet is.Nem tudom melyik konyven lattam . Azonkivul az aramkor kialakitasa is speci kell legyen mindenfele "arnyekolo" foldhurokkal meg ilyenek ( es nem talalom azt az orvosi muszer konyvet .....$%#%^$#^) Mit akarsz merni , milyen alkatreszt vagy anyagot ? es miert kell a 0,1%-os pontossag? ha igy is ugy is nem nagyon tudjuk milyen belso ellenallasok vannak ?vagyis nem tudhatjuk hogy sontoljuk nagyon vagy keveset a merendo dolgoy.Kerlek ird meg .
Kedves Karpi!
Nagyon jó dolgokat küldtél! Ha megtalálod azt a bizonyos könyvet, akkor nagyon jó lenne, ha azt is küldenéd. Sajnos be kell látnom, hogy egy kissé (vagy nagyon is) nagyképűen áltam a problémához. Még sajnos túl sok alapvető fontosságú dolgot nem tudok. Például nem tudom, hogy mi az a chopper modszer. Ha ezt elmondanád röviden, vagy irodalmat tudnál mondani hozzá, azt nagyon megköszönném. A mérésről röviden: Észrevettem, hogy ha egy üvegtiszta tokú piros LED-et az adott hullámhosszúságú fényt is tartalmazó fénnyel megvilágítunk, akkor a LED feszültséget generál. Néhány egyszerű kapcsolásban (ezek leginkább játékra valók) fel is használtam. (Tr. bázis-emitterdiódáját nyitni vagy zárni lehet a fényerősségváltozás hatására - közelítésérzékelő, hanggenerátor frekvenciamódosítása, stb.) Ugyanakkor ez a feszültséggenerátor gyakorlatilag 0 áramot képes leadni. Multiméter az alsó méréshatáron jelez valamit (1-3 uA-t), de ez nyilván értékelhetetlen. A feszültséggenerálás a belső fotoeffektust mutatja. Ugyanakkor a LED normál működésben fotoemissziót végez. Ha ezt a hatást le akarom választani, akkor ki kell küszöbölni minden áramot. Érzésem szerint ez azt jelenti, hogy nA-es tartomány alatt kell tartani. Ha a fényerősség (fényintenzitás) relatív változását tudom mérni (erre van ötletem, de még itt is lehetnek buktatók), akkor például ki lehetne mérni a Planc-állandót. (Későbbi terveimben az elektronok energiaeloszlásának vizsgálata szerepel, de ettől még nagyon messze vagyok.) A teljes mérés eredményeként 1 % pontosságot szeretnék elérni, ezért az egyes mérési komponenseknek messze ez alatt kell lennie. Persze ez csak vágy egyelőre. Tápnak ilyen méréshez zavarmentes elemeket gondoltam. Az eddigi méricskéléseim során a bemenetekre 1 nF-os kondit tettem, ez elég jó volt az ingadozások csillapítására. Ugyanakkor rá kellett jönnöm, hogy az árnyékolás a legnagyobb probléma, a zavarjelek döntő többsége a mindenütt jelenlévő elektromágneses hullámok miatt következik be. Még nincs ötletem arra, hogy hogyan tudnám megmérni az árnyékolás jóságát, vagy hogyan lehet kompenzálni. Esetleg a mérőkapcsolás leválasztaná a váltakozó feszültség-komponenst, és ezzel minden ilyen probléma megoldódna. Sajnos még ez ügyben is vannak ismeret hiányaim. Arra már rájöttem, hogy a fent említett pufferkondis megoldás nem igazán jó, mert ez integráló tag, amivel a zavarjelek időbeli átlagával nagyobb feszültséget mérek, amely enyhén szólva kiértékelhetetlen eredményre vezetne. Hát röviden ennyit. Bármi ötleted van, szívesen fogadom. Üdv: Göndör
A chopper-stabilizálásról: angolul, vagy csak alapelv szintjén, magyarul (3.14-es fejezet).
A ledekről tehát felfedezted, hogy visszafelé is működnek . Láttam már kapcsolást a neten, amelyben kifejezetten ledet használtak fotodiódaként."Ugyanakkor a LED normál működésben fotoemissziót végez. Ha ezt a hatást le akarom választani, akkor ki kell küszöbölni minden áramot." Nem teljesen világos számomra, hogy mit szeretnél pontosan. Hogy jön a képbe a fotoemisszió detektorként, amikor nulla, vagy záróirányú előfeszítést szokás alkalmazni? A kialakuló fotoáram mindenképp a nyitóirányú árammal ellentétes hatású. Záróirányú előfeszítésnél pedig megvilágítás nélkül is kialakul egy kevés áram (a sötétáram), amely dedikáltan fényérzékelő diódáknál minimum nA-es nagyságrendű.
"Hogy jön a képbe a fotoemisszió detektorként, amikor nulla, vagy záróirányú előfeszítést szokás alkalmazni?"
Ezt meg én nem értem. A fotoemisszió nem detektor. Az a kérdés pedig, hogy milyen előfeszítést szoktak alkalmazni, teljesen lényegtelen számomra. Egyébként meg azt sem értem, hogy mihez szoktak záróirányú előfeszítést használni. Én úgy képzelem, persze lehet, hogy rosszul képzelem, hogy ha megvilágítás esetén egyensúly alakul ki, akkor a "vezetési sávba" átkerült elektronok számával arányos Coulomb-feszültség alakul ki. Ha ez igaz, akkor a megvilágító fény intenzitásváltoztatásából és a létrejövő feszültségből, valamint a fény hullámhosszából ki lehet számolni a "kilépési munkát" és a Planc-állandót. A fény hullámhossza meg nyilvánvalóan megegyezik a LED emissziós fényének hullámhosszával, amit az adatlapja tartalmaz, vagy optikai módszerrel lehet megmérni. Az irodalmat köszönöm. Üdv: Göndör
"A fotoemisszió nem detektor."
Ez igaz. Csakhogy Te gyakorlatilag detektorként használod azt a ledet, mivel a megvilágítás hatására kialakult üresjárási feszültségét ill. rövidzárási áramát vizsgálod. Ezek pedig fotodiódákra jellemző adatok. Ha jól tudom, megvilágítás pontos mérésére nem a kialakuló üresjárási feszültséget, hanem a záróirányú előfeszítéskor kialakuló fotoáramot szokás mérni, mivel az a fotodiódák esetén jellemző katalógusadat (spektrális érzékenység, [A/W]). De ehhez az említett sötétárammal kompenzálni kell. Az általad elképzelt méréssel szvsz. az a baj, hogy egyrészt a detektor jellemzői nem állandóak (a sötét- és fotoáram, rétegkapacitás pl. előfeszítéstől és hőmérséklettől is függ), adott típuson belül is jelentősen szórhatnak, másrészt olyan paraméterek jönhetnek a képbe, amelyeket egy fotodióda esetén jó eséllyel talán megtalálsz, egy lednél viszont nem. Az előbb említett jellemzőkön túl pl.: érzékelő területe, kvantumhatásfok, spektrális karakterisztika, egyebek.
Kedves And!
Mindenben igazad van, de másról beszélsz. Az általad említett problémák mind az árammal függnek össze. Már kétszer leírtam, hogy minden áramot szinte a 0-ra szeretnék lecsökkenteni éppen azon okoknál fogva, amiket te is felhozol. A rövidzárási áramot csak azért írtam, mert volt egy korábbi kérdés a mérendő dolog belső ellenállására vonatkozóan. A mérés során üresjárási feszültséget, pontosabban elektromotoros erőt kívánok mérni. A szokásos mérés, amire te utalsz, az elsősorban fémek fotoeffektusáról szól, a középiskolások is ezt és csakis ezt tanulják, és valóban a fotoáram megindulását akadályozó maximális záróirányú feszültséget kell ilyenkor mérni, mivel éppén ez adja elektronvoltban a fémből való kilépési munkát. Egy optikával, főleg lézeroptikával foglalkozó kutató fizikust kérdeztem meg még régebben arról, hogy mennyiben elfogadható az a modell, amely leegyszerűsítve azt mondja, hogy a félvezetőkben lejátszódó belső fotoeffektus lenyegi külöbséget nem jelent a fémes fotoeffektushoz képest, mindössze az a különbség, hogy az elektronok a fémből nem a szabadba, hanem egy másik belső energiaszintre kerülnek. Igy a fotoegyenlet lényegét tekintve továbbra is érvényesnek mondható. Ezt az egyszerűsítést elfogadhatónak találta középiskolában. Próbálj elszakadni a mérnöki gondolkodásmódtól- szempontoktól, és helyezd magad egy fizikatanári, illetve középiskolás nézőpontjába! A Planck- állandó mérése c. mérés nem arról szól, hogy nagyon sok leegyszerűsítéssel nagyon rosszúl megmérjünk egy olyan állandót, ami a függvénytáblázatban 12 jegy pontossággal megtalálható, hanem hogy jelenségeket, törvényszerűségeket meggyőzően bemutassunk. Két vagy három évvel ezelőtt az OKTV (országos középiskolai tanulmányi verseny) döntőjében volt egy Planc-állandó mérés a LED nyitókarakterisztikájának mérésével, ami ha jól emlékszem kb. 60%-os hibával ment, és az értelmezés körül is voltak aggályok, ennek ellenére a Tudományos Akadémia is helybenhagyta a kísérletet. A TA azóta már kétszer írt ki atomfizika témájú kísérletekre pályázatot, de az előbb említetten kívül gyakorlatilag semmi használható nem született. Vagy speciális műszereket igényelt, ami az iskoláknak beszerezhetetlen, vagy olyan ismeretanyagot feltételezett, ami köszönő viszonyban sincs a középiskolai tananyaggal, vagy egyszerűen bugyutaság volt a mérés. Tehát abból kell kiindulni, hogy egy középiskolás csak a fémek fotoeffektusát ismeri, mint elméletet, és az iskolákban szinte semmi pénz sincs új eszközök beszerzésére, kifejlesztésére. Az iskolák nagy részében még mérnöktanárok sincsenek, akik tudnának segíteni ilyen jellegű problémákban. Tehát a mérés elve a klasszikus fotoegyenlet, a mérőeszköz rendkívül olcsó és egyszerűen összeállítható kell, hogy legyen, s az egész működése egy középiskolás számára átlátható, követhető kell, hogy legyen. Hát ezek a szempontok a magadfajta mérnökember számára nem látszanak kibékíthetőnek. És én még ráadásul egy 1% körüli hibát akarok csak! Szerintem az általad említett hibaforrások nagyságrendjét nem jól becsülöd meg. Ha nem árammal mérünk, hanem statikus feszültséget, akkor a modellből eredő hiba nem lehet ennél nagyobb. Igy például a spektrális eloszlásból eredő hiba a monokromatikus fényhez képest olyan kicsi, hogy szóba sem érdemes hozni. Nemrég egy zöld színű LED adatlapját néztem, s azon 3-5 nm-es szórás volt látható. Fényintenzítást pedig nem akarok mérni (ez önmagában is nagyon nehéz), csak relatív intenzitásváltozással dolgoznék, Ja, és még egy dolog. A LED azért jó, és nem valami más: fototranzisztor, stb., mert ott egészen nyilvánvaló egy gyerek számára, hogy a fotoeffektus és a fotoemisszió lényegében ugyanaz a jelenség két irányból. És még egy dolog. A tankönyvekben szereplő fotocellát MO-on nem lehet kapni, állítólag 20 éve nem is gyártanak, LED-ről, tranzisztorról minden gyerek hallott, de a tankönyvekben félvezetőkről szinte semmi sincs. Hát ez is egy tarthatatlan helyzet a XXI. században! Ha megértetted a nagy-nagy problémát, és szívesen adsz tanácsot, azt örömmel fogadom. Üdv: Göndör
Mostmár kicsit világosabb a dolog. Mivel nem vagyok fizikus, utánanéztem annak a bizonyos nyitóirányú karakterisztikás mérésnek. Talán erre gondoltál, bár ennél a leírásnál a mérési hiba 12%-on belülire adódott. Láttam egy másik módszert is, de látszólag ennek sincs köze a detektor üresjárási feszültségéhez (vagy az megegyezik a mérési módszernél leírt "ellenfeszültséggel"?). Az üresjárási feszültséget leíró alapösszefüggés pedig tartalmazza a sok bizonytalansággal terhelt rövidzárási fotoáramot és a telítési áramot (=sötétáram?), ill. ezek arányát.
Ha már a hullámhosszt említetted, akkor azzal kapcsolatban több megjegyzésem is lenne: a ledek csak névlegesen monokromatikus fényforrások, a valóságban nem igazán. Nem tudom, az általad említett 3..5 nm-es 'szórás' mit jelent, típuson belüli bizonytalanságot, hőfüggést, vagy épp spektrális eloszlást, mert utóbbi értéke ledeknél - félteljesítményű határokra vonatkoztatva - tipikusan 20..50 nm értékű, ráadásul az emittált fény hullámhosszának domináns és csúcsértéke között jelentős különbség, akár 20nm is lehet. Ha 'valódi' monokróm forrásra van szükség, akkor inkább valami olcsó (félvezető) lézerre szavaznék, annak valóban igen keskeny lehet a sávszélessége.
Valószínűleg arról a mérésről van szó, amit találtál. Én valakitől 50-60% hibát hallottam, és láttam is ilyen mérési eredményeket, amiből kb. ennyi jön ki. Ha 12%-ot mondanak, akkor az "szépített" eredmény. A nyitófeszültség megállapítására az volt a módszer, az eljárás, hogy vonalzót kellett illeszteni arra a görberészre, ahol már "eléggé egyenesnek látszik", és ahol ez az egyenes metszi a feszültségtengelyt, az lesz a nyitófeszültség. Gondolom, hogy rajzoltál már nyitókarakterisztikát, úgyhogy nem kell ecsetelnem, mennyire bizonytalan a javasolt módszer. Ráadásul úgy tudom, csak 15 mA-ig mértek. Szóval ez a 12% nem is volna túl rossz, de erősen megkérdőjelezhető.
A spektrális eloszlásnak utánanéztem, rosszul emlékeztem: nem 3 nm, hanem 30 nm körüli a szórás. A szórás alatt a statisztikai szórást értettem. (Normális eloszlásnál a szimmetriatengely és az inflexiós pont távolsága a szórás értéke. Ez ugyan nem normális eloszlású, de becslésnek elfogadható.) Az én kísérletötletem elvileg pontosabb eredményt kell, hogy adjon, mint ami volt az OKTV-n, de a részleteken nagyon el lehet bukni. Multiméteres méricskéléssel a gerjesztett feszültség eléggé négyzetesen csökkent a fényforrás távolságával, persz csak sötétített szobában. De a multiméternek nincs elég nagy belső ellenállása ahhoz, hogy a kapott feszültségértékeket reális értékeknek tekintsem. Ezért gondoltam a műv. erősítős megoldásra. Ha működne a mérés, az nagyon szép lenne, mert nincs benne olyan bizonytalanság, mint amit az említett grafikus módszer okoz. Tisztán mérési értékek, semmi sumákság. Vagy jó eredményt ad, vagy el kell felejteni az egészet.
Elfelejtettem mellékelni azt az eloszlást, amit adatlapban találtam. Itt van. Látható, hogy a medián és a módusz egybeesik. (a max. intenzitású hullámhossz az átlagintenzitású hullámhosszal) Szóval ilyen LED-ek is vannak, ezekkel érdemes mérni.
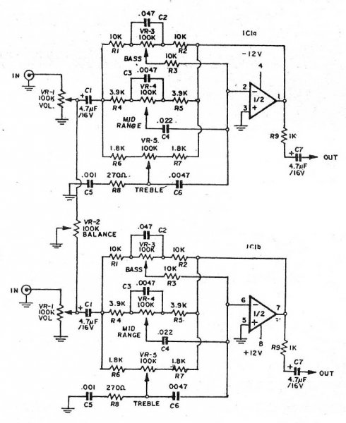
Szevasztok! Az lenne a kérdésem hogy a következő kapcsolás működőképes lenne e +-16V-ról elméletileg +-20V-ig mehet csak hát a mai világban már semmi sem biztos
Ha érdekel valakit akkor még csatolok 1-2 rajzot. Az utolsó az amit megépítettem.
Ja és még valami, a .033 és a .0033 - as kondik azok milyenek mert ezt azu átváltásos kondiábrázolásos részt nem igazán vágom ...... és kösz az ötletet.
Hello!
Találtam egy kis érdekességet a témában, nem tudom, segít-e valamit az előrehaladásban. LINK Az érdekesebb részt a 90. dia környékén találtam.
0,033μF = 33nF
0,0033μF= 3.3nF így szokott lenni. :yes:
hali van egy kis gond ha az előfokra ráadom a mélyet akkor torzít ha leveszem akkor meg sok a közép (a búgásról nem is beszélve gondolom a trafónak az 50Hz-ce lehet. Nincs nagyon mexűrve 2db 1u-s kondi van benne próbaképp) Ha esetleg logaritmikus potikat kaptam attól torzíthat? A fent említett rajzról van szó és +-16V-ról üzemel.
Igaz, annál a ledtípusnál az adatlap szerint is mindössze 1 nm a különbség a domináns/csúcs hullámhosszak között. Arról meg nem sok elképzelésem van, hogy a ledekre általánosan jellemző nem túl keskenysávú spektrum visz-e valamilyen hibát a mérésbe.
Már eléggé elkanyarodtunk az eredeti témától . Hogy ahhoz is szóljak, szerintem e méréshez nincs feltétlenül szükséged a három fokozattal kialakított mérőerősítőre. A led katódja gond nélkül közösíthető az erősítőfokozat kettős tápjának 0V-os ágával, a megvilágítás hatására kialakuló pozitív anódfeszültség pedig egyetlen fokozattal, célszerűen neminvertáló alapkapcsolással erősíthető (vagy egyszerűen csak követhető, hogy a fokozat kimenetére kapcsolt, nagyobb felbontású multiméter és a diákok számára is könnyedén 'emészthető' maradjon, közvetlen leolvasással). Az automatikus ofszetkompenzálás okán a chopperes kivitelhez érdemes ragaszkodni, az erősítés értékét (ha az nem 1x-es) beállító ellenállások nagyságrendje párszor 10kΩ lehet.Az előző hozzászólásom elszúrt linkjeinek javításáért köszönet az illetékes moderátornak.
Szerintem neked más módszerrel kellene mérned, nullkompenzálással. Bármilyen nagy belső ellenállású műszerrel mérsz feszültséget, mindig áramot mérsz, csak legfeljebb nagyon kicsit. Ha neked az a problémád, hogy 0 árammal szertnél mérni, mérj 0 áramot!
Egy sima multiméterrel is lehet úgy mérni, mintha az 500 MOhm-15 GOhm belső ellenállású lenne. Kell hozzá egy változtatható feszültségű feszültséggenerátor, amit könnyű csinálni. A multimétert a mérendő feszültség és a feszültséggenerátor közé teszed, és a különbségi feszültséget méred. Mikor az 0, akkor megegyezik a két feszültség, és nem terheled a mérendő feszültséget semmi árammal. Annyival terheled, amennyi a 0 mérésekor a műszer hibájából adódik. Tehát ha 100 mV mérésekor igazából van 1 mV különbség, akkor a 10 MOhm-on 1 mV hatására átfolyó árammal, 0,1 nA-rel terheled. Ez akkora terhelés, mintha "sima" feszültségméréskor a multimétered 1 GOhmos belső ellenállású lenne. Nagyobb feszültség, pl 1,5 V esetén pedig olyan, mintha 15 GOhm-os lenne a feszültségmérőd. OFF (Egyébként pedig milyen jó neked, hogy már csak ilyen "ínyenc" problémákkal kell foglalkoznod. Érettségizett gyerekenek nekem először az OHM (a fórummotor miatt nagybetű) törvényt kell megtanítanom, azon meg már meg sem lepődöm, hogy 0,1-gyel osztani csak számológéppel tudnak, az egyenletrendezés pedig óriási probléma.)
(A fórummotor csak átírta omegára, hiába írtam nagybetűvel)
Tegnap kíváncsiságból megmértem, hogy nagyságrendileg mekkora lehet ez a forrásimpedancia, amelyen a nyugalmi fotofeszültség megjelenik. Az alany egy extrém nagy optikai teljesítményű (állandó 500mA-es áramot elviselő) IR-LED volt. A rövidzárási fotoárama 30-40uA is volt, ha egy 40W-os izzó közelébe tettem. 840mV-os feszültségnél az eredmény kb. 200kΩ, 175mV-nál pedig kb. 15MΩ lett, így utóbbi értéket a DMM alapból minimum megfelezte
. Szerintem egy mosfet-bemenetű opamp 1000GΩ-os DC bemeneti ellenállása csak elegendő lesz ehhez.
Sokféle megoldás lehet. Volt kollégám elektrosztatikai kísérletekhez keresett nagyon nagy bemenő impedanciás megoldásokat vagy 10 éve, már nem emlékszem mivel oldotta meg. Azóta pedig sokkal több új, jobb megoldás is elérhető.
Norbertó!
Ez az anyag nem piskóta! Az ajánlott rész optikai jelátvitellel foglalkozik, ha jól értem, és ezért veszi Poisson-eloszlásúnak az elektronkibocsátást. Ezt később bizonyítja is. Ez az eloszlás kizárólagosan "mozgásban lévő" elektronok esetén érdekes. Én fenomenologikus értelemben statikus állapotot mérnék, tehát ennek az állapotnak a statisztikus eloszlásai lehetnek érdekesek. Sajnos nekem erről a területről (statisztikus fizikai sebesség- és energiaeloszlások) használható tudásom semmi nincs. De szerintem kár is lenne belemenni, úgyis csak az energiaeloszlásból eredő hiba ismerete lenne fontos, ha ez valóban számottevő. Az anyagot azért elmentettem, köszönöm.
And!
Akkor nagyon egyet gonolunk: ennél a mérésnél a 3 műv. erősítős kapcsolás fölösleges, elég az általad is javasolt chopperes javítás. Tulajdonképpen ez adta meg a választ a felvetett kérdésre. Egyébként azt a mérési módszert követtem (egyelőre nem LED-del, hanem fesz. generátorral előállított jellel), amit most mondasz, azzal a módosítással, hogy közönséges 12V-os tápot használtam, szinteltolást végeztem a táp katódjához 2V távolságra, és természetesen kiszámoltam előzőleg a szinteltolásból származó korrekciós tagot (hibát) is. Még e korrekciós tag figyelembevétele nélkül is tartható az 1%-nál kisebb mérési hiba. (A szinteltolás révén 8V kivezérelhető feszültség állt rendelkezésre, ami 4-5-szörös erősítést tesz lehetővé.) Szóval ezek mind rendben volnának, csak az ofszetkompenzálást nem tudtam megoldani a már többször leírt kívánalmak szerint. "Arról meg nem sok elképzelésem van, hogy a ledekre általánosan jellemző nem túl keskenysávú spektrum visz-e valamilyen hibát a mérésbe. " Biztos visz be hibát, de hogy milyen módon, mekkorát, arról nekem sincs egyelőre semmilyen elképzelésem. Úgy érzem, hogy ha az eloszlás olyan szimmetrikus és annyira keskeny, mint a feltett LED-nél, akkor ez a hiba nem lesz számottevő. Ezt azért majd megkérdezem attól a fizikus ismerősömtől. Ha Te vagy valaki más, akit szintén érdekelt ez a téma talál olcsó, könnyen kezelhető, stb. alkatrészeket, technikai megoldásokat, jó lenne, ha itt közkinccsé tennétek. Persze minden más ötletet, esetleg negatív kritikát is szívesen veszek. Üdv: Göndör
Okos dolgot mondasz, de erről a nullkompenzálásról vagy más néven ellentér-módszerről már volt itt korábban szó. Karpival beszéltünk erről. Mégegyszer át fogom gondolni alaposan, hogy ez a módszer milyen módon emelhető be a mérésbe. A fizikai állapot ugyanis eléggé különböző a két esetben. Az én módszeremnél csak 1 feszültséggenerátor van, ez a LED, áram azért nincs, mert végtelen nagy az ellenállás, egyensúlyi szempontból pedig a fotoáram "nyomása" tart egyensúlyt a magasabb szintre került elektronok Coulomb-potenciáljával. Az ellentér-módszernél van egy másik generátor is, ami "visszanyomja" a kilépő elektronokat, tehát megakadályozza a fotoemissziót. Szóval ezt nekem még alaposan át kell gondolnom.
Javítás: nem fotoáram, hanem fotonáram, nem fotoemisszió, hanem fotonemisszió.
Hat en mar nem emlekszem miket tanultam/halottam ezekrol a dolgokrol.
Azt olvastam egy rovid cikben hogy a LED-ek Photovoltaic -Effect vagy "mod"-ban mukodtetve aramot generalnak .Meg azt is hogy a LED a sajat kibocsajtott szinen erzekeny mikor fenyerzekelo modban hasznaljak es esetleg rovidebb hullamhosszusagu fenyen. Ha nem olvastad volna az egyik cikk: LED as light sensor a masik :Photodiode ..meg a szokott rengeteg "related-link" . Mindenesetre a nagy impedancias meresnel jo elektromagneses arnyekolas kell ( a meroerosito kapcsolas is kulonleges kivitelu a kis zaj es zavarszures erdekebe ), azonkivul a LED -ek es altalaban a felvezetok erzekenyek meg mas hullamhosszu sugarzasokra is pld: X ,DUV,IR ami talan meghamisitja a merest. Megmertem kivancsisagbol egy feher LED altal generalt feszulseget. Egy feher LED-es 4W-os lampaval megvilagitva ugy 0,04V aztan egy lampanak a 16 parhuzamossan kotott LED-jet mertem evvel 0,14V-ot kaptam. Harom sorbakotott LED 0,055V a megvilegitasi szog amenyire birtam kb ugyanaz volt mind a harom LED-nek. Jobb eredmeny lett a parhuzamos vagy soros kapcsolas eseten ha nem " fokalizalt lencses" LED-eket merek mert ezek iranykarakterisztikaja eleg eles. Ha tudjuk a meromuszer belso ellenalasat akkor megvan az aramerosseg is .Ha 10MOhm-al enyit mertem akkor 100 Mohm -al menyi lessz.Valahogy meg kene tudni a "generator" belso ellenallasat is. Meg gondolom kene legyen egy max. felso hatar feszultseg mint a tobbi "elem" meg akku eseteben ( 1,5V ; 1,4V ; 1,2 V ).
A zajvédelemmel, árnyékolással egyetértek. Eleve a forráshoz a lehető legközelebb kell helyezni az erősítőt, és jó minőségű, 100pF-os nagyságrendű simító kondenzátor is szóbajöhet az erősítő bemenetén.
Ha a led háza nem színezett, akkor valóban szélesebb sávú fotodiódaként fog működni. Méréskor a környezeti fényt gondolom ki kell zárni, ez nem lehet nagy probléma. A forrásimpedancia a led nyitóirányú karakterisztikája alapján számolható, így a feszültségtől függően erősen nonlineáris lesz. Az alacsony feszültségű tartományban a nanoamperes áramértékek miatt erősen megnövekszik. Úgyhogy azok a néhányszor 10mV-os mérési eredmények már valószínűleg erősen leosztott értékek voltak, ha a mérést hagyományos DMM-mel végezted.
üdv a trafó amiről hajtom 2x15V 2x116mA -es Makrai féle. Leheséges hogy a mélyhangokra "elfogy az áram"? Bemenő jel nélkül +-15,97V-ot mérek, ha van bemenő jel akkor ütemre leesik a fesz +-15,7 -re. Lehet hogy az IC ezt nem szereti? Itt egy fájl körülbelül így szól.
|
Bejelentkezés
Hirdetés |






. Láttam már kapcsolást a neten, amelyben kifejezetten ledet használtak fotodiódaként.
Ha érdekel valakit akkor még csatolok 1-2 rajzot. Az utolsó az amit megépítettem. 



. Hogy ahhoz is szóljak, szerintem e méréshez nincs feltétlenül szükséged a három fokozattal kialakított mérőerősítőre. A led katódja gond nélkül közösíthető az erősítőfokozat kettős tápjának 0V-os ágával, a megvilágítás hatására kialakuló pozitív anódfeszültség pedig egyetlen fokozattal, célszerűen neminvertáló alapkapcsolással erősíthető (vagy egyszerűen csak követhető, hogy a fokozat kimenetére kapcsolt, nagyobb felbontású multiméter és a diákok számára is könnyedén 'emészthető' maradjon, közvetlen leolvasással). Az automatikus ofszetkompenzálás okán a chopperes kivitelhez érdemes ragaszkodni, az erősítés értékét (ha az nem 1x-es) beállító ellenállások nagyságrendje párszor 10kΩ lehet.
. Szerintem egy mosfet-bemenetű opamp 1000GΩ-os DC bemeneti ellenállása csak elegendő lesz ehhez.





