Fórum témák
» Több friss téma |
ennél a tápnál a műveleti erősítő és a két kondi soros kapcsolása állítja be a féltápot, ami "virtuális" test. amit építettem abban csak 2X2200 mikró volt, igaz csutka hangerőn befulladt egy kicsit a végfok, ezért jobb a nagyobb kondi. végül is ez "majdnem" kondis kicsatolású erősítő mivel a jelet a hangszóró csak kondin keresztül kap. nem lehet olyan, hogy a hangszóróra egyenáram menjen ki. előnye hogy csak egy tekercs kell a trafóra, néha csak ilyet tudtunk szerezni. nem koppan bekapcsoláskor, mert amíg be nem áll az egyensúly addig a hangszórón nem folyik áram. erre a kapcsolásra úgy jöttem rá, hogy egyszer elfelejtettem bekötni a trafó közepet, és szépen működött az erősítö. mikor észrevettem a hibát akkor csak lestem, de hamar rájöttem hogy a két kondi mint feszültségfelező működik, a műveleti erősítő pedig stabilizálja a null pontot. a féltáptól való eltérés a műv.er. ofszet feszültsége, ami 10mV nagyságú max.
további előnye hogy csak egy bizti kell és ha az kiolvad akkor mindkét táp megszakad. jártam úgy (kettőstápnál) hogy nem figyeltem, és az egyik gyors bizti volt a másik meg lomha. az eredmény kesernyés amperszag.....szóval: a tápágakba csak egyforma, lehetőleg vadiúj biztosíték, ha pedig az egyik kiég akkor mindkettőt cserélni vacsi újra!
Én ezt a panelt terveztem 2 biztivel, de rájöttem hogy érdemes módositanom ,mert a biztiket jobb ha a kondik után rakom be. Nem?
Ha esetleg valami gebasz lenne, megszakitja az áramkört, és a kondiban felgyült "áram" se folyik tovább.
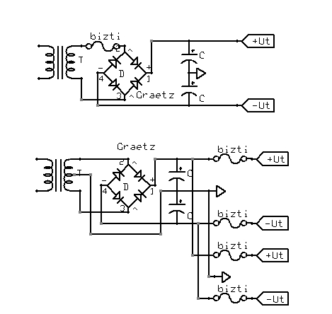
a graetz elé rakd a biztosítékot, és csak egyet, ennél a tápnál. ha kiolvad úgyis megszakad az erősítő tápellátása mindkét ágon.
viszont! ha így építed meg akkor bármikor átalakítható "igazi" kettős tápra, csak a trafó középkivezetését kell a GND-re kötni! Idézet: mindegy hova rakod a biztiket, mert az áramkör szempontjából tök mindegy! akkor jársz jól ha a graetz elé rakod be azokat, mert így az egyenirányító híd hibájára is leold!„mert a biztiket jobb ha a kondik után rakom be” ha meg füstöl a végfok akkor a kondik áramánál nagyobb folyik..........
itt van két rajz a tápról! van középkivezetéses trafóval és anélkül. az első rajz a középkivezetés nélküli. itt a Graetz kör elé tedd a biztosítékot! a második rajz azt ábrázolja, ha a tápodat kettős tápként akarod (majdan...) üzemeltetni. itt a kondik után és csatornánként 2(!) biztosíték kell. a tápegység védelmét a bejövő 230V-os hálózatra kötött biztosíték adja.
Sziasztok aszt szeretnem kerdezni hogy ez hany voltra van ez az erősitö?
nem tudtok olyan erositot ami 12 voltra megy engem nem erdekel hany vatos csak szoljon?
A kérdés a következőképpen illene feltenni. Sziasztok! Szeretnék egy egyszerű, 12V-ról működő hangerősítőt készíteni. A rendelkezésemre álló hangdobozok X wattosak, Y impedanciával. Köszönettel. -dibuska -szamóca
Köszönöm a tippeket. Meg is terveztem az elmondásod szerint a nyáktervet.
Azért nem terveztem rá (most) több biztit, mert a végfok paneleken fogom elhelyezni. Bár lehet hogy ráérős szabadidőmben áttervezem a nyákot.
Igen nyugottan beteheted a TL 071 helyett azNe5534 Et hiszen ez single vagyis szóló! Még talán jobban is fog szólni !
Köszi. Már összeirtam az alkatrészlistát, hétfőn beszerzem, aztán már csak idő kell és türelem
Remélem.
Sziasztok!
Szeretnék egy egyszerű, 12V-ról működő hangerősítőt készíteni. A rendelkezésemre álló hangdobozok X wattosak, Y impedanciával. Köszönettel.
Szia: nem jó helyen vagy ! Az előző hozzászólásban már betetek neked egy linket nézd talán meg azt , az egy kezdőnek nagyon megfelelő erősítő ! a Tda 2003 -as ic vel ez működik sima 12voltal !
En egy kisebb hi-fi-ből szeretnék egy erősitőt késziteni a radio neve condor es 12V ra szeretnem rakotni egy sima 12V-os trafóre ami 50Hz es 35mA 12V_ _300mA ha valaki készitat ilyet vagy tud segiteni az kerem segitsen.
300mA erősítőnek nem jó, legfeljebb füleshez.
Ráadásul ehhez két 12v-os trafó kéne
Úgy menne, de nem lenne nagy a teljesítménye.
Nekem nem is kell hogy legyen olyan nagy teljesitmenye 2-12v-os trafom van is csak abol a condor radiobol szeretnek egy x-w os erositot ha valaki tud segitsen.
Tegyél, fel képet a két trafóról, megmondjuk, hogyan kösd be tápegységnek, a topikban visszaolvasva találsz texas kapcsrajzot, leírást, nyáktervet. Azt megépíted. A tápegységben segítünk, és mehet bele a rádióba (Ha belefér) Tegyél képet a rádióról is
sziasztok.
abban kérném segítségeteket, hogy megépítettem ezt a végfokot, de az eredetitől annyi különbséggel, hogy az IC TL071, BC 301 303, BD 249c 250c és a nyugalmi beállító tranyó helyett bd139 et használok. mindent összeraktam és sokszori ellenőrzés után az élesztés nem sikerült, nagy árammal indult 1.2A el függetlenül a poti helyzetétől. tápfesznek az élesztéshez +-12 V ot használtam ez lehet gond ?, mert ugye C-s tranyókkal én +- 30 V ról szeretném majd járatni, csak sokan irtátok, hogy élesztéskor célszerű kisebb tápfeszt alkalmazni. képeket még nem tudtam csinálni, de ha lesz felteszek róla azt is,válaszokat köszönöm.
Szia. Azt irták hogy bd139 140 tranyókkal is müködnie kell. Én is azzal szeretném megcsinálni, most van folyamatban.
Próbáltad nagyobb tápfesszel inditani?
hello.
hát nagyobb tápfeszel még nem próbáltam, de ma sor kerül arra is, majd leírom a tapasztalatokat meg teszek fel fotókat is hátha én néztem el valamit.
Ennek a kapcsolasnak +-12V-al is mukodokepesnek kell lennie, de arra figyelj hogy ilyenkor nem kell bele a muv. erosito tapfeszenel a 2 zener es elotetellenallas!!! Tovabba figyelj a BD139 bekotesere illetve ellenorizd a ny.aram allito poti bekoteset is!
na megvolt a nagyobb feszes próba, névszerint +-30V, ugyanaz a tünet továbbra is, hogy indításkor nagy árammal indul most már gondolom a tápfesz értékével arányosan 3A és attól fölfele szalad meg. csináltam képeket is, ha esetleg valakinek van valami észrevétele azt díjaznám ha közzé tenné, mert én megint csak átnéztem a nyákot, meg mindent és nem jöttem rá mi a bibi.
köszönöm.
Mindket erositonel megvan ez a problema?
megnézem a bázis emmitert és írók majd hogy az volt e a gond, egyébként nem tudom hogy mindkét vég ugyanezt produkálja e mert csak az egyik véggel próbálkoztam gondoltam ha az egyik jó akkor jöhet a másik.
A BD 139 140 lábkiosztásával egyszer én is megjártam. "forditva" van mint ahogy az ember várná. Nézd meg az adatlapjukat. Itt is találsz a HE-n.
Szia! Nézetm a képeket az erősítődről. Ha a kis BD jól van bekötve akkor lehet gerjedés. Nem láttam a hűtőbordát hogy testelve lenne. Ez az erősítő kényes erre,ha a hűtőborda nincs testelve akkor még szigetelt végtranyóknál is a kimenet kapacitívan a hűtőbordán van és visszapofázik a bemenetre. A hűtést mindig az erősítő testpontjához kapcsold kipróbáláskor, de ellenőrizd nincs e valamelyik tranyónál testzárlat! (rámérsz a kollektorokra meg a hűtőbordára)
Ha nyákon van hiba akkor tedd fel a nyákrajzot beültetéssel, úgy hogy a beültetés felől látszódjon a nyákrajz is, akkor le lehet ellenőrizni. Több szem többet lát alapon! Ide már tettem fel olyan nyákrajzot ami tuti nem gerjed. |
Bejelentkezés
Hirdetés |





ha így építed meg akkor bármikor átalakítható "igazi" kettős tápra, csak a trafó középkivezetését kell a GND-re kötni! 

Remélem.










