Fórum témák

» Több friss téma
Fórum » Frekvenciamérő
Lapozás: OK   10 / 75
(#) Frankye válasza greatman hozzászólására (») Dec 29, 2009 /
 
A kuka felé... (Bocs, nem bírtam kihagyni!)
Én két (pontosabban: három!) példányban megépítettem, minden esetben ugyan az volt az eredmény, mint Nálad. Próbáltam fém dobozba építeni, próbáltam telepről járatni, szinte minden, lehetséges és lehetetlen dolgot kipróbáltam már, de eredménye nem lett. Feladtam.
(#) gydanee válasza Frankye hozzászólására (») Dec 29, 2009 /
 
Nekem ilyen hibám van vele:Bővebben: Link Még nem volt időm utána járni a hibának, de nem egyedi a jelenség, többünknek produkálja ezt, pedig a PIC-be jól van beégetve a szoftver.
(#) Frankye válasza gydanee hozzászólására (») Dec 29, 2009 /
 
Igen, tudom. Nekem is produkált sokféle hibát, ilyet is, meg olyat is, amit greatman fórumtárs leírt. Volt, hogy 0 Hz és 1 Hz között ugrált, volt, hogy 1-10 Hz között, volt, hogy kHz és MHz tartományban volt, miközben a bemenet szabadon állt, szóval játszott mindent. Volt, hogy megállt a bejelentkező szövegnél, volt, hogy be sem akart indulni.
Áramkörileg többször ellenőriztem, kisípoltam multiméterrel, végigjátszottam vele szinte mindent. Két PIC-be is beégettem a programját, mindegyikbe többször is, cseréltem a FET-et, a tranzisztort, a kvarcot, mindent. Az ellenállásoknak 1%-os, precíziósokat használtam. Szinte minden alkatrészt újra és újra ellenőriztem, de semmi...
Feladtam. :bummafejbe:
(#) greatman válasza Frankye hozzászólására (») Dec 29, 2009 /
 
Ja. Végül is egy PIC már kikötött benne. Lehet tényleg ott köt ki az egész. Azért még próbálkozom, igaz a kiskutya is arra ....
Holnap még megpróbálom elszeparálni a kijelző közeléből a panelt egy szalagkábellel és meglátom mi lesz. Az igazság az, hogy gyanús a 74HC132. Ugyanabból a szériából van. Meg még mindig azt nem értem, hogy az első PIC mitől feküdt ki. No mindegy, majd lesz valahogy.
(#) Frankye válasza greatman hozzászólására (») Dec 29, 2009 /
 
Szalagkábelről csak annyit: Próbáltam különálló vezetékekkel, és próbáltam "szivárvány" szalagkábellel. Próbáltam IDE kábelből készülttel, és próbáltam valami, ismeretlen típusú szalagkábellel is, de mindegyikkel ugyan az volt a helyzet.
Azért remélem, hogy Neked sikerül összehoznod!
(Ja, és a 74HC132-ből eddig négy darabbal kísérleteztem, három forrásból. Az eredményt korábban leírtam.)
(#) gerenk válasza Frankye hozzászólására (») Dec 29, 2009 /
 
Sziasztok!

Nemtudom miért nem működik a Vycsis féle frekimérőtök,
én is megépítettemk, elsőre indult jól mér alapban 1 HZ-et jelez 50 megáig simán elmegy.
Egyszer leszakadt egy LCD-re menő adatvezeték, akkor
volt hogy csak sötét kockákat mutatott a karakterek helyett.
(#) gydanee válasza Frankye hozzászólására (») Dec 29, 2009 /
 
Érdekes, nem értem mi lehet a gond vele, a JDM programozók jutnak eszembe erről a dologról. (Mázlista vagy, ha jól működik) De hát sok fórumtársnak megy a cucc, szóval én még nem hagyom rá.
(#) Frankye válasza gydanee hozzászólására (») Dec 29, 2009 /
 
Én sem tudtam rájönni, mi a baja. Mondom, minden alkatrészt kicseréltem, a paneleket többször átnéztem, levizsgáltam. Kicsit olyan tényleg, mint a JDM programozó, de én feladtam több hónap küzdelem után, hogy valaha életet fogok tudni lehelni bele.
(Idő közben az ICD2 programozóm is megadta magát, a PICkit2-ben meg elszállt a PIC, amit tbence3 fórumtárs programozott fel nekem, így most még újraprogramozni sem tudom a PIC-et a frekimérőben... Majd januárban, ha megyek a Csipked-ékhez, veszek másikat...)
Apropos!
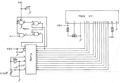
Találtam - talán e fórumban? - ezt a kapcsolást (melléklet). Megépítette már valaki? Esetleg tudja, hogy hol lehet beszerezni a benne lévő 11C90, és az ICM 7216B nevű alkatrészeket? Vagy hogy mivel helyettesíthetőek esetleg?
(#) greatman válasza gydanee hozzászólására (») Dec 29, 2009 /
 
Párhuzamos Oshon féle égetővel lett beégetve a PIC, mint eddig mindegyik PIC -em. Eddig sosem volt egyikkel sem gondom. Minden működött elsőre. De van Pickit2 -m is, csak az Oshonhoz volt adapterem készen, meg az volt kéznél. Kb. 0% -ot adok arra, hogy azzal lenne a gond, de majd beégetem újra a Pickit -el is.
(#) gerenk válasza Frankye hozzászólására (») Dec 29, 2009 /
 
Ne add fel ilyen könnyen, a PIC-es frekimérő után gondolni
sem szabad erre a méregdrága kapcsolásra.
Én a TAIT féle párhuzamos portos égetőt használom, a
16F84 és F628-hoz fix beforrasztott preciziós ic foglalatot
használok. Az LCM3 PIC-ét az F690-et is ezzel égettem,
csak akkor már kellett készítenem egy adaptert.
(#) gerenk válasza gerenk hozzászólására (») Dec 29, 2009 /
 
Az OSHON meg a TAIT ugyanolyan párhuzamos égető.
(#) erdgab hozzászólása Dec 29, 2009 /
 
Bocsánat,hogy beleszólok,csak szeretném megkérdezni,összekötöttétek a PIC 2. lábát a 74HC132 IC 2,12,13 lábával (?),mert az Vicsys panelrajzán is hibás és nem látom a javítást sehol.Csak apróság,de gondoltam szóba hozom.
(#) (Felhasználó 5823) válasza Frankye hozzászólására (») Dec 29, 2009 /
 
Sziasztok!

Én megépítettem és küllőre működött, miután rájöttem, hogy jdm-el ne Xp és ne P4 alatt szórakozzam. Egy P3-as gép 98-al és már fel is volt programozva a PIC. Csináltam az enyémről egy videót, bár még egy félkész projektbe van beépítve. Funciógenerátor MAX038-al. Ja azt hiszem jól látszik a videón a jelalak sem hatja meg! És egy Metex-el halálpontosan ugyan annyit mutat! Ja és még nyákot sem csináltam hozzá, mert épp Chemoztak lyukaspanelre raktam össze! Ja bocs a kupiért nem fotózásra készültem!Bővebben: Link

Ja még annyit az elején direkt kétszer kapcsoltam be, mert sokan panaszkodtak, hogy nem indul minden alkalommal!
(#) greatman válasza erdgab hozzászólására (») Dec 29, 2009 /
 
Felcsigáztál. Ki is szaladtam megnéztem, és valóban, nincs összekötve. Meg is örültem, gyorsan összeköt, bekapcs, ugyanaz. Semmi változás. 80 és 200 Khz között pörög a kijelző. Ha megérintem a bemenetet, akkor megáll ahol épp van. Letestelve a bemenetet pörög tovább.
(#) (Felhasználó 5823) válasza greatman hozzászólására (») Dec 29, 2009 /
 
A 74HC132 1-es lábát kösd le! nézd meg mit csinál! Onnan is mérni kell neki TTL szintű jelet, és mivel az ic elég érzékeny még annál kisebbet is! Haladj fokozatonként! A 74HC132 előtti alkatrészek csak az érzékenység növelése és szintillesztése céljából vannak azok nélkül is működik az áramkör! Az áramkör bemenetére tegyél egy BNC-t és rá egy szkópkábelt és nézd meg így is!
(#) greatman válasza (Felhasználó 5823) hozzászólására (») Dec 29, 2009 /
 
Ezt is próbáltam már. Igaz akkor még nem volt a PIC 2 -es lába bekötve. Majd holnap kipróbálom. Csak azt nem értem, hogy néztem már több fotót is állítólag működő műszerről, de sehol sem láttam, hogy a PIC 2 lábát bekötötték volna. A Vicsys által felrakott fotókon sem láttam.
(#) (Felhasználó 5823) válasza greatman hozzászólására (») Dec 29, 2009 /
 
Ha ezen múlik, én holnap kiberhelem a panelt (vagy fél óra) és lefényképezem! De akkor szóljál!
(#) (Felhasználó 5823) válasza (Felhasználó 5823) hozzászólására (») Dec 29, 2009 /
 
Megkeresetem az apját a kapcsolásnak! Itt van ez alapján adaptálodott! Nézd meg!
(#) greatman válasza (Felhasználó 5823) hozzászólására (») Dec 29, 2009 /
 
Köszi. Miattam azért ne szedd szét a műszered, elhiszem anélkül is. Majd átnézem az egészet még egyszer és majd meglátjuk. Az is lehet, hogy megépítem egy próbapanelra mégegyszer.
(#) (Felhasználó 5823) válasza greatman hozzászólására (») Dec 29, 2009 /
 
Na nagy nehezen megtaláltam az eredetit, ebben más a fet típusa!

1998-ban csinálta a hapsi!

weedfreq.gif
    
(#) (Felhasználó 5823) válasza (Felhasználó 5823) hozzászólására (») Dec 29, 2009 /
 
Mivel nem ir senki ezen jól látható, hogy a későbbi panel túl van egyszerűsítve ez okozza a gyermek betegségeket! Pl trimmer a kvarcnál, a h szint pontos beállítási lehetősége stb. Na ezek elmaradása okozza, hogy nem rezed be vagy csak immel-ámmal és össze vissza írogat. De ez akkor kiderült amikor a kapcsolás felkerült és egy fórumtárs jelezte mit kell máshova kötni!
(#) greatman válasza (Felhasználó 5823) hozzászólására (») Dec 29, 2009 /
 
Hű. Köszi nagyon. Szerintem holnap megépítem egy próbapanelra. Kíváncsi vagyok.
(#) (Felhasználó 5823) válasza greatman hozzászólására (») Dec 29, 2009 /
 
És gondold el én utálom a PIC-es kapcsolásokat, mondjuk ez jól működik de az akkoriban (3 évvel ezelőtt) létező lC mérőt is megépítettem na az aztán el is vette a kedvem tölük! Volt is vagy 5-10% a pontossága! Az fent is van a honlapomon:Bővebben: Link
(#) szendi001 hozzászólása Dec 29, 2009 /
 
Udvozletem Mindenkinek,

Az FM vevo 137 Mhz topic "mellektermekekent" osszeallitottam egy oszto aramkort mc12054-es smd IC-vel. Annyira jo tapasztalataim vannak, hogy szeretnem javasolni megepitesre az adatlapjan talalhato aramkort barkinek, aki magasabb frekvenciakon szeretne hasznalni a frekvenciamerojet.
En ezt a PIC-es modult hasznalom, 40 Megahertz-ig nagyon jol mer, tobb peldanyban elkeszult:Bővebben: Link
Ha az oszto elotte van GHz a limit. Olcso is es nem tul pici: bar smd, siman rament egy szikevel karcolt panelra. :yes:


Udv: Joe
(#) greatman válasza (Felhasználó 5823) hozzászólására (») Dec 30, 2009 /
 
Nos összedobtam az általad feltett eredeti kapcsolás alapján egy próbapanelra. Az erősítő fokozatokat még nem építettem meg, a 47nF -os kondi a bemenet. Illetve egyenlőre kihagytam a trimmert, 2x22pF van a kvarcon. Láss csodát! Működik. Nem pörög, nem gagyizik. Szabadon hagyott bemenetnél 1 Hz -et mutat, ha hozzáérek egy csavarhúzóval, akkor méri az 50Hz -es brummot. Ja, és az LCD ugyanúgy a panel mellett van, tüskesorral összekötve, ennek ellenére nem zavarja egyáltalán. Holnap összedobom az erősítő fokozatokat is, kíváncsi vagyok mi lesz.
(#) (Felhasználó 5823) válasza greatman hozzászólására (») Dec 30, 2009 /
 
Látod ez eredeti tökéletes volt, csak tovább lett fejlesztve! Én azért kerültem el az összes hibát mert nem csináltam nyákot, hanem lyukas panelen összedrótoztam, így a rajz után jó is lett. A nyák meg s.ar, így aki azzal épít szenved!
(#) greatman válasza (Felhasználó 5823) hozzászólására (») Dec 30, 2009 /
 
Tutira így van. Gyakorlatilag ez a része (az erősítő fokozat nélkül) ugyanaz mint a Vicsys féle műszernek, ennek ellenére azon a nyákon minden kínja volt. Valószínűleg nekem is marad majd a próbanyákon. Ha jól működik engem nem zavar, aztán ha bedobozolom, akkor meg tökmindegy min van rajta.
(#) (Felhasználó 5823) válasza greatman hozzászólására (») Dec 30, 2009 /
 
Na mostmár belinkelem az eredeti oldalt is. Itt a forrás kód is megvan!Bővebben: Link
(#) greatman válasza (Felhasználó 5823) hozzászólására (») Dec 30, 2009 /
 
Hú de király vagy. Na majd befordítom, aztán kipróbálom ezzel is. Köszi.
(#) (Felhasználó 5823) válasza greatman hozzászólására (») Dec 30, 2009 /
 
Azt azért nem hiszem, hogy ez jobb lenne, esetleg nem azt írja ki az elején, hogy vicsys. De megpróbálni azt meglehet, legfeljebb kiderül, hogy a szofver pozitív változáson ment át!
Következő: »»   10 / 75
Bejelentkezés

Belépés

Hirdetés
XDT.hu
Az oldalon sütiket használunk a helyes működéshez. Bővebb információt az adatvédelmi szabályzatban olvashatsz. Megértettem