Fórum témák
» Több friss téma |
Szia!
A tápok többségében van egy poti, amivel lehet szabályozni a kimenő feszültséget. Ha szerencséd van be tudod állítani a 9V-ot. Mindenesetre érdeklődni kell a gyártónál - forgalmazónál.
Egy olyat sem találtam, ami megfelelő áramerősséget tudott, és szabályozható lett volna a leírása szerint a kimenő feszültség 9V-ra
![]() 12V-ból 9V projekt azért gondolom lényegesen egyszerűbb mint egy tápegység építése. Ebben tudsz segíteni?
Szia!
Idézet: „12V-ból 9V projekt azért gondolom lényegesen egyszerűbb mint egy tápegység építése.” Az is egy tápegység. Pl. amit linkeltem LM317, csak trafó nélkül. A fix feszültségű tápokra nem írják rá, hogy szabályozható, de általában van rajtuk egy poti, amivel pontosan beállítható a feszültség. Ha szerencséd van ezzel le tudsz menni 9V-ig.
Közben találtam a fórumban egy megoldási javaslatot, amihez semilyen felkészültség nem kell. Pár db 10A-t elviselő dióda sorbakötve és kész.
Köszi a tippet, alaposabban utána nézve valóban van olyan, amelyiknek a leírásában is szerepel , hogy potival állítható a feszültség valamennyire legalábbis.
Sziasztok! Van egy tápegységem és egy erősítőhöz használom.Kellene nekem egy LC szűrő a hálózati brumm kiszűrésére.Nincs az erősítőben földhurok! Ezt már megszüntettem.A konnektorba nincs más bedugva csak az erősítő így szerintem sehogy nem lehet földhurok. Elég nagy pufferkondikat használok ettől csökkent a búgás de nem annyira mint szeretném.Ezért szeretnék építeni egy LC szűrőt. Lehetőleg légmagos tekercs legyen ne vasmagos.Konkrét adatok kellenének.Kondenzátor kapacitása a tekercs menetszáma Próbáltam már keresni a neten és itt is ilyet de nem nagyon találtam. Épített már valaki valaha ilyet?Ha tudnátok ebben segíteni akkor nagyon megköszönném!
Ne viccelj már. Légmagos tekercs hálózati frekvencián semmit sem ér, vasmagos lenne csak jó, de az sem indokolt. Erősítők milliói üzemelnek fojtó nélkül, brumm mentesen. Földhurok természetesen attól még lehet, hogy nincs más a konnektorba bedugva, lehet hibás kivitelezés eredménye is. Azt javallanám, olvasd át jó alaposan azt a "földhurkos" topikot, és próbáld felismerni, mit rontottál el.
Szerezz egy régi PC-tápot, azokban van...de, ha most búg, akkor valószínűleg akkor is fog. Valami más ott a bibi, Imi jól mondja.
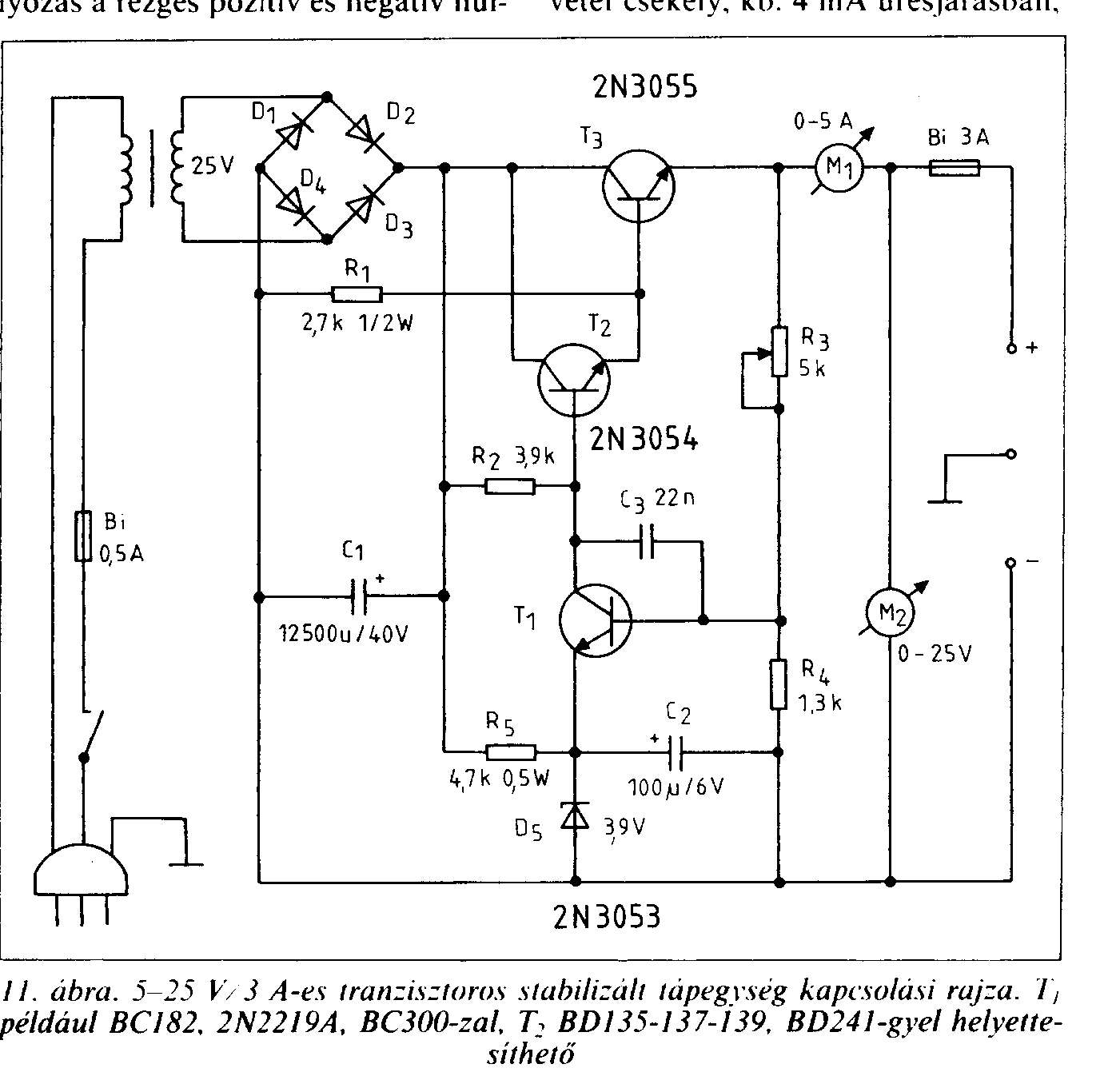
Hali épitettem egy labor tápot, de valamiért nem megy a szabályzása, szerintetek mi lehet az oka?
Szia!
És a referenciafeszültséget honnan veszed a szabályzáshoz? Hozzáképzeled?
Bocs de nem értem, még kezdő vagyok. Mi az a referenciafeszültség? a Trafóra gondolsz?
Ahogy nézem, az áteresztő tranzisztort csak lezárni, vagy mégjobban lezárni lehet.
Ez pontosan mit jelent?
Tessék olvasni, tanulni!
Olvasnivalók: Feszültségstabilizátorok Egy jó összefoglaló mű: Analóg feszültségstabilizátorok Kinyomtatni, átolvasni!
ok. Elolvasom, de valaki tudja a megoldást a problémámra, mert sürgős lenne? Ha valaki gyorsan megmondaná hogy mi a probléma a rajzon azt nagyon szépen megköszönném, mert sürgős a dolog.
Miért nem keresel egy bevált, megépített kapcsolást, amiből tanulhatnál is?
Egy havertől kaptam a rajzot, azt mondta hogy neki bevált és évekig használta, nekem is sikerült megépiteni, de a potenciometerrel nem tudom szabályozni a kijövő egyenáramot, csak ez a problémám vele. Nem szeretnék ujat épiteni, mert jelenleg nincs hozzá alkatrészem és időm sem.
Én mégis azt mondom, hogy csinálj egy másikat. Például a mellékletben szereplőt. Jó leírás van hozzá! A működést is érteni kell, nem csak utánépíteni, mert akkor az ember úgy jár, mint most Te.
Köszönöm szépen. Meg fogom épiteni. Szóval nem lehet kijavitani azt amiket én épitettem?
Hasonlítsd össze a Te áramkörödet azzal, amit felraktam. Meg fogsz lepődni.
Észrevettem hogy hasonló, csak a tranzisztorok másak.
Meg talán a legfontosabb, a referencia-feszültségforrás. Egy Zener-dióda képében.
PC táppal próbáltam már és ott nem BÚG ebből tudom hogy minden rendben van az erősítőben és ezért gondoltam hogy nincs benne földhurok.A tápegységben toroid trafó van az áramkőrt pedig mellékelem.Ja és akkor tényleg vasmagos tekercs kellene.
Ez csak egy végfok, vagy előerősítő is van hozzá kötve?
Ez csak a végfok működtetésére szolgál.Előerősítőnek egy Mc CRYPT DJ-40 típusú keverőt használok aminek stabilizált szűrt dugasztápja van.
Rajza az sajna nincs.Azt már én is kerestem rengetegszer a neten de nem találtam.Ugyanis ez egy ősrégi autós erősítő amit úgy kaptam viszont a hangja nekem nagyon teszik.És ha lehet akkor ne kezdjünk el beszélgetni arról,hogy melyik erősítő a jobb az autós a tranzisztoros vagy egy másik.Ezt egy másik topicon már mások úgyis kitárgyalták.Egy mélyládát szeretnék meghajtani vele.Ja és ez egy trafós kimenetű autós erősítő.
A nyákon látható néhány elektrolitkondi. Azoknak az értékét növeld meg. Valószínű mindegyiknek csatolásmantesítő szerepe van eredetileg. A 100 Hz-es brumm maradéktalan kiszűréséhez szükség lehet ezek értékének a növelésére.
Most már csak a jövőhéten tudom megvenni a kondikat.Ha kicseréltem őket akkor meg írom,hogy csökkent e a brumm hang.Köszönöm!
|
Bejelentkezés
Hirdetés |

















