Fórum témák
» Több friss téma |
Üdv Watt!
Gyönyörüen működik az égető, ír is, olvas is, hozzáteszem, a 150-ohm nélkül is működik, de inkább benne hagytam. A kábel egy eredeti nyomtatóé volt, másfél méter, és szuperül megy A 16f_18f-próbálva, sebesség is ok.
Zene füleimnek! Örülök, hogy minden okés!
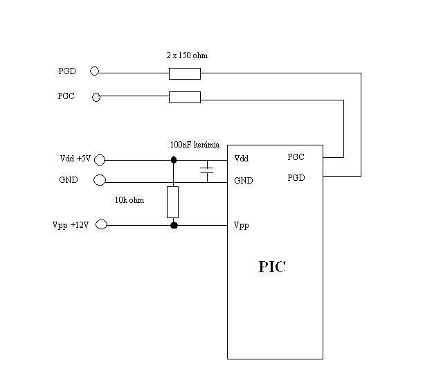
A 150ohm csak védelemnek van, a cikkben írtam mikor alakulhat ki esetleg olyan helyzet, ami a PIC kimenetének halálához vezethet, de ez ritka és akkor sem biztos, hogy meghal a PIC. Sokat bírnak elvileg...
Sajnálom, hogy így alakult, és azt is, hogy ötletem nincs az okokról. Illetve csak találgatni tudok, hogy esetleg a PC tápja, vagy esetleg egy földhurok, vagy valami nagyfesz tüske okozta a dolgot.
Nincs valami kapcsolási rajz a rendelt égtőről? Ha nincs, akkor megnéznéd, hogy van-e benne valami szintillesztő IC? Vagy ha megírnád milyen IC-k vannak benne(kettőt láttam)! Azért kérdezem, mert nem zárható ki, hogy egy JDM klónt sikerült beszerezni, aminek a működése alapból nem biztos. A többit megbeszéljük...
A PC táp és hasonló kapcsoló üzemű tápegységekhez nem lehetne valami túlfeszültség-védelmet kitalálni?
Pl. Samsung winchesterben láttam olyan, védelmet, hogy a 12 V egy kisteljesítményű 0 ohmos ellenálláson megy be (ez az "olvadóbiztosíték), mögötte pedig egy szupresszor dióda van, ami túlfeszültség esetén nemes egyszerűséggel "kicsapja a biztosítékot". Rövid tüskék esetén pedig ki sem csapja, csak levágja a tüskét.
Akkor te is úgy gondolod, hogy előfordulhat PC táp esetén PIC-et tönkretévő túlfesz? Esetleg más elképzelésed, mi okozhatja PIC halálát? Nekem akkor ment egy tönkre még nagyon régen, hogy a 12V rákerült a PGD-re, valamint egy, amikor a Vpp 20V-ra sikeredett.
Ezzel szemben volt fordított bekötés, amitől a 7805 elfüstölt, de a PIC megmaradt, pedig meleg volt. A védelem meggondolandó, de csak akkor, ha valóban fennáll a lehetőség PC táp esetén. Én már használtam PC tápot, bekapcsolás után már nem termelt tranzienseket jelentős mértékben...
Sziasztok!
A probláma nem abból jött, hogy a föld nem jó helyre volt kötve a párhuzamos porton? Néhány nyomtató kábel nem viszi át az összes földvezetéket...
A testpontok bekötését én pontosan lerajzoltam, attól eltérni nem szerencsés. Gyári nyomtatókábelt használni szintén lutri, mert nem biztos, hogy a hossza miatt működik, és amit említettél az sem garantált.
Úgy tudom, hogy ilyen gond nem merült fel kishere esetében, de majd gondolom leírja, hogy milyen kábelt használ. Úgy emlékszem nem gyárit, hanem saját bekötésű egyedit.
Hali!
Úgy alakult a dolog, hogy először is MCu 1*0,5 (PVC szig, sodrott Cu vez.) vezetékkel, ahogy watt fényképén volt, kb a hossz 15 cm, aztán HELUKABEL TRONIC-CY (LIY-CY) 3*0,25 QMM /20030 500V kábelszerű vezetővel, árnyékot használtam üzemszerű gnd-nek, aztán meg vittem külön gnd is és az árnyékot kikötöttem a gnd-ből (fater egy autó gázcomputer interface kábeléből csíptem ki 15 cm-t).Ez a két fő irányzat volt, de nagyon sok lehetőséget, variát kipróbáltam még ez mellett! Az IC-k tpus számát meg megkérdezem, vagy kérek egy kapcsrajzot, mert azt is adtak. ÜDV! (nincs időm heJesírást ellenőrizni, az a ti dolgotok )
hali!
Megszereztem a kapcsrajzot! (14. oldalon) ÜDV!
Nos, unokatesómmal beszéltem, azt mondta megpróbál kiszökni a cégtől vesz egy másik 628-ast, ha azt sem ismeri fel, akkor elsőt az általad megadott címre elküldi! Nem tudja hogy oldja meg, de elméletileg kedden vagy csütörtökön Postázik (postákon cisco rendszert épít KFKI-nál melózik /ezt csak azért, ha """"véletlen"""" te is akkor cégen belül lehet hogy meglehetne oldani/), és megpróbálja fel adni. Én pedig holnap elküldöm az égetőt! Ha nem gond, akkor az lpt csatit leszedem, mert csak az az egy van itthon!
Üdv! Idézet: Nem gondoltam én semmit, csak az általad felvetett lehetséges problémára ajánlottam megoldást. „Akkor te is úgy gondolod, hogy előfordulhat PC táp esetén PIC-et tönkretévő túlfesz?”
Szerencsére ez nem JDM. Elvileg jól kell működjön.
Nem a KFKI-nál dolgozom.
Nekem azért kéne, hogy biztosan kiderüljön rossz-e! Utána visszaküldöm!
Üdv Mindenkinek!
Építettem egy WLP_mini V4 programozót, de elsőre nem sikerült. Gyanítom, hogy én hibáztam, Watt-al privátban már beszéltünk. A lényeg, hogy most újra építem a 2db 150 ohm-mal együtt. Kérdések: Ha az égetőben az MCLR lábat nem kötjük sehová, csak a Vpp kapcsolóra, Vdd felkapcsolása után a PIC nem akarja elindítani a programját? Esetleg nem lehet, hogy azért halt meg az én 16f877-em, mert az égetőben csak az öt láb (Vdd, Vpp, GND, RB7, RB6) volt bekötve és az oszcillátor rész nem lett kiépítve? Kiolvasáskor is be kell legyen kapcsolva a Vpp? Kérlek válaszoljatok, mert nem szeretném a ma rendelt PIC-emet is kinyírni. (Azért a biztonság kedvéért egy olcsóbbal kezdem a második tesztet) Bocs, ha hülyeségeket kérdezek, de ez lenne az első "PIC-projektem"
Szia!
A további módszeres pic tönkretétel előtt a figyelmedbe ajánlom a következőket: A PGD vonal meghajtása hibás! A CD4049 egy egyszerű buffer, nem nyitott kollektoros vagy 3 állapotú kimenettel rendelkezik. A kiolvasásnál az IC2 A nem kapcsol ne, a kimenete szembe kapcsolódik a pic PGD kiementével! Továbbá a pic kimenetét terheli az R2 és a LED2. Nem lenne merszem ilyet árulni. Javaslom a reklamációt, a termék használhatatlanságára hivatkozva a visszavétel kérését. Ha a reklamáció nem érvényesíthető, akkor az IC2 2. kimenete és a 7. bemenete közé egy ellenállás beiktatása, az R2 kivétele. A Watt által említett 150 ohm ellenállásokat is jó lenne beépíteni, mivel a pic PGC és PGD lábát a programja kimenetként is haszálhatja.
Ha a MCLR lebeg, akkor véletlenszerűen el akar indulni a program, ha az MCLR engedélyezve van(van PIC aminél ez a funkció nem létezik). Az ICSP arról szól, hogy áramkörben programozunk. Az áramkörben pedig gondoskodni kell az MCLR kezeléséről(fel, vagy le húzás), ha szükséges. Egy adapter is céláramkör, ha netán külön akarod programozni...
A PIC nem mehet tönkre, ha csak az 5 láb van bekötve, de ha több táplába van, akkor viszont az összeset be kell kötni, nem csak kettőt! Hidegítés is szükséges az égetés alatt(100n). Ezek egyébként nem PIC kérdések, ezek alapvető CMOS áramköri ismeretek. A tápot mivel állítod elő? Lehetőleg óvakodj a PC táptól, mert úgy tűnik nem életbiztosítások, ha nincs az 5V-os részük leterhelve(Ez ismert dolog, hogy csak terhelés alatt áll be az 5V! Lehet ez okozta több PIC halálát az elmúl időkben.)! Vagy gondoskodni kell a túlfesz védelmekről(12V-os zener a Vpp-n, előtte egy 1k-s előtét, és a 12V-ból 7805-el kéne előállítani az 5V-ot...)
Igen, az áramkörön kívül szeretném programozni. Az MCLR-t az adapterben pl. 1k-val jó, ha GND-re húzom? És az oszcillátort is ki kell építenem az adapteren, vagy nem?
A tápot 7812 és 7805 szolgáltatja. 16F877 20 /P és 16F877 20 I/P között mi a különbség???
Köszönöm!
Akkor ha jól sejtem, a 16F877 20 P a 20Mhz-es 0 - +85 °C -os verzió?! Ha lehet, arra is válaszolj, hogy ha a PIC-et áramkörön kívül akarom programozni, kell-e hozzá oszcillátort építenem, vagy elég csak az öt lábat bekötnöm? Bocsánat, hogy ennyiszer megkérdezem, de az oszcillátorral kapcsolatban senki nem válaszolt ezidáig.
Szia!
Nem kell oszcillátor. Minden Vcc és Vss lábat be kell kötni. Vpp / Mclr -t inkább a Vcc felé húzd 10k -val, bekötése nem feltétlenül kell, benne lehet a programozóban.
Hali!
Feladtam a progizót postán, levél formában elviszik! Most akkor mi van az égetővel amit unokatesóm rendelt?! Nem volt tiszta, mert szerinted elvben működik, Hp41C szerint PGD vonal meghajtása hibás. Idézet: „A PGD vonal meghajtása hibás! A CD4049 egy egyszerű buffer, nem nyitott kollektoros vagy 3 állapotú kimenettel rendelkezik. A kiolvasásnál az IC2 A nem kapcsol ne, a kimenete szembe kapcsolódik a pic PGD kiementével! Továbbá a pic kimenetét terheli az R2 és a LED2” 3,3 K-n és leden keresztül a földfelé beterhel a pic-nek? Bele merje rakni majd az új PIC-et? ÜDV
Szia!
A lényeg nem az R2 vagy a LED, hanem a CD4049 meghajtó, ami állandóan hajtja a PGD vonalat. Ha a pic-ből adatot olvasunk ki, a vonalat nem engedi a pic-nek meghajtani. Ne tegyél bele másik pic-et, majdnem biztosan tönkreteszi őket. Ezért javasoltam, hogy reklamálj, cseréltesd ki vagy kérd vissza az árát. Ha ez nem megy, leírtam a módosítást...
Köszönöm!
Ezek szerint fogok eljárni. Holnap beszámolok
Egyenlőre nem teszünk bele másikat!
Viszont van fejlemény, amit nagy vonalakban elmondtak. Forumon utánna lett nézve és ha az időzésekkel variálunk, akkor műköhet, illetve ami nagyon érdekesnek tünt számunkra, az hogy USB--->Com átalakítóval nem ismerte föl a PIC-et, ha pedig az átalakító után volt egy hosszabító kábel (1m-es) akkor 10F(nem tudom minek) ismerte fel! Most már kezdek kicsit kapkodni , mert két hétmúlva kezdődik az autó verseny időszak, és még nincs kész a stopper!
Szia!
Nem szeretnélek elkeseríteni, de valahol hiba van: - Vagy nem igaz, hogy CD4049 típusú meghajtó van benne - ekkor az áramkör továbbra is ismeretlen... Open Collectoros kimenetű meghajtó és a kapcsolt Vdd-re menő felhúzó ellenállással működik az áramkör... - Ha CD4049 típus van benne, akkor nem működhet. Az adatlap 2. oldalán látható a belső áramköri kialakítás. A bemeneti szinttől függően két lehetséges állapot van: A kimenet alacsony szintű (az alsó N-FET vezet) vagy magas szint van (a felső P-FET vezet). Mindkét esetben a kimenet alacsony impedanciás. Nincs is gond vele, amig a parancsokat, adatokat a pic-be léptetjük be. A probléma a visszaolvasáskor, az adat pic-ből való kiléptetésénél van. Ha a CD4049 kimenete alacsony, a pic pedig magas szintet szeretne előállítani (vagy fordítva), akkor a két kisimpedanciás kimenet kapcsolódik egymással szembe. A közös vonalra kapcsolódó nyitott felső P-FET és alsó N-FET-en keresztül a tápegységből túl nagy áram folyik a föld felé, rossz esetben a kimenetek tönkremeneteléhez vezet. Ellenőrizd le a PGD vonal meghajtását. Nem csatlakozhat közvetlenül a CD4049 egyik kimenetéhez sem!
Üdv Mindenkinek!
Megkaptam az alkatrészeket, megépítettem a WLP_mini_v4-et immáron sokadszor. A rajzot és a PIC bekötést is mellékeltem. A következő képpem próbáltam: ICprog elindítom Vdd-t bekapcsolom, OK minden. LPT csatit rádugom, jelszintek (DATA, CLOCK OK.) Vpp-t bekapcsolom, a PIC felforr néhány sec. alatt. :bummafejbe: Kérlek segítsetek, mert kezdem megutálni a témát, pedig nagy lelkesedéssel kezdtem bele! (Interrupt kezelős LED villogtatás MPLAB-os szimulátoron már működik... )
Még valami!
Ha valaki Balatonfüred, vagy Veszprém közelében lakik és van működő PIC-programozója, amivel 16F877-et tud programozni, kérem valamikor fussunk össze. Email-on tudunk értekezni. Köszönöm!
Szia!
- A 16F877-nek mind a két Vdd és Vss lábát be kell kötni... - Tegyél egy led-et 470 ohm ellenállással a 78L05 kimenete és a föld közé és egy másik led-et 1 kohm ellenállással a Vpp kimenet és a föld közé. Ellenőrizd le a bekötéseket - különös tekintettel a 74LS07 táp és föld lábainak bekötésére. A probléma onnan jöhet, hogy a 74LS07 nem kapja meg a +5V tápot vagy a földet. Ekkor nincs aki fogyasztana az 5V-ról. Ha most bekapcsolod a Vpp-t, a 10K-n keresztül a +5V felé folyik az áram, mivel nem használja fel senki, a feszültség feljebb mehet, mint 5V. A 78x05 nem tudja a kimenetén fenntartani a stabilizált értéket, ha a kimeneten megjelenő feszültség nagyobb a megkívántnál.
Tegnap megjött a csomag, köszönöm! Sajnos nem volt időm, és mostanában el vagyok havazva, de ki fogom próbálni és jelzem! Egyébként ránézésre, ennek működnie kéne...
|
Bejelentkezés
Hirdetés |




egy autó gázcomputer interface kábeléből csíptem ki 15 cm-t).
)
Nekem azért kéne, hogy biztosan kiderüljön rossz-e! Utána visszaküldöm!
, mert két hétmúlva kezdődik az autó verseny időszak, és még nincs kész a stopper! 






