Fórum témák
» Több friss téma |
Fórum » Kapcsolási rajzot keresek
Témaindító: Kallai Csaba, idő: Márc 11, 2006
Témakörök:
Üdv!
Itt van egy ilyen rajz, ehhez kéne nekem egy kapcsolási rajz... bocsi, hogy ilyenért témát nyitok, de szükségem lenne rá! Ha valaki tud segíteni, azt nagyon megköszönném!
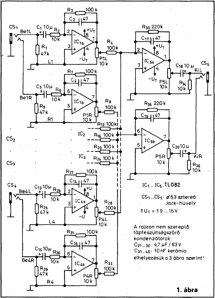
Ezt a keverőt az egyik Rádiótechnika közli.De az Urbán elektronika foglalkozik az egycségcsomagával, ritkán mondok ilyet de szerintem a potik miatt érdemes egycségcsomag formájába megvenni.Urban Elektronika
Helló!
A kapcsolási rajz mellékelve. A teljes cikket megtalálod a Rádiótechnika folyóirat 2003/8-as számában. üdv brejti
Mérmérmér?? Komolyan miért kell ennek külön topik? Kezdő kérdések, Amatőr keverő házilag, stb sok topik van ahol lehet kérdezősködni. Van kereső is, 2 infót rögtön le lehet olvasni a rajzról ami elég kiindulási pont.
peace
heló ,,tisztel szaktársak ! kisegitene valaki egy
500khz-es BFO kapcsolási rajzzal 2-vagy 3-om tranzisztoros , kvarc nélkül. köszi.
Sziasztok! Találtam itt egy jópár tozítót. Azt szeretném kérdezni, hogy ezek közül 1 is alkalmas arra, hogy embrei hangot eltorzítson, de ugy, hogy az még "érthető" maradjon? Elkezdtem végignézergetni, de szinte mindegyik gitár hang torzítására való. esetleg van valakinek olyan egyszerű torzítója amelyet mondjuk unalmasabb tanórákon be lehetne vetni?
![]() És lehetőlegne valami spec IC legyen benne, hanem valami ilyesmi. egyszerű tranzisztoros hordozható cucc remélem értitek ![]() kössz és üdv: uli
Sziasztok ,
keresek egy kapcsi rajzot de ne m találok ,egy bizonyos SONY TA 1055 Solid State,rajzát,mellékelek egy képet is róla hátha könyebb lesz felismerni,Én már kerestem a googlén nem sok sikkerel,hátha lesznek ügyesebbek tölem A segitséget elöre is köszönöm
Hali.
Braun Regie 540e kapcsolási rajzott keresek,ha valakinek megvan azt nagyon megköszöném.
Sziasztok!
Meg tudná mondani valaki, hogy hol keressem a METEX M-3800 -as mérőműszer kapcsolási rajzát?Már nagyon megszoktam ezt a műszert amikor egy napon kölcsönadtam... Előre is köszönöm a segítséget
Hali!
Csak az M-3900 -ast találtam meg a Hobby Elektronika 2001/12 számában. Mi a gond?
Szia!
Kölcsönadtam és amikor visszakaptam be akartam kapcsolni,de nem jelzett ki semmit.Hát szétszedtem és ugyan azzal a mozdulattal el is borult az agyam: elektrolitok kidurranva, nyák rajzolat szétégve és van benne egy-két ellenállás, ami olyan furán van beforrasztva.Nem tűnik bonyolultnak az áramkör,az LCD-t 7106, vagy valamelyik klónja vezérli szerintem, smd alkatrész sincs rajta. Nagyon sokat jelent nekem ez a műszer, és ezért gondoltam,hogy megpróbálkozok a javításával. A kondikat már kicseréltem.Most ott tartok,hogy kijez ugyan,de nem mér.A panelra a rajzolatot még nem pótoltam,de azt is megoldom valahogy.Az a baj,hogy pont a kapcsoló alatt égett szét a panel,de nem annyir a vészes. Még meg is jegyezte,hogy nem használta a mikróhoz... Pár nap múlva veszem elő, hogy bekapcsoljam és rögtön egy magnetron jutott az eszembe(meg persze a rokonai).Röviden ennyi és köszönöm, a segítséged.
Sziasztok nemtudjátok hogy kitete fel a Belcanto erösitö-nek a kapcsolási rajzát mert egy kicsit rossz minöségü. ha valakinek megvan joba aszt tegye fel mert nem tudom leolvasni az adatokat rola elöreis köszike Ford Ferlin.
Ha gondolod felrakom az M-3900-ast, hátha segít.
Szia!
Köszönöm, azt megtaláltam.És a felszakadt(szétégett)rézfólia pótlására van ötleted?
Szia !
Két legközelebbi forrpont-tól szigetelt vezetékkel kösd át. Üdv!
Szia!
Szerintem itt nem lehet megcsinálni,mert ez érintkezési felület képez a kapcsolóval.Feltettem pár képet ide Üdv -- Linket javítottam. Topi (Moderátor)
Hy!
250-300Wattos 2 illetve 1 ohm os erősítő rajzokat keresek. Nagyon megköszönném ha valaki feltenne pár ilyen kapcs.rajzot. Üdv: Markifiu
Hát ez elég húzós...
Régen csináltam olyat, hogy kétoldalas nyákról, amikor csak az egyik oldal kellet, és nem akartam a másik oldal teljes lemaratásával bíbelődni, hogy egyszerűen lehúztam a rézfólia réteget a nyákról egy fogóval. Szóval esetleg egy nyákról megpróbálni lehúzni a fóliát, majd méretre vágni, és ráragasztani a műszer eredeti nyákjára. Majd összeforrasztani az eredetivel, hogy azért az elektromos kapcsolat meglegyen. Mert ugyebár a pill.ragasztó nem nagyon vezet. Na rajzoltam egy példát. Remélem kivehető, mire gondolok. A lényeg, hogy a forrasztás olyan helyen legyen, ahol nem zavarja a kapcsoló. (nem ér bele) Persze biztos nem lesz egyszerű, de nekem nincs más ötletem. Talán valaki más...valami mást...?
Szia !
Igen ez lenne a legjobb a pótlás! Csak itt gondolom egy kapcsoló forog ami leeszi a pótlást elég hamar. Nem tudom mennyi maradék fólia van a panelen, de meg kellene próbálnod ónnal össze melegíteni a pótlást. Arra figyelj, hogy a felső felét ne ónozd össze a kapcsoló alatt ha lehet. Üdv!
Hali!
Idézet: „meg kellene próbálnod ónnal össze melegíteni a pótlást” Úgy érted, hogy az eredeti, és a pótlás között ragasztó helyett forrasztás? Ha igen, szerintem azzal az a gond, hogy a pótolt helyen a forrasztás miatt vastagabb lesz a réteg, ami nem biztos, hogy jó. Idézet: „egy kapcsoló forog ami leeszi a pótlást elég hamar” Hát, itt sok múlik a precíz ragasztáson, hogy nehogy felkapja a szélét, de maga a réteg vastagsága nem hiszem, hogy hamarabb kopna le, mint az eredeti. Persze a puding próbája... Vajon egyáltalán megéri ennyit vacakolni vele...? Na de ez már PHARO-n múlik. Üdv!
Köszönöm a segítségeteket.Nos egy nyers panelről már szedtem le réz fóliát, de agyalok rajta hogy és mivel lehetne precízen felragasztani.Vagy esetleg a réz helyett valamilyen vezető pasztával?Ha van ilyen egyáltalán.
Üdv
Szia !
Idézet: „forrasztás miatt vastagabb lesz a réteg, ami nem biztos, hogy jó.” Ne ónbuckót képzelj el, hanem két leónozott felületet ami ónszivó szalaggal le van tisztítva és össze van melegítve. Ez a ragasztónál biztos nem vastagabb, valamint nincs az a ragasztó ami annyira ragadna mint rézhez az ón. Idézet: „Persze a puding próbája... Vajon egyáltalán megéri ennyit vacakolni vele...? Na de ez már PHARO-n múlik.” Ez viszont 100%-ban igy van ! Üdv!
Sziasztok!
Egy unitra típusú minihifi tunerjához keresek OIRT- CCIR konverter kapcsolási rajzát, már mindehol néztem de semmi.:S Előre is köszönöm a segítséget
Sziasztok!
Csak reménykedek, de valaki tudja a lelőhelyét, a Line6 Uber Metal effektpedál kapcsolási rajzának? A segítséget előre is köszönöm!
Hali!
Idézet: „hanem két leónozott felületet ami ónszivó szalaggal le van tisztítva és össze van melegítve” Ja, hát igen, az más. Üdv! |
Bejelentkezés
Hirdetés |







remélem értitek
de ne m találok
,egy bizonyos SONY TA 1055 Solid State,rajzát,mellékelek egy képet is róla hátha könyebb lesz felismerni,Én már kerestem a googlén nem sok sikkerel,hátha lesznek ügyesebbek tölem
A segitséget elöre is köszönöm


