Fórum témák
» Több friss téma |
Fórum » Labortápegység készítése
Viszont tovább gondolva az elő szabályzást. Mi lenne, ha nem relét használnék, és a trafóm kisebb kicsatolásait venném igénybe, hanem betennék egy triakos fázis hasítós fokozatot a trafóm szeünder oldalára? Én már gondolkoztam rajta, de egyelőre nem tudom, hogy lenne jó.
Ilyennel bíbelt már valaki? Esetleg van is működő rajz? Kössz
Te már ezek szerint próbálkoztál vele. Milyen zavarok voltak? kapcsi rajzot tudsz betenni róla?
Az a baj, hogy 50Hz-et nagyon nehéz szűrni... Hatalmas L-C tagok kellenek, amik talán még nagyobbak is lennének mint maga a trafó.
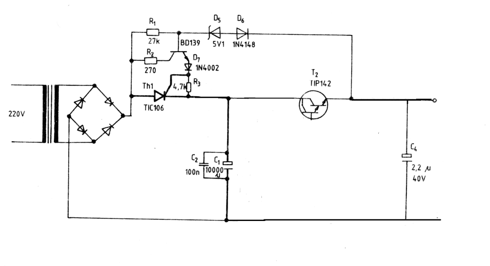
Korábban rakta fel valaki ezt az előszabályzót:
Ez a fázishasításos technológia akkor volt elterjedve mikor még nem voltak olcsó gyors és nagyteljesítményű félvezetők.
Ma már adott a technológia, nagyobbak a követelmények a zavarszűréssel szemben, mert nem csak a kimenetet, hanem a primér oldalon is kell zavarszűrni. Jobban jársz egy nagy frekin üzemelő kapcsolóüzemű előszabályzót építesz. Én sem preferálom a relés megoldást (mert lassúnak tartom) megpróbálom félvezetőkkel megoldani az átkapcsolást. Mivel ma kaptam két toroidot a főnökömtől, elhárult a legnagyobb gond, ami a labortápom megépülését akadályozta. Az első verzió, az egyik barátomnak készül (emiatt nem sokáig lesz az enyém :- ) ), a következő paramétereket fogja tudni: 1x 30V 20A egyszerű áramgenerátoros védelemmel, többfokozatú előszabályozással.
Húúú
Kíváncsivá tettél. Ha lesznek rajzok, és működik is, akkor megosztod velünk?
Megosztom persze.
Sziasztok!
Van nekem 1 CB rádióhoz való tápegységem. Amiből szeretnék készíteni 1 labortápot! A tápegység adatai: 13,8V 7A. Tudnátok nekem adni 1 jó kis kapcsolást amivel 1 jó megbízható labortápot tudnák készíteni?! Előre is köszönöm.
Ez nem így működik!
Fogalmunk sincs mi rejlik a CB tápod dobozába ! Erős a gyanúm, hogy nem éri meg átalakítani, mert kb annyi munka (és anyag) mintha újat (labortápot) építenél!
Jól van akkor!
Azért köszi a segítséget
Ez egy hulladék. :yes:
Mi használtunk ilyeneket újonnan, és 1 hónap múlva már 10-ből 4-nek nem működött a soros/párhuzamos üzemmódjuk. (persze nem én tettem tönkre ):
A kimondottan labortápegységekbe szánt PIC-es panelmérő II. elkészült:
Bővebben: Link
Helló. Gratulálok! Nagyon jó lett!
Ebay-ről vettem. Ez van ráírva: "JDH 162A"
Köszönöm. Majd utánaérdeklődök Fehérváron a boltban.
Én is gratulálni szeretnék, teljesen érthető lett a cikk is! Annyi észrevételem van csak, hogy én tettem volna egy felhúzó ellenállást az MCLR vonalra.
Az MCLR lábon a reset funkció ki van kapcsolva és azt a lábat semmire sem használom. Egyenlőre...
Akkor nem tettem semmilyen megjegyzést!
Sziasztok, első sorban Proli-t kérdezném, hogy a 24V-os labortápod, ami ugye FET áteresztős, megpróbáltam keményebb FET-et betenni, az volt a terv, hogy a BUZ -feteket egy darab IRFP460N tipusuval kiváltom. De érdekes tünet jelentkezett. Amikor nincs áramkorlátozás, akkor max fesz megy ki, és nem lehet szabályozni, ha letekerem az áramkorlát potit teljesen, akkor meg szépen lehet szabályozni a kimeneti feszültséget.
Van valakinek valami ötlete? Bővebben: Link
Ötletem az nincs, elvileg jónak kellene lennie,talán a G-S minimális nyitófeszültsége a ludas, itt kellene méricskélned. Amúgy szerintem sokkal rosszabb lesz a helyzet egy fettel, mégha akárhány wattos is. Kisebb a hőátadó felület, mint több darabnál.
Azért szerettem volna egy FET-et, mert amik jelenleg vannak benn, azok összesen 90W-os tudnak "adatlap szerint" elfűteni, az IRFP pedig 280W-ot, persze tudom ez határadat, nem kézpénz, de ha 60-70W-ot elfűt, az mát tökéletes, a BUZ fetek 20mp-ig tűrik a rövidzárat. Igazad van, de ebben az esetben jobbnak látom az IRFP-t. Annyi infót lehagytam, hogy a rajzon szereplő G-S zenerrel párhuzamos ellenállást lehagytam, ez lényeges lehet?
Idézet: „párhuzamos ellenállást lehagytam, ez lényeges lehet?” Na látod, már meg is van a hiba oka!
Sziasztok!
EhhezBővebben: Link a labortáphoz milyen analóg kijelzőre lenne szükségem?Ami méri az áramot illetve a feszültséget nekem.Illetve kell ahhoz is egy külön áramkör? Tudnátok mutatni 1 oldalt ahol belehet szerezni a kijelzőt, illetve rajzot ha kell?
Én ennek a kapcsolásnak az eredetijét építettem meg (link), melyhez az Elektrokonthában vettem mutatós műszer.
Árammérőt a kimenettel sorosan, feszültségmérőt a kimenettel párhuzamosan kötöttem, mivel tartalmaztak belső söntöt/előtét ellenállást. Jól működnek Több elektrós boltban kapni. Pl. a Hestore-ban is.
Méh egy kérdés ha nem baj.
Ha kettő ilyet vennék bele akkor ezeket hogyan kellene bekötnöm ? Bővebben: LinkEzeket is ugyan úgy mint az analóg kijelzőt? Semmi más nem kellene hozzá?
Ezt egy fokkal bonyolultabb beépíteni. Feszültségosztóval kell játszani, úgy ahogy a termék alatt olvashatod. Valahol külön topikban ki is tárgyaltál a különböző méréshatár-kiterjesztési problémákat. Talán itt is. Érdemes rákeresni
Köszönöm a segítséged.Szerintem maradok az analógnál.
|
Bejelentkezés
Hirdetés |





):
Köszi.





