Fórum témák
» Több friss téma |
Hát így bizony nem megy, (l. kondik párh.,és soros kapcsolása), a megoldás: varicap, vagy a forgókondi cseréje.
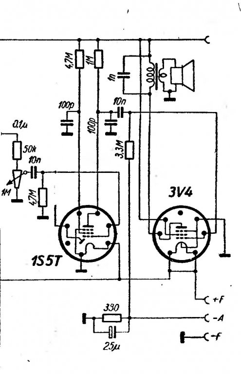
Kérdésem volna hogy a 2 csöves rádiómhoz milyen végfokot tudnék építeni+1 csővel? Van 1S5T-m, 1db 3V4-m illetve DLL101-em. Mennyit kellene változtatnom a kapcsoláson.
A 3V4, ás a DLL101 jó erre a célra. A DLL talán jobb, nagyobb teljesítményű némileg.
Cca. 10 pF-os átfogást a már korábban ismertetett kalkulátorral kevés próbálkozással meg lehet közelíteni.mellékeltem a képet.
A kapcsolási rajzomon mit kellene megváltoztatnom? Illetve mivel kellene kibővitenem? A válaszokat előre is köszönöm! Üdv Madzagos
Adok pár infót a mellékletben, ahol az átfogás és az ehhez való padding számítható.
A jav!-ot tartalmazó filenév egy javítást jelöl, a megfelelő cikket korrigálja (lásd filenév). A lap jobb alsó sarkában található, apró betűkkel. A file-okat úgy neveztem el, hogy melyik Rádiótechnikában található a cikk.
A fejhallgató helyére 3V4 esetén teszel egy 100 kohmos ellenállást, és csatolókondival leválasztod a végfokot. DLL esetén a legjobb, ha fázisfordító transzformátort teszel az anódba a fejhallgató helyére, és ellen ütembem (PP) használod a csövet.
Lenne nekem is egy ötletem. Ennek alapján készítettem egy példát. Ha keveset akarsz számolni, akkor ajánlom a mellékelt nomogramot. Ha ennek használatával kapcsolatban kérdésed van, akkor írj priv.-ban. üdv. sz_f
Köszi, beleolvastam, jónak tűnik. Holnap elolvasom mindet és megpróbálom megcsinálni a méretezést. Olyan szépen felfogattam a forgókondit egy nyák lemezre és olyan jól sikerült a húrozás is, hogy kár lenne érte.
Ha kérhetnélek hozzárajzolnád az eredeti rajzhoz. Mert eléggé kezdő vagyok a szakmában. Az eredeti kapcsolásban 2db 1S4T cső van, Az anódfeszültség pedig 40Volt. Válaszodat előre is köszönöm. Üdv Madzagos!
A hozzárajzolás kis időt vesz igénybe, addíg is tanulmányozd a csatolt végfokrajzokat. Arra figyelj, hogy a végfoknak elő kell állítani negatív rács előfeszültséget, és ezt úgy teszik, hogy a test nem az anódpótló negatív sarkán van, hanem a test egy ellenálláson keresztül van az anód pótló negatív póluséra kötve. Így ezen az összes cső átfolyó anódárama hozza létre a negatív rács előfeszültséget. A DLL21 csak azért van, mert a DLL101 is ugyan ilyen, és látható az autótrafós fázisfordítás.
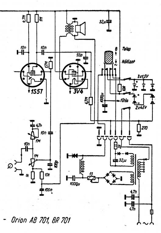
Nos egyenlőre maradtam az eredeti forgónál, mivel elsőre nem tudtam adót behangolni az átalakított forgóval. Majd később foglalkozok vele. Viszont átépítettem a kapcsolást és sokkal jobb lett. A rádió érzékenysége nőtt, sokkal jobb lett, több adót tudok behangolni. Terveznem kell még egy nyákot neki, hogy ne szanaszét legyenek az alkatrészek és stabilan tartsa a frekit. Utána jöhet majd a forgó is. Hétvégére talán összejön a nyák. Később teszek fel egy apró videót a kezdetleges szerkezet működéséről. Egyenlőre még 2db PCC189-es cső van benne, később jön még ehhez egy végerősítő cső is. Ez a kapcsolás lett megépítve: Bővebben: Link
Nos itt a videó, jobb minőségben sajnos nem tud felvenni a telefonom. A behangolás majd akkor lesz véglegesen elvégezve, ha kap szép nyákot is.
![]() Bővebben: Link
Érdeklődnék hogy mi újság a végfokkal ? Üdv Madzagos
Jó lesz ez. Még többet is ki lehet hozni belőle, csak koplettírozd. üdv. sz_f
Hááát, hamarabb megcsináltam volna, minthogy lerajzoljam a gépbe....
Szia! Ha papíron lerajzolod és utána telefonnal lefényképezed aztán a gépre rátöltöd úgy hamarabb lesz. Tapasztalatból beszélek, hogy így gyorsabb. Üdv Madzagos
Megrajzoltam. De ha Te csinálod, sokat tanulhattál volna.
Remélem jó lesz. Kihagytam a középső cső anódját hidegítő 500 nF kondit, kicsit sokallottam, de lehet szükség lesz rá.
Szia! Nagyon köszönöm a fáradozásodat,de mint az előzőkben leírtam nagyon kezdő vagyok az elektronikában úgyhogy a hozzárajzolás az már nagyon nehéz lett volna nekem. Üdvözlettel Madzagos
(Elnézést a belevauért, de...)
A középső cső bekötése szerintem rossz! A segédrács helyett a fékezőrács lett rákötve az anódfeszre, így az a fűtőszálon át rövidzárba megy, kinyírva a csövet!
Köszi! Tényleg. Már a javítottad látjátok .
Nem teljesen értek egyet Veled, mert szerintem a kf rezgőkör sávszélessége pont olyan,ami a detektorosnál is jó kéne, hogy legyen. Csakhogy az eredeti helyén a terhelése jóval kisebb, mint egy detektoros rádiónál, így ez utóbbi alkalmazás esetén már valóban kisebb a terhelt rezgőkör jósága a kívánatosnál.
Ez még tetéződött azzal, hogy ahhoz, hogy a 200 pF-os forgóval 540 kHz-re is le lehessen hangolni, még hozzá kellet tekerni,amihez nem volt elég hely, így 0,08-as huzalból újra kellett tekerni az egészet. Jó nagy lett az ellenállása is, meg az önkapacitása is.
Nem is az Ő hozzászólására reagáltam (mert azzal kapcsolatban teljesen egyet értek Veled), inkább az üzenetváltásotok kapcsán felmerült gondolatomat (kérdésemet) írtam meg... Hogy ide, vagy a másik topic-ba illene-e a dióda előfeszítéses téma. Hozzáteszem, nekem még soha sem sikerült jelentős hangerő növekedést elérnem az ilyen előfeszítéssel. Nem tudom, másnak mi a tapasztalata ezzel?
Elvileg közel frekiben ott vannak a KFek 4-500 KHzesek ha AM oldaliak. FMes esetben sokkal nagyobb frekin mennek közel 10-20szor magasabban 10,7 MHz.
A KH műsorszóró sáv alsó részét kis hangolással meg találhatod . 540KHzen ott a Kossuth Solton. A KFben lévő kondit ki kell óvatosan venni ami eléggé macerás és kisebbre cserélni. Másik lehetőség a kondi marad benne.4-500 KHz körüli KF frekin vagy. A vasmag fel/kifele tekerésével csökken az induktivitás ezáltal növekszik a frekvencia. Az árnyékoló burát vedd le akkor nem akadályozza a vasmag ki/fel tekerését. Jobb esetben elérhető a közel 100-200 KHz rezonancia növekedés így kb.: 600 KHzig eljuthatsz ezzel az egyszerű módszerrel valahol megtalálod az adót. Nagyon jó antenna és földelés kell hozzá. Új kivezetéseket csak újra tekeréssel tudsz alkotni . Ami nem egyszerű történet. Jobb esetben van már 1 megcsapolás és 1 másik tekercs is mert ezek transzformátorok és így akár 4 5 kivezetésük is lehet. De sajnos a veszteségük is nagy ezeknek a tekercseknek mert hajszál vékony a huzal , nagy az ellenállás. Számoljunk Q-t ~4-500 KHz : 9-10KHz el ~ 40-50 közti jóságot jelent terheletlenül. Azért 9-10 KHz mert ekkora sávszélességet kell beállítani a KH vételhez a KFben. Felsőbb frekikre(1MHz) már kevés lenne a vasmag kitekerése. Ekkor a kondit is cserélni kell benne kisebbre esetleg 1 forgóra. Nem igazán ajánlatos ezekkel a KFekkel próbálkozni. Feltéve ha nerm borul rád 1 KH szivar antenna tornya. Igaz akkor már mindegy raksz-e rezgőkört vagy se .
Sziasztok!Szeretném megkérdezni hogy a 3S4T csövet mire lehet használni? Üdv Madzagos
Végerősítő pentóda, A osztályban 200 mW, B osztályban 420 mW. Kicsit gyengébb, mint a 3V4, és bedugható a helyére.
Szia Köszönöm a gyors választ, illetve szeretném kérdezni hogy a2 csöves audion rádiómnak az anódfeszültségét megemelhetem 90voltig ? Mert csak olyan trafót tudtam szerezni aminek a szekundere 24és90volt. És ezt építem be a rádiómba.
Igen, ezeknek a csöveknek a limitje általában 90 V. Úgyis működnek, 45, vagy 90 V anódtáppal. A fűtésre nagyon kell vigyázni. véletlenül se legyen több 1,4 (2,8) V -nál. A legjobb, ha két sorba kötött Si diódával stabilizálod.
|
Bejelentkezés
Hirdetés |













