Fórum témák

» Több friss téma
Fórum » RF műszerek, mérések
 
Témaindító: pucuka, idő: Júl 10, 2010
Témakörök:
Lapozás: OK   8 / 53
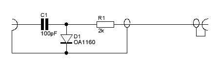
(#) pucuka válasza gtk hozzászólására (») Júl 1, 2011 /
 
Valami ilyesmire lesz szükséged
(#) gtk válasza pucuka hozzászólására (») Júl 2, 2011 /
 
Egy dolgot nem ertek: egy ilyen kapcsolasnak elegge nagyimpedancias a kimenete is, hogy fog meghajtani egy 50 ohm-os bemenetet?
(#) pucuka válasza gtk hozzászólására (») Júl 2, 2011 /
 
Azt, sehogy nem hajtja meg. De amelyik műszernek 50 ohmos a bemenete, arra RF jelet kell adni, és ez az egység benne van a szerkezetben, valamilyen formában. Pl. spektrum analizátor+tracking generátor. De az egy másik műszer.
Volt is erről korábban vitám, amiből majdnem sértődés lett
(#) Gafly válasza pucuka hozzászólására (») Júl 2, 2011 /
 
Jé, pont ilyet használok indikátornak (légszereléssel), na jó, 1nF kerámia és 10K de alapvetően mindegy
(#) pucuka válasza Gafly hozzászólására (») Júl 2, 2011 /
 
Ha tudod hitelesíteni, műszernek is jó, egyszerű, de nagyszerű. Ugyanez a kapcsolás koax csatlakozók között, zéró bias schottky diódával hengeres fémházban, több ezer forint.
(#) gtk válasza pucuka hozzászólására (») Júl 2, 2011 /
 
Nem ertem. Teljesitmeny atvitelrol van szo vegulis...
Ugy erted, hogy 50 ohm-os bemenetu muszereknel nem alkalmazhato? Ez csak pl. (u)(m)volt merore jo?
(#) pucuka válasza gtk hozzászólására (») Júl 2, 2011 /
 
Nem egészen, csak feszültség mérésről. A teljesítmény átvitel a tápvonalon történik, a mérésnek pedig ezt nem szabad befolyásolnia. A tápvonalon való méréseket kell úgy elvégezni, hogy a tápvonalat (ami lehet szűrő is ugyebár) meg kell hajtani egy 50 ohmos generátorral. Hogy odaférjél a mérőeszközöddel ehhez a ponthoz, és ne okozz reflexiót ide kell tenni egy iránycsatolót, aminek a kicsatolási impedanciája 30 - 40 dB. erre kötheted a műszer wobler egyik mérő bemenetét, akár diódás, akár 50 ohmos lezárásút. A mérendő tápvonal másik végén szintén egy iránycsatoló, majd egy korrekt széles sávú lezárás. A második iránycsatolóról lehet levenni a kimeneti jelet. Ha a woblernek csak egy bemenete van, akkor a jelet kapcsolgatni kell. Léteznek még a különböző mérésekhez "T" formájú kapacitív, induktív, és tap típusú egyenirányítós (demodulátoros), valamint hasított tápvonalas eszközök is, amik használatát a mérési feladathoz lehet igazítani. Arra mindíg figyelni kell, hogy a méréssel reflexiót ne okozzunk.
(#) gtk válasza pucuka hozzászólására (») Júl 2, 2011 /
 
Ez jo bonyolult, amator szamara. Maradjunk csak szurok meresenel.
Vegulis szuro meresnel, ismerve a terhelo impedanciat (ami majd a vevoben terhelni fogja a szurot) lehetne alkalmazni azt a modszert, hogy az 50 ohm-so detektor bemenetet meghosszabbitani (+R) egy olyan ellenallassal amivel az 50+R kiadja a megfelelo terhelest (lezarast) a szuronek. Es igy merni relativ szintet. (?)
(#) pucuka válasza gtk hozzászólására (») Júl 2, 2011 /
 
Egyszerűen a szűrődet lezárod 50 ohmmal, (vagy a szükséges lezáró impedanciával), és a lezáró ellenálláson mérsz a diódás mérőfejeddel.
(#) Medve válasza pucuka hozzászólására (») Júl 2, 2011 /
 
Ezt meg én nem értem: alant volt említve:
"...vagy sávszűrő hangolásánál nem kell, nem is lehet lezárást alkalmazni,.."
Most pedig: "a szűrődet lezárod 50 Ωmal, (vagy a szükséges lezáró impedanciával).
Mit kell tenni tehát?
(#) pucuka válasza Medve hozzászólására (») Júl 2, 2011 /
 
Van sávszűrő egy áramkörben KF, bemeneti, stb beépítve Itt nem használhatsz lezárást, Harmónikus szűrő, üreges sáv, duplex szűrő esetén igen. A kristály, vagy kerámia szűrőt mérheted az áramkörben, és mérheted külön is. minden esetben a feladatnak megfelelően használsz, vagy nem használsz lezárást.
Amire válaszoltam utóbb, az egy konkrét önálló szűrő mérésére vonatkozott gtk kérésére.
(#) gtk hozzászólása Júl 2, 2011 /
 
Itt is az 50 ohm meghosszabbitasarol ir. Filter Termination:
(#) Medve válasza gtk hozzászólására (») Júl 2, 2011 /
 
Hello, mit értesz meghosszabbítás alatt?
(#) gtk válasza Medve hozzászólására (») Júl 2, 2011 /
 
Olvasd el a filter termination reszt. Hozzad az 50 ohm be/kimenethez egy olyan erteku ellenallast, ami a szuro be/kimeneti impedanciajat adja.
(#) szendi001 hozzászólása Júl 2, 2011 /
 
Elkészült a csoda állvány, most szárad rajta a festék. Holnap teljes lelkesedéssel állítom össze a műszereket. Vettem rá négy gurulós kereket, rá is hegesztettem, így odébb lehet tenni az egészet. Képek jönnek.
(#) szendi001 hozzászólása Júl 3, 2011 /
 
Ilyen lett az állvány. Persze fel lesz töltve a tetejéig, de pár cucc még nincs itt. Spaniferrel össze tudom kötni az egészet, és a háta mögé el lehet rejteni a betápokat. :smoke:

PICT0097.JPG
    
(#) Libus válasza szendi001 hozzászólására (») Júl 3, 2011 /
 
Klasssz, de tegyél bele polcokat, mert kellemetlen lehet, ha ki kell venni a legalsót
(#) pucuka válasza szendi001 hozzászólására (») Júl 3, 2011 /
 
Jaj a nyakam! Jó ötlet a polc, már csak azért is, hogy az oszlopok időnként össze legyenek kötve, nehogy kihasaljon.
(#) szendi001 válasza pucuka hozzászólására (») Júl 3, 2011 /
 
A kép a műszerekkel hangolt lódarázs rádiófényképezőmmel készült... Köszönöm a tanácsokat. Közép magasságba akarok egy polcot, valóban a bonthatóság miatt, viszont nem adta ki a magasságát a dolog egyelőre. Az igazság az hogy még nem mértem vele, akkor adja ki hogy jó helyre kerültek-e a cuccok. A tápok jellemzően jó helyen lesznek alul, aztán a hanggenerátorok jönnének. Közép tájba lenne egy szkóp messze a trafóktól, valószínű a polc lenne felette amire jöhet szignál. A tetejére könnyebb cuccok kellenek, van mérőhidas alkatrész paraméter vizsgálóm, illetve csöves cuccokhoz gyári labortáp, bár ezt restaurálni kell, mert szét volt döntve a bele, majdnem kukából jött. A cél a gyerekek és az asszony hisztijének kizárása mérendő körből, ugyanis 0,5 m *0,5 méteres helyben állapodtunk meg. Attól függ mit kell mérni oda lehet lökni a műszereket a panelhez és nem fordítva, így arra számítok elkészül pár dolog. A wobbleres könyvet még dolgozom fel.
(#) pucuka válasza szendi001 hozzászólására (») Júl 6, 2011 /
 
Visszatérve a mérőfejes kérdésre, az egyszerű diódás mérőfej kimenete lineáris a bemeneti feszültséggel. (a hibát leszámítva) Ez csak a szűrők áteresztő tartománybeli vizsgálatára alkalmas, mert a fele feszültség (6 dB) a függőleges kitérés felénél van. Ha a szűrők záró tartományát is vizsgálni akarod, akkor olyan mérőfej szükséges, aminek a kimenete és bemenete között logaritmikus összefüggés van. Ehhez ajánlom figyelmedbe az AD8307 áramkört, mely 500 MHz -is alkalmas, és a bemeneti RF, és a kimeneti DC jel között log összefüggés van.
(#) Gafly válasza Libus hozzászólására (») Júl 6, 2011 /
 
Valamint a levegő sem árt ha jól átjárja...
(#) szendi001 válasza pucuka hozzászólására (») Júl 7, 2011 /
 
Olvasom a könyvet a mérés elvéről, és itt is írják a zárósávi szakaszt. Egyelőre bármi jó lesz, szóval építek egy mérőfejet, és csinálok két mérendő szakaszt kb 10 MHz köré. Két hetes történet lesz szabadság miatt. Köszi a tanácsokat.
(#) szendi001 hozzászólása Júl 16, 2011 /
 
Egy kollegam becsatolta ezt a ket linket. Remelem talaltok benne hasznos elemeket.Bővebben: LinkBővebben: Link
(#) pucuka válasza szendi001 hozzászólására (») Júl 16, 2011 /
 
Előbb egy egyszerű diódásat építs, majd egy ugyanolyan tokba egy logaritmikust. Mindkettő elejére tegyél BNC -t, és arra aztán lehet tenni adaptereket, lezárást, mérődrótokat, amit csak akarsz
(#) szendi001 válasza pucuka hozzászólására (») Júl 22, 2011 /
 
Elmentem Ferkógyerekhez és kiokosított Wobbleres mérésből. Kimértük a helikális szűrőjét, nem kell hozzá mérőfej, de az nem árt ha jó helyre dugom a csatlakozókat. Sima 50 ohmos koax és 3 perc kellett a méréshez. A digitális DDS wobblere is hét nyelven beszél.
Közben utána nézve a dolgoknak találtam ezt a DDS modult. 7 e Ft-ért kiadja a színusz vagy a vobbulált jelet 60 Megáig készen. Mivel az IC is hasonló árban van ehhez csak egy AD atalakító kell és rövidre kész lenne a wobbler ez alapján. Mondjuk nekem személy szerint a nagy szovjet csoda jobban tetszik így méricskélek pár napot aztán megpróbálok belinkelni valami eredményt.Bővebben: LinkBővebben: Link
(#) szendi001 hozzászólása Júl 24, 2011 /
 
Most javítottam meg egy ilyen (EMG1832/b) labortápegységet. Szét volt barmolva hiányzott a stabilizáló cső meg az összes fűtés le volt szerelve. Persze a hálózati kapcsoló kiszerelése volt a legfontosabb a barmolónak. Na mindegy elindult, remélem a kondik még élnek benne.

Segítséget szeretnék kérni aTR2152-es mérőhíd használatával kapcsolatban. Ez eredetileg elemes, de kapott szimmetrikus tápot. Eddig jó is de négy kivezetlés van az elején. Próbálgattam őket kompenzátoros négyvezetékes bekötésben, de egyelőre csak az elem mérő funkciója működik. Idegesít hogy nem jó, mert a toronyban meg van a helye, de lehet hogy ki kell hagynom.Bővebben: Link
(#) szendi001 hozzászólása Júl 24, 2011 /
 
Mire jó ez a fórum Becsatolás közben meglett a másik gépkönyve is...Bővebben: Link
(#) pucuka válasza szendi001 hozzászólására (») Júl 24, 2011 /
 
Én mindenképpen helyreállítanám, ha a legértékesebb része, a híd alkatrészei épek. A többi könnyen javítható, és utánépíthető is akár.
(#) szendi001 hozzászólása Júl 26, 2011 /
 
Sziasztok! Az alábbi könyvet keresem digitálisan, ha valahol még fellelhető:
Rózsa: Amatőr mérőkészülékek építése
Köszi: Joe
(#) Ge Lee válasza szendi001 hozzászólására (») Júl 27, 2011 /
 
Egy ilyen volt nekem is de abban a műszer vasa volt darabokra törve.
Következő: »»   8 / 53
Bejelentkezés

Belépés

Hirdetés
XDT.hu
Az oldalon sütiket használunk a helyes működéshez. Bővebb információt az adatvédelmi szabályzatban olvashatsz. Megértettem