Fórum témák
» Több friss téma |
Fórum » Labortápegység készítése
Sziasztok! Nekem szükségem van egy 40-50 Voltos tápra.
Ezt megépítette már valaki?
Hi!
Megépítettem PCB féle tápját, de valami nem működik. Az előző hozzászólásokban találtam egyet, amiben leírták, hogy az IC egy lábain hány voltnak kéne lenni. Nekem minden stimmel kivéve a 9. láb, mert ott 0,5-1,1V körüli a feszültség. Ja a hibát elfelejtettem leírni A feszültséget nem tudom rendesen szabályozni, vagy néha nem is tudom. A poti min állásában 2,2V max állásban pedig 25V van a kimeneten. De a potit óvatosan tekerem akkor elkezd ugrálni a feszültség, de nem áll be, hanem egy idő után 25V lesz a kimeneten a poti állásától függetlenül. Azt szeretném kérdezni, hogy nem tudtok valami tippet adni, hogy mit kezdjek ezzel a hibával?? Üdv: puby
Talán a Potid kontakthibás kezd lenni .
Próbáld ki hogy kikötöd a potit és 2 db fix ellenállásból csinálsz 1 oszót azokat kötöd be a poti helyett. Ekkor nem kéne mászni a fesznek mivel fix ellenállás osztó határozza meg a kimenőt. Ennek ellenére is mászik a feszültség akkor nézelődjél a referencia fesz előállító áramkör környékén. Valamiért mászhat a referenciád .. de ennyire nem kéne neki változnia több 10 voltot ... (hőmérséklet változás elhúzhatja)
Hi!
Kicseréltem a mindkét poti, de így sem működik De szerintem az eredetiek is jók voltak, mert az IC 10 lábán ahova referencia fesz érkezik ott rendesen működött, tehátt a potival 0,0-6,8V-ig tudtam szabályozni, és nem ingadozott egy cseppet sem. Viszont a 9. lábon volt némi ingadozás 0,3-1,1. Ez nem lehet baj?
Még az zavar, hogy a kimenő feszt nem tudom 2V alá csökkenteni, pedig az IC 8. lábán le tud menni 0-ra.
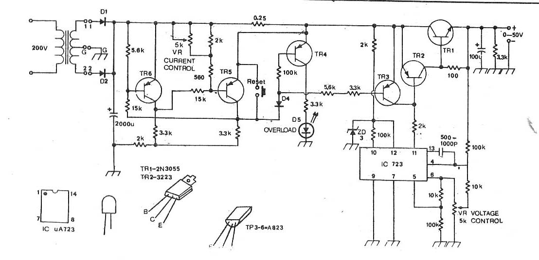
Találtam egy másik kapcsirajzot, amit jobbnak látok, mert sokan dícsérik öregsége ellenére a 723-at.
Ez egy lebegőtápos megoldás ugye? Szeretnék segítséget kérni valakitől a rajzzal kapcsolatban. Annak a Zener diódának hány voltosnak kell lennie? Mire való a rajzon az a reset gomb? Megköszönném, ha valaki segítene. Köszi
na méregettem még egy picit és arra jöttem rá, hogy a P4-es potival nem tudok semmit csinálni. Se a kimenő feszt nem tudom állítani sem pedig az IC 8. lábán lévő feszt.
Szia !
Mindenből azt használod ami irva volt a rajzon ? Csak azért kérdezem mert ebből már készült pár, és minden bogarászás nélkül ment mind. Üdv!
Hi!
Igen, minden ugyan az! csak a két zener diódát cseréltem ki nagyobb teljesítményűre, de az értéke ugyan az!! Az IC 9. lábán nem baj hogy ugrál a fesz??
Hi!
Hát én lehidalok! kicseréltem a zenert, ami a rajzon van és jó lett. Még egyvalami zavar, hogy néha az IC B része nem akar működni, de aztán jó lesz, azt olvastam már ebben a témában, hogy egy 100pf kondit párhuzamosan kötök a 6,8V-os zener akkor az úgy jó lesz vagy valami más lehet az oka. Még valami, az áramot úgy tudom mérni, hogy a kimenetre egy 1ohmos kötök és vele sorba az ampermérőt, ugy??? kösz a segítséget: puby
Áramot úgy tudsz mérni, hogy a kimenettel sorba kötsz egy 1Ohmos ellenállást, és méred az ezen eső feszültséget, és a mutatott érték az áramerősséget mutatja!
(I=U/R, ha R=1Ohm, akkor I=U)
Szia !
Legyen az az 1 ohm inkább 0,1 vagy 0,22 ohm 10W Üdv!
puby88!
Nem tudom melyik kapcsolást építetted meg, de ha már van benne áramfigyelő ellenállás (tuti hogy van) akkor én biztosan azt használnám árammérésre is. Egy új soros ellenállás nagyon lerontja a tápot, mivel az már a szabályzás utánra kerül. Emiatt megnő a táp belső ellenállása és terhelés hatására csökken a kimenetén a feszültség.
Mindegy mekkora, az mindenféleképp ront a belső ellenálláson. Csak az a kérdés hogy ez milyen mértékben elfogadható. Egy labortápegységnél semennyire.
Meg persze az is lehet hogy az áramfigyelőről kapott feszültséget nem áll módunkban erősíteni (és a műszer méréshatárát sem tudjuk csökkenteni), ilyenkor nem lehet kisebb ellenállást betenni. Üdv.! Idézet: „Egy új soros ellenállás nagyon lerontja a tápot, mivel az már a szabályzás utánra kerül.” Miért? Lehet elé is tenni. Tervezési kérdés.
Szia !
Ez a táp amiről szó van, elbírja a 0,22 ohm -t (100%) Ha rendesen beálltod, ez egy nagyon jó kis kapcsolás. Pici analóg műszerek általában pont az ilyen mV -os tartományban működnek. De mindentől függetlenűl ott van benne a 0.22 ohm azt is lehet használni. Üdv!
Én is erre céloztam a #114148-as hozzászólásomban, a megszólítás utáni első mondatban.
Ok köszi, akkor majd megpróbálom úgy.
És arra nem tudtok semmit mondani, hogy néha mért nem "indul" be a táp, amit előbb írtam (csak nem a B műverősítő, hanem az A-nál), mert amikor nem működik, akkor 5,6 és 7. lábakon 0 volt van, erre nincs semmi ötletetek, hogy mért van így??? És ha jól gondolkodom, akkor a 0,22ohmos ellenállással párhuzamossan kötve egy panelműszert méri a max áramot, de aztán lehet, hogy hülyeség... Üdv: puby
Hopp, na most lebuktál barátom!
Te írsz a másik fórumba is! :yes: Akartam oda is írni neked, de most hogy tudom hogy ugyan az az emberke vagy, elég egy helyre...
Szia !
Párhúzamossan kötve az aktuális áramfelvételt méri. A műszerrel köss sorba egy potit, akkor be tudod állítani pontosra az árammérést. Analog vagy digit műszered van ? Ha analog akkor tegyél egy 3-4 állású kapcsolót, hogy tudj méréshatárt váltani Pl: 500mA - 1.25A - 2.5A - 5A (skálától függ persze) Üdv!
Lemaradt...
Az hiba, annak nézz utána valamit vagy rosszul forrasztottál be vagy .....
Hát tényleg lebuktam, de szeretek biztosra menni.
Amúgy még a műszer csak tervbe van véve, de majd egy digit műszert akarok építeni (ICL7107-el), addig csak sima multiméterrrel próbálgatom üdv: puby
Mekkora kimenő áramot tud a tápod? (Mennyit szeretnél maximum mérni?)
Mennyire pontosan szeretnéd mérni az áramot (esetleg feszültséget)?
Egyébként hagy mutassam be az én tápomat.
(Az alapja az Urbános táp volt, ezért nem teljesen a saját kapcsolásom.)
A trafó 2A-es, ennyi pont elég lenne, a táp 5A-esnek van írva.
Nem akarom teljesen pontosan tudni, csak kb, hogy mennyi a max kimenő áram 0,1 pontosság bőven elég.
Ha nem fontos a nagy pontosság akkor nem kell méréshatár-váltó kapcsoló, ha pedig 2A is elég, akkor meg aztán pláne nem. Az ICL7107 úgyis ez fölött (1999) mutat túlcsordulást. Én is pont ezért terveztem a tápomat két Amperre úgy ahogy.
Nézd meg a #114196-os hsz.-nál linkelt tápom rajzát, abból az ICL7107-es rész úgy ahogy van jó neked, ha érted a kapcsrajzról hogy hova kösd be a saját tápodba akkor hajrá, ha nem akkor szólj és berajzolom!
A másik fórumon is ezt irtam:
Attila! Nem tudom milyen fázisban van a labortápprojekted,de a helyedben ha még nem késő áttervezném a DVM tápellátását. Az analóg közös pontot, és a relative nagy áramot vivő DGND fóliasávot ily módon nem szabad kivitelezni,mert a kijelzők változó áramfelvétele feszültségesést hoz létre az adott fóliaszakaszon. Ennek következtében elmászik a referenciafeszültség is,össze-vissza ugráló kijelzés lesz az eredmény.Külön kell vezetni a kétfajta GND-t,"csillag"alakban elágazni a betáp ponttól. A másik alternativa pedig: stabil referenciafeszültséget létrehozni,de erre találsz példát az ICL adatlapjában. A többiek lehet hogy nem értik miről van szó,mert most veszem észre a nyákrajzot nem publikáltad. Utólagosan is bocs. |
Bejelentkezés
Hirdetés |











