Fórum témák
» Több friss téma |
Fórum » Csöves erősítő készítése
Ne feledd betartani a fórum viselkedési szabályait, és a topik megmaradásának feltételeit. [link]
A téma átmenetileg fagyasztva lett, hozzászólni nem tudsz!
Überellek. Vannak olyan vélemények, hogy például a PCC88 akár jobb is lehet, mint az ECC88/E8CC!! És még elfogadható magyarázata is van.
Nem értem. Meghirdették, ennyit adtak érte. Aki nem tud olvasni a sorok között, vagy nem ismeri a cápákat: ne menjen a jégre.
Attól a jó csövek árai csak emelkedni fognak. Ez már nem a börzéről szól, sajnos. Idézet: „Miért az ECC katódjára csatol akkor vissza?” - Hogy a vcs. az ECC fesz.erősítő fokozat torzítását is csökkentse - Ehhez a "gyorsító" RC-tagos kompenzációhoz viszonylag nagy nyílthurkú erősítés kell.
Kollégám még egyetemista korában járt gyárlátogatáson a Tungsram kaposvári gyárában. Ott mondták, hogy a hölgyek a gyártósoron tíz évig bírták maximum, utána a "szemük már nem volt a régi". Annyira igénybe vette a látásukat az apró alkatrészek összeszerelése. Nem csodálom, hogy a kínaiak még most sem gyártják az ilyen bonyolult csöveket, sok emberi munka is kell az összeszereléséhez.
Ha már az áraknál tartunk: tegnap reggel még 1490Ft volt a Conradnál a PCL86, délután óta már 1790Ft ![]() Én a használtabb, de még használható, nem gázos PCL86-osaimat 277Ft/db áron adtam el. Mindet 20 percig teszteltem, mérve az anódáramot és a pentóda rácsfeszültségét 470K-s rácslehúzó ellenállással, amelyik 0.5V fölé kúszott, kikukáztam.
Kedves Topiklakók!
Szeretném felhívni mindenki figyelmét, hogy erre a témára az elmúlt pár napban folyamatosan érkeznek a moderációs kérelmek. Természetesen nagyon szívesen elvégezzük a kért műveleteket, viszont mostanában a legtöbbjére egymás közötti személyeskedés miatt van szükség. Kérlek Titeket, hogy őrizzétek meg a nyugalmat és a higgadt hangnemet a topikban, ne kelljen mindig vissza-visszajárni rendet rakni. Köszönjük szépen. (T)
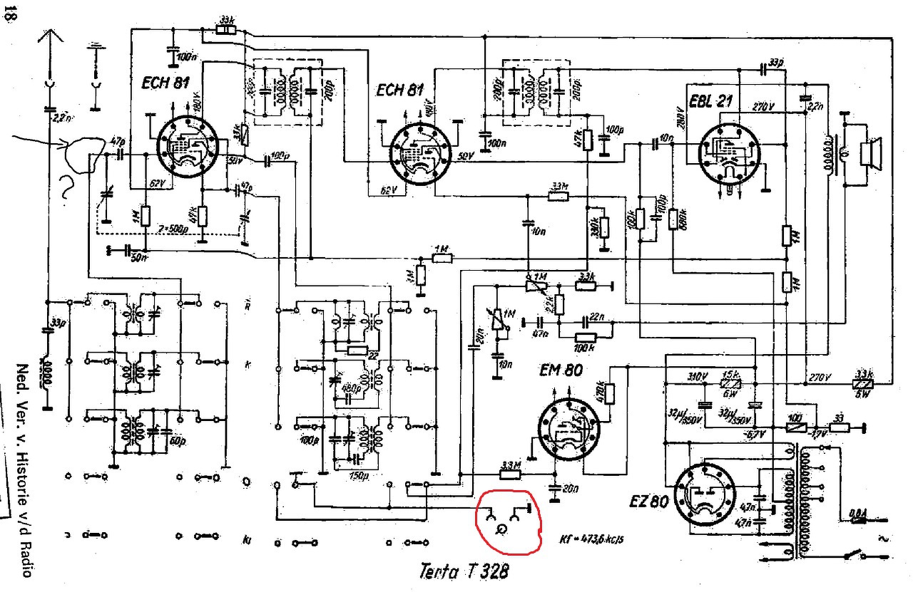
Sikerült szert tenni egy leharcolt állapotú rádióra amit gitárhoz akarok átalakítani. Az elő és végfok csövek már rá nézetre cserések. Na már most. Hol tudnám a gitár jelet bekötni?
Általában, úgy látom itt is, van egy "Q" jelű bemenet, például oda.
Most építek először ezért bocs az értetlenkedésért. Ide?
Pirossal bekarikáztam neked.
Kösz habár nekem így töltötte be:
Sziasztok! Ma szert tetem erre az erősítőre. Novik 1202 black fire. Valaki ismeri? Az eladó azt mondta nem működik, de nem tudta megmondani mi a gondja. Valaki már belerakott egy kapcsolót, ami az egyik csatorna anód, és rács feszültségét kapcsolja le. A hálózati trafó halt meg(elég sok viasz kifolyt belőle). Csövek nélkül kipróbáltam. Nem volt benne a primer oldali biztosíték, így raktam bele egy 2,5A-t. A bizti egyből elszállt. A szekunder oldali bizti ép(2A). Remélem a kimenők meg menekültek. Kaptam kapcsolási rajzot, de nincsenek feszültségek rajta. Itt kezdődnek a gondok. Tud valaki segíteni? Trafót még nem tekertem. Kezdjem el lebontani míg meg nem találom a hibás tekercset?
Ha a stand-by ki van kapcsolva, akkor egyértelmű trafóhiba. Lehet primer, de szekunder oldali menetzárlat is. Nehéz ügy. Valószínűleg jó az utolsó mondatod sajnos.
Szerintem csak elég lenne kikötni a szekunder oldalt először, és újra próbálni, hátha ott van zárlat. Nem kell egyből baltával rohanni a fának. Ha úgy is ellövi a biztit, akkor a trafód hibás. Érdemes a primerrel villanykörtét sorba kötni, azon látod majd ha tényleg zárlatos, és nem a biztosítékokat lövöldözöd vele.
Lehet hogy feleslegesen bombáztam szét a gépet? A hangszóró meg se nyikkan sőt mérni se tudom.
Ha 110-127V-ot adnál a primerre? Az oroszoknál volt ilyen hálózat.
Idézet: „Szerintem csak elég lenne kikötni a szekunder oldalt először, és újra próbálni, hátha ott van zárlat.” A szekunder oldali zárlat a stand-by kapcsoló kikapcsolásával, csövek kihúzásával kizárható.
Én lepróbálnám másik hálózati trafóval (esetleg több darabbal) nincs azon olyan sok szekunder tekercs.Kell egy 6,3V, egy kisáramú tekercs a biasnak, meg az anódtekercs.Így megállapítható lenne hogy az erősítő többi része működik-e, főleg a kimenőkre gondolok.
A hozzászólás módosítva: Feb 10, 2016
Én első lépésként a táptrafó minden kivezetését lekötném (primer, szekunderek). Ezután kimérném legalább ohmosan az összes tekercset, de ha lehet induktivitásra is. Ebből azonnal kiugrik, ha valami gáz van valamelyik tekercsben. A tipikus értékek primernél: párszor 10 ohm (50-70-100, ilyesmi), 1-3H. Szekunder:anód, kb. hasonló, mint a primer. Fűtés(ek) 1-2ohm, pár mH. Bias, ha van: pár 10 ohm, mH-s nagyságrendű induktivitás. Ha zárlat van, az itt kiugrik. Ha nincs, akkor lehet továbbmenni a tápban.
A primeren 4 Ohmot mértem. A többi rendben volt(nagyjából az általad megadott adatok). Elkezdtem szétszedni. Ahogy közeledtem a primer tekercsekhez, úgy lett egyre jobban égett szagú a cséve. Égésnyomot nem láttam sehol(gondolom menetzárlat, a zománc sérülhetett). Most úgy néz ki, megfogom tekerni életem első trafóját. A menetszámokat rétegrendet felírtam. Megrendelem a huzalokat, aztán meglátjuk.
Ha a lakk odaégett, azmár attól pereg, ha meghajlítod. Ha egyszer leszedted nincs visszaút.
Szerintem nem volt más választásom
Nem biztos, hogy újra tekerném. 1. szerintem nem az eredeti hálózati, a 3. képen látható alulról az eredeti kisebb trafó négy felerősítő furata. 2. Nagy böhöm, nincs kitöltve az ablakkeresztmetszet. 3. Buher, már amennyiben a fotókról kivehető. Lehet, hogy sz..l volt méretezve, ezért égett le, újratekerve is le fog égni. 4. Az orosz hipersil vasak sok gyári hibával terheltek, pl. nagy (tűrésű) légrés, emiatt búg.
Kell bele egy korrekt, új trafó. Utána lehet tovább lépni. Szerintem. A hozzászólás módosítva: Feb 10, 2016
Szétszedés közben felmerült bennem is ez a gondolat.
Most már csak az a kérdésem, hogy tudom feléleszteni az erősítőt? Elvileg rokonságban van a Gibson red bear mk120 erősítővel.
És hamár úgyis újra/újat kell tekerni, akkor hálózati feszültség emelésével is érdemes számolni.
Szerintem is a legjobb irány újratekerni, lehetőleg pontosan-gondosan. Vagy..., még inkább számold újra az egész trafót, hogy minden strimmel-e? A huzallal még annyit várnék, hogy ha nem is számolod teljesen újra az egész trafót, legalább töltsd ki az ablakkeresztmetszetet és tekerj nagyobb huzalátmérővel, főleg ott ahol ez a rá jutó terhelés alapján indokolt. Végül is így se lehet megúszni számolás nélkül.
Ha a mag túl is volt esetleg terhelve valamennyire (ez mondjuk nem nagyon valószínű, de ne zárjuk ki), legalább a tekercsek ne legyenek.Hasonló helyzetben, ha már úgyis újra kell tekerni, én venném a fáradtságot és teljesen átszámolnám az egész trafót (legalább ellenőrzésképpen) és mindenképp rendesen újratekerném, kitölteném teljesen az ablakot (és csinálnék egy rendes csévetestet is). Szerintem ez a legmegnyugtatóbb megoldás. A hozzászólás módosítva: Feb 11, 2016
Üdv!
Egy ATP100 kimenőtrafója használható lenne csöves erősítő kimenőjének? (áttekercselés nélkül)
Nem...
Az APT-100 kimenőtarfója az APX-100 csöves erősítőnél visszafelé kötve működik. Viszont ettől ne várj minőséget.
|
Bejelentkezés
Hirdetés |

















