Fórum témák
» Több friss téma |
Vannak üres plusszos dobozaim, ha érdekel és megfelelő, akkor kaphatsz belőle. 27mm belső átmérő, kb. 130mm hasznos hossz, esetleg még +5mm.
Az adót majd megpróbálom visszarajzolni. Annyit elmondok elöljáróban, hogy több verzió is van, nekem az a verzió van meg, amin nincs tranzisztor. Kb 1Khz a kimeneti frekvencia. Viszont arra figyeljetek, hogy az adó elvileg 60 Voltig van biztosítva csak!
Átnéznétek?
PTS200 adó elvi rajz, valamint akkor már legyen együtt, Béka nem fog érte haragudni...a vevő is: A hozzászólás módosítva: Nov 10, 2016
Ehhez a nyákhoz az kevés, legalább 14-15 centi hosszú kellene hogy az elem is beleférjen. Meg a nyákot is túl szélesre terveztem, az átmérőbe se férne bele. Lehet hogy kerítek egy nagyobb méretű rossz távirányítót, és abba operálom bele.
Azt néztem én is hogy valamiért nagy feszre terveztek, azért van benne a 4004 meg a 250V-os kondi. Csak azt nem értem hogy miért. Gondolom a rendezőben is üres érpárokat vizsgálnak vele, meg a hálózatot is úgy nézi az ember hogy lekapcsolja róla a feszt. Szóval feszültségmentes érpáron nincsenek 100V-ok, semennyi sincs csak amit rányom az adó. Hacsak a több km hosszú telefonvonalak nem szednek össze valami nagyobb feszt, induktívan vagy kapacitívan.
Majd átnézem de elsőre jónak tűnik. A második megy olyan 1kHz körül, az első meg megrángatja a cont lábát néhány Hz-el, így lesz vinnyogó hangja. Lehet hogy a szimpla adó is jó lenne, de ezzel a modulált hanggal talán könnyebb a keresés a zajosabb helyeken, azért csinálták ilyenre.
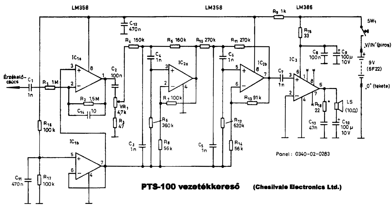
A vevőnél meg IC1a erősít egy picit, IC1b csinálja meg a féltápfeszt a 3 műveleti erősítőnek. IC2a egy 1kHz-es sávszűrő erősítő olyan 18dB körüli erősítéssel, IC2b ugyanez csak 560Hz körüli frekire. Az LM386 meg a végfok. Az R9-re szerintem semmi szükség, az enyémből ki fogom dobni próba képpen. Meg a végfoknak se a tápjába kellene a 33 ohmot betenni áramkorlátozás gyanánt, hanem a kimenetre a hangszóró elé. Piezo zümmerrel próbáltam először de azzal kis hangja van, ha nagy a háttérzaj alig hallani. Kisméretű dinamikus hangszóróval már jó.
Pl koaxnál(mivel ezt akár ahhoz is használható, ha olyan a kimeneti csatlakozó) akár 100-150V is megjelenhet a csipeszeken. Meg gondolom épp ezeket kapták legolcsóbban.
Két kérdés: hogy tudom megoldani, hogy az adó akár 400V Ac-re is használható legyen, és hogy három fázisra használni lehessen?
És mégis mitől, ha a kábel mindkét vége szabadon lóg?
Az a baj hogy már a kérdést sem értem. Vezeték érpárok keresésére lett kitalálva, mit keres ott a 400V? Egyébként a feszültség alatt lévő kábelt is jelzi a vevő 50Hz-es berregéssel, nyilván nem olyan jól mint az adó jelét.
Azért kellene a 400V, mert van ami delej alatt van, és egyenlőre kb fogalmunk nincs, hol az elosztó, stb... Ez csak azért kell, hogy ne nyírjam ki az adót, ha esetleg ott a 400V a drót egyik végén. A fontosabb lenne, hogy a 3 drótra egyszerre tudjak jelet adni, és ne kelljen a kiindulási ponthoz folyton visszatérni, hanem egy vezetéket egy kereséssel tudjak azonosítani, mivel jellemzően három fázisú vezetékek vannak a falban...
Ha a kimenet védelmét megoldod már csak 3 adó kell. ( esetleg kondenzátorral szétosztani.)
Én arra gondoltam, hogy csinálni kell egy olyan adót, aminek 3 kivezetése van(lényegében két adó ,,egybegyúrva") és az egyik x, a másik y frekvencián adja a magáét. Csak még a kivitelezésén agyalok.
Sziasztok. A házamban az elektromos vezetékek ujonnan lettek kiépítve es nagy okosan a riasztó, kaputelefon, és internet vezetékeit előre behuzattam a falba. ezek a kamrában egy dobozba jönnek össze, hogy a riasztó központjába be tudjam őket kötni és minden más is egy helyen legyen. természetesen a szerelő nem címkézte a kábeleket így fogalmam sincs, hogy melyik micsoda. (hogy melyik UTP melyik szobába megy ill, a a riasztó köreiből melyik ablakérzékelő, melyik mozgásérzékelő, és melyik meg a vezérlőhöz, és melyik a kaputelefon. Egyik rokonom szerint pofonegyszerű a megoldás, csináljak egy aladdint. Ami annyit tesz, hogy egy elemtartó krokodilcsipesszel az egyik doboz, amit a szobákban a kábelek végére teszek, valamint egy csipogó krokodilcsipesszel, amivel a kamrában megkeresem azt a vezetéket, amitől becsipog és kész is. Ez tök jó meg is tudom csinálni, párszáz Ft az egész. Ehhez képest tud valami többet egy párezer Ft-os érpárkereső? Érdemes inkább megvenni a szerszámot vagy bőven elég az elemes-csipogós bigyó amit összeütök?
köszönöm
Az érpár kereső akkor tud hasznos lenni, ha totálisan fogalmad sincs hova mennek a vezetékek végei, pl lakásban az ajtó fölött vannak a régi telefonbekötések, de a lakásban élőknek meg kb fogalma sincs hol a vége, mert felújítás volt, vagy valami más okból. Ilyenkor roppant hasznos tud lenni az általunk használt vezetékkereső, mivel múltkor konkrétan úgy jártunk, hogy hostelben minden szobához behúzták az utp kábelt, és a koaxot. Minden kábel fel volt már szerelve egyik végén dugóval, a szobában lévő végén meg fali dugaljban végződött. Eddig szép és jó volt, csak valahogy a bejövő telefonvezeték végét nem találtuk, ami a szekrényben elhelyezendő gtw-hez vinné az internetet. Mint kiderült, az ,,ügyes" villanyszerelők fogták, és gipszkartonozásnál elcsípték tőből a vezetéket, aminek a vége az lett, hogy a gipszkartonban a vezeték végénél kellett egy 10x10cm lyukat vágnunk, és oda rácsatlakoztatni a vezetéket fentről az egyik elosztódobozból. Ha nincs a vezetékkeresőnk, akkor még annyi fogalmunk sem lett volna hol a vezeték, mint a keresővel.
A készülék előnye, hogy kontakt nélkül. kb 30 cmről bejelez. Ára netről kb 4000 Ft. A barátod ajánlása kb egy multiméterrel egyenértékű. Ez a készülék meggyorsítja a munkát, ráakasztod a szobában és pillanatok alatt megtalálod a kábelt, címkézheted. Koaxra is jó de csak szabad végre. Ha osztó, aljzat van rajta akkor nem , mert az adó jele zárlaton nem megy át.
Ja, ennyi pénzért bedobozolva csipesszel RJ11 el szerelve megéri e vesződni vele. Cable tracker néven keresd A hozzászólás módosítva: Dec 27, 2016
Neked a műszeren vagy egy izzó-elem pároson kívül másra nincs szükséged. A kábel egyik végén rövidzárat csinálsz, a másik végén meg kutakodsz a műszerrel, vagy virítod az izzót.
A vezetékkeresőnek benne van a nevében hogy mire való. Elsősorban telefonvonalas alkalmazásra találták ki, amikor bemész a rendezőbe, és az előtted lévő mondjuk 200 érpárból ki kell választani azt az egyet amelyikre éppen szükség van a másik végén, ami mondjuk tőled 3km-re van. A másik alkalmazási módja ami miatt én is építettem az az, hogy meg kellett fúrni néhány helyen a lakásban a falat, közvetlenül a hálózati kábelek vélt helyének közelében, és nem szerettem volna belefúrni a kábelbe, de ugye fogalmam sem volt hogy hol megy, mert pl. a folyosó egyik oldaláról a mennyezetben vitték át a másikra. A vezetékkeresővel pedig szépen végig tudtam nézni a kábel nyomvonalát, kb. centis pontossággal. Nem a több tízezer forintos gyárival mert az konkrétan sz@rt sem ér, hanem azzal aminek a rajzát itt fentebb megtalálod. Nekem nagyon megérte az a néhány száz Ft amibe került, meg az az 1-2 munkaóra ami alatt összeraktam.
Szia. épp most jöttem a conradbol. Igen a tizenezres műszer valóban nagyon jó lehet, de egy riasztó és egy kaputelefon bekötésen túl még a szobai LAN kábeleket kell felcimkeznem, kb erre kellenek, ill azt tudom, hogy az egyik LAN kabelen nem jön net, itt érdekes lenne hogy sérült-e a kábel vagy csak a fali csatlakozó bekötése rossz. DE ennyi a cél. Próbáltam venni mindenféle műszerdobozokat, ledeket, csatlakozókat, de a conrad elég spórolós, és kb a fele nem volt és nem is tartanak. Hazafele meg rájöttem arra is amit mondasz, hogy elem plusz led és kész. Ha egyszer kell, akkor nem kell több de szerettem volna rendesen megcsinalni. de a multiméteres rövidzár megoldás tetszik az eszembe se jutott, hisz azon is van csipogó és így nem kell semmi a másik oldalra. Köszi a tippeket. Ha egyszer látok párezerért valamit ami jó ( a conradban konketan 8000 Ft volt az elem-lámpa csipogó, de tényleg nem tudott többet, uh azt sokalltam) akkor beszállok, különben marad a multiméter. Köszönöm mégegyszer!
Sziasztok!
Kérdezném,hogy a PTS-100 vezetékkereső vevőjében a C14 kondenzátor az 10 pikofarád? Köszönöm!
Igen. Nekem éppen nem volt oda 1,5 megám SMD-ben, meg némileg nagyobb erősítést akartam, így az R2 nekem 2M2, a C14 pedig 6,8pF. Ha van hálózati fesz a vezetékben az 50Hz-et is simán jelzi brummogás formájában, persze halkabban mint az adója jelét.
Köszönöm! Én 3db. 1M ellenállásból raktam össze,az egész áramkör furat szerelt alkatrészekből van,nincsenek smd alkatrészeim.Jól működik,bár az LM386 erősítését megnöveltem kb 100 szorosára.Most az adó jelét 15cm távolságból is lehet hallani s ahogy közelítem egyre erősödik.A hálózati 50Hz-et is szépen veszi,ez valóban halkabb,de még értékelhető bőven.Nincs árnyékolás a panel hátlapján,de lesz és még kicsit finomítok az egészen.Nem volt TLC556 icm az adóba,most egy SA556 van benne,ezzel is jól működik.
Majd ráérő időmbe megpiszkálom én is a 386-ot mert azt még nem próbáltam. Az első fokozat erősítését vettem jóval nagyobbra de az nem vált be mert begerjedt tőle az egész. Az a 15 centis dolog nem biztos hogy jó lesz hogy ha egy olyan helyen kell kutakodni ahol tele van vassal a fal meg a födém. A társasházban ahol használnom kellett ott van minden téglasorban elhúzva egy merevítődrót is, vasbeton az aljzat és a födém is. A födémben esélytelen volt bármit keresni pedig ott vitték át a delejt, mert arra is jelzett vagy fél méter szélességben. Tehát a kábel heylét csak megsaccolni tudtam, úgy 20 centis pontossággal. Még jó hogy nem ott kellett megfúrni a falat.
Nálam az az árnyékolás, hogy hagytam egy alkatrészlábat az akku mellett a negatívra kötve, és azt menet közben megfogom (nem dobozoltam be, a 9V-os elem a nyele, ehhez fogom hozzá a lábat). Így nem zajos, teljesen csendben van ha nincs jel. Idézet: „Az a 15 centis dolog nem biztos hogy jó lesz hogy ha egy olyan helyen kell kutakodni ahol tele van vassal a fal meg a födém.” Állítható az LM386 erősítése,én egy 10µF-4,7K poti soros kombinációt tettem az 1 és 8 lábakra.Ami még fontos,természetesen gyakorolni és megtanulni a használatot a következő lépés és még szeretném dobozolni is.
Tisztelt Ge Lee. Szeretnék megépíteni egy ilyen vezeték keresőt.Sok gyári típust kipróbáltam, egyik sem igazán vált be.A kollégáim vezetékeltek . a rigipszesek tették a dolgukat.Nekem meg megkéne találnom a nyomvonalat, vezeték végeket. Szerintem ez az eszköz sokat tudna segíteni a dologban nekem.Ha lennél szíves egy dokumetációt, az az ami szerint megtudnám építeni,annak nagyon örülnék. Előre is nagyon köszönök mindent. Email cimem: istvn.szkely@gmail.com
Ugyan szét van szórva a dolog az utolsó két oldalon, de ettől többet nem tudok én sem adni. Végig kell olvasni, talán még a működését is leírtam, egyszerű, primitív áramkör az egész. Van a PTS 200 nevű adó, ami egy 556-tal egy modulált vinnyogó hangot ad, ennek a jele bele van vezetve a hálózatba (természetesen lekapcsolt, azaz feszültségmentes vezetékhálózatba), a PTS 100 vevő pedig ennek a jelét erősíti fel és teszi hallhatóvá egy hangszóróban. A nyomvonal szinte cm pontosan végigkövethető vele a falban, baj csak akkor van ha tele van dróthuzallal a fal (pl. vasbeton födém), mert akkor azok a drótok is sugároznak valamennyire, és szinte az egész épület vinnyogni fog, de akkor is használható.
Ha jól emlékszem ezen nyáktervet építettem meg, annyi különbséggel hogy az adóban csak a legszükségesebb alkatrészek maradtak, a többit be sem ültettem. Illetve a vevőből a potit is elhagytam, az erősítés fixre van állítva.
Akkor panelfalban, az elvakolt, síkba csiszolt 25 réteg festékkel elfedett, letapétázott kötöződobozokat ezzel is elég nehéz betájolni?
Kipróbálod és kiderül, nekem sokat segített. Ha nem, akkor kidobtál az ablakon néhány üveg sör árát...
Mivel az adóval az érpár elektromos erőteret gerjeszt maga körül, teljesen mindegy hogy 25 vagy 125 réteg festék van-e fölötte, ami zavaró az a falban futó egyéb fémszálak (horganyzott cső, drótszál a téglasorok között és egyebek). Ha az a panel vasbeton, akkor ott is vinnyogni fognak a vasak is, de ez nem jelenti azt hogy biztosan nem találod meg a nyomvonalat. Nálam sokkal többet segített, mint a 250 ezer forintos, kimondottan ilyen célra készült gyári vezetékkereső, ugyanis az semmit sem ért.
Sziasztok!
Az a kérdése,hogy hogyan lehetne növelni a kimeneti jelszintet? A 100nF és a 2,7k változtatásával megoldható? |
Bejelentkezés
Hirdetés |











