Fórum témák
» Több friss téma |
Fórum » Labortápegység készítése
Kár ennyire túlbonyolítani. Minél több cuccot raksz bele, annál nagyobb az esély a meghibásodásra és annál drágább is.
Sziasztok. Tegnap elszállt a labortápom trafója. Gondoltam, hogy áttekercselem, de talán jobb lesz ha legyártatom. Ha gyártatok, akkor viszont érdemes elgondolkodni, hogy nem kellene-e egy jobb, megbízhatób labortáp.
Arra gondoltam, hogy hátha tudnátok ajánlani is kapcsolási rajzokat. Az elvárásaim: Legalább 0 - 30V/2A Dualban is gondolkodok... Másik kikötés, az, hogy nelegyen benne egy csomó TO-03 as tranyó... Nincs, annyi helyem a dobozon/ban. A legjobb lenne, ha csak egy lenne, TO-220 as lehet több. Áramhatárolás kellene, az árammérő sönt jó lenne, ha pozitiv agban lenne, mivel az Attila86 féle DPM-et szeretném használni. Tudnátok ajánlani kapcsolási rajzokat? Esetleg ötleteket és valamit, csak ki tudnánk eszelni. Mindenki segítségét várom és köszönöm szépen. Mindenkinek szép vasárnapot kívánok.
Na ezért áll ennyi oldalból ez a topik, mert mindenki a végére köhögi, mit akar, és lusta elolvasni a topikot.
Amit írtál avval teljesen egyétértek.
Én elolvasnám, sőt olvasom is a topicot. Sajnos a labortápom akkor szállt el amikor a legnagyobb szükségem lenne rá. Mire ezt a 288 oldalt elolvasom, addigra megőszülök és labortápom se lesz. Most kértem árajánlatot a régi tápforrásomhoz. Ha jó árban lesz, akkor a problémám meg is oldódott, mivel se drótom, se időm, hogy ujra tekerjem.És valószinú, hogy megint elszáll, mert a huzalok alul voltak méretezve.
Uraim !
Szerintem ideje lenne készíteni egy táblázatot vagy alapszbájt vagy nevezzük el valaminek hogy mi is az a LABORTÁP . Le kellene szögezni az alap elveket (talán táblázatban) fajták szerint . Mert szerintem igencsak elkalandozik a topikunk és ha valaki megcsinálja akkor ide felrakni ugy hogy mindeki aki ide látogat rögtön megtalálhatja és ki tudná keresni belőle hogy mire is van szükége . Lehetne úgy megoldani hogy rögtön ott legyenek a linkek egyegy megoldásra . Szerintem sokan nem is igazán értik mit jelent a LBORTÁP kategória. Soknak csak feszülségszabájzos táp kell. Lehet hogy butaság jutott az eszembe de úgy érzem szükség lenne valamire hogy rend is legyen !
Én nem várok el senkitől semmit. És meg is köszöntem előre is a segítséget, olvasd el mégegyszer. Viszont elnézést kérek attól aki félreértett. Az elvárásaim a labortápegységre vonatkoznak. Másik dolog az, hogy nem muszaly segíteni.
Már megtanultam, hogy másoktól nem várhatok el semmit, ha valamit akarok azt magamnak kell megcsinálni, mivel csak így érhetek el valamit. Felőlem törölhetitek a hozzászóllásomat, sőt a felhasználó nevet is. KÖSZÖNÖM SZÉPEN
Én nem vagyok megbántódva, én csak leírtam a véleményemet, úgy ahogy ezt más is megteheti.
Viszont ezzel befejeztem, mert tényleg hülyeségekkel lesz tele a topic, ahelyett, hogy szakmai dolgokról lenne szó. Volna egy ötletem. Már túlságosan hosszú ez a topic. Szerintem a fele lenne ha csak a tényleg szakmai és értelmes hozzászóllások lennének benne.Arra gondolok, hogy mi lenne ha törölve lennének a felesleges hozzászóllások. Beleértve az enyémeket is, de másokét is. És csak a hasznosak maradnának. Hogy kidönti el mi a hasznos? Lehetnének a hozzáértő fórumozók, pl. az elért pontszámok, ill. megoldott témák szerint az adott kategóriában.Aki elérte a szükséges kritériumokat, annak megjelenne, egy olyan, hogy hozzászóllás törlése. Persze ezt az moderátor felülbírálhatha és ha megengedi, a hozzászóllás törlődik.
Találtam egy kapcsolási rajzot az interneten.
Ez egyszerűnek egyszerű. De hogy megbízható, hát azt nem tudom.Egy kis módosítás után megépítem és tesztelem. A tranyók elég furcsák nekem... Nekem vannak 2N3055 ösök, meg BD711 esek. Ezekkel fogom megépíteni, de módosítást igényel.
Teljessen félre vagyok értve !
Én arra gondoltam hogy valamiképpen a fogalmakat kellene úgy csoportosítani hogy könyítsünk az idelátogatokon. PL kell egy referencia feszültség ésakkor van hökompenzált , áramgenerátoros , zajszegény stb . meg kellene adni az egyszerű választás lehetőséget . Na valahogy ijen modon minden részt . Nem vagyok az ellen hogy megmagyarázi egyes alkatrészek funkcioját vagy helyettesítését vagy egy pár jó tippet azok beszerzésére mert szerintem ezek igenis kötődnek a téméhoz. Remélem hogy meg tudtam magyarázni mi volt a szándékom . Senkit sem akartam vele megsérteni csak támadt egy ijen ötletem de leht hogy felesleges .
Sziasztok!
MEgépítettem Alkotó és Pioneer 2.6os labortápját, de valami nem működik. A kimeneten kb állandó 10 V van, a potikra nem reagál, kivéve az áram szabályzójára, ott a LED mindkét végállásban sötét, amúgy világít. Amit változtattam rajta, a a tranyók: BFY34 és BD244 van bekötve, majd a végén a 2n3055. Segítségeteket előre is köszi: uli
A 10V a referencia, de nem a kimeneten kellene lennie. Valami el van kötve. A nyák saját készítés? Fotó,...
Szia!
A nyák alkotó nyákja. Közben kiderült, hogy a műv. erősítő volt a rossz. De most sem igazán jó. 28VAC-> 3300µF puffer. De ha rádobok egy 12V/25Wos izzót, a feszültség, hiába hogy fel van csavarva fullra, leesik 5 Vra. Ez nekem így eléggé kevéske. A trafó ugyan nem nagy teljesítményű, olyan 40W körüli lehet, de ennél többet vártam tőle. Fotót holnap tudok felrakni. kössz a segítséget: uli
Hello!
"de ennél többet vártam tőle" Már bocs, de egy BME hallgató nem nyilatkozhat így. Nem kellene először számolni, mérni valamit aztán nyilatkozni? Tehát nem fotók kellenek ide, hanem mérési adatok, és mindenek előtt műszakilag megfontolt okfejtés. Már az előző hozzászólásodnál (hozzáállásodnál szándékomban állt szólni, de most már nem tudtam megállni. Szóval kéretik másképpen gondolkodni a műszaki dolgokról. Tulajdonképpen ezt a hibát, neked "csuklóból" meg kellene már tudni oldani, ha nem lennél Te a Lusti, a hupikékből.. Nem bántó szándékból mondom, hanem bosszantásból, mert én nem az Okoska vagyok, hanem a Törpmorgó! üdv! proli007
No meg a segítséghez is kellenek adatok. A trafónak milyen szekunder feszültségei vannak? Csak 1 db 12V-os? Tehát azon kell tudnia leadni a 40W-ot?
Mérni kellene feszültségeket. Pl. terheléskor a ref. fesz. megvan-e?
Proli!
Teljesen igazad van, nem is jelentene gondot egy kis pihenés után. De most sajna nincs agyi kapacitásom erre, ezért gondoltam, hogy valóban lusta módon, írok ide. Alex: 1*28VAC a szek. feszültség. Referenciát hol kell mérjek? Köszi: uli
Annak a műv erősítőnek a kimenetén, amelyiknek a visszacsatoló ágában van a 6,8-as zener.
Üdv.
Hozzáfogtam tervezgetni a labortápegységet. Egyenlőre nincsen kész kapcsolási rajz, csupán gondolkodok rajta, hogy mit hogy. Az előző tápforrásom hátrány az volt, hogy nem ismertem az áramhatárolás beállított értékét.Beallításkor egy kis dróttal rövidre zártam és így tudtam beállítani.Ez nem volt egy praktikus megoldás. Most LCD kijelzést akarnák használni. Ti, hogy oldanátok meg az áramhatárolás beállított értékének kijelzését? Tanácsaitokat köszönöm szépen.
1. A műszert árammérésre állítod és rövidzár mellett állítod.
2. Az előző módszerrel beskálázod a potit és a továbbiakban a skála szerint állítod. 3. Sztereó potit használsz, amin referencia feszültséget osztasz és azt méred a belső műszerrel. Ekkor a műszernek már 3 funkciója van, és nem tudsz normális finomállítást.
Egy teljesen új tápegységet készítenék.
Kilistáztam a képeket. Találtam egyet:Bővebben: Link Ez egy klasszikus 723 as kapcsolás némi extrával. Ezzel szerintem nem lehet semmi gond. Az áram védelmet az IC2 aktiválja. Az áramhatárolás referenciáját a PI2-s fesz. oosztóról kapom. Ha innen lekapnám a feszültséget, talán meg is lenne a dolog oldva. Ezt megépítem majd és mérek, kísérletezek.
Hello!
A PI2 potin eső feszültséget kell mérni, és a DVM-et úgy kalibrálni, hogy az "közvetlen" áramban legyen leolvasható. üdv! proli007
Ezt kifejtenéd bővebben, hogy hogy gondolod?
Az a kapcsolás amit már egyszer felraktam stabilabb ettől !
"Ti, hogy oldanátok meg az áramhatárolás beállított értékének kijelzését?"
Én szándékosan beépítettem egy nyomógombot, ami rövidrezárja a táp kimenetét és a beépített műszer ekkor az áramhatárt mutatja. A táp kimenetén lévő (váltó)kapcsoló "ki" ágába kötöttem, hogy véletlen megnyomással ne söntölhessek le egy tápra kötött áramkört. Szerintem Proli007 arra gondolt, hogy PI2-n az áramkorláttal arányos feszültség esik (mivel az állítja be), így azt megfelelő leosztással rákötve a műszerre a kijelzett érték pont annyi mintha egy ampermérővel rámérnél a tápra rövidzárnál. (Ha ezt csinálod, úgyis így fogod a pontos feszültségosztást belőni. )
Valahogy én is így gondoltam, de nem voltam benne biztos.
Ha jól számoltam, akkor az egyik végkitérésben 2V van az IC2 invertáló bemenetén. Lehet, hogy ez pont a 2A áramhatárnak felene meg?
Hali!
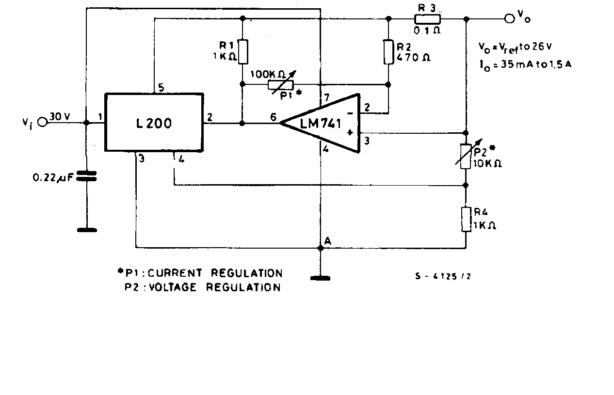
Egy mini labortápot szeretnék készíteni amely kicsi egyszerű, a lényeg hogy szabályozható legyen a feszültség és az áram is. Az L200CV ic-re gondoltam, ebbe van áramkolátozó is elvileg de nagyon kis értékű potméter kéne a 10-2000mA-es tartományra ami szerintem nem is kapható. Van erre valami más megoldás? Kössek a potival párhuzamosan ellenállást?
Szia!
Használd a pdf-ben lévő figure 23-as rajz szerinti kapcsolást. Egy műveleti erősítővel kiegészítve normál potméterekkel is szabályozhatóvá válik az áramkorlát.
Hello!
Jó felé mentek. Csak eben a kapcsolásban kicsit össze van "mókolva" a dolog. - Alapvetően, a 741, a shunt ellenálláson eső feszültséget hasonlítja össze a PI2-vel beállított feszültséggel. Ha a Shunt ellenálláson a feszültség nagyobb mint a beállított, akkor leszabályozza a tápot addig, míg a kettő egyenértékű nem lesz. Ez maga az áramkorlát. - Ha a feszültség különbség mondjuk 1V, akkor a 0,5ohm-os ellenálláson, ehhez 2A áramnak kell folyni. - A kapcsolás azért van kissé elbonyolítva, mert a 741 csak egy tápfeszültségről jár, és annak bemenete nem lehet a negatív tápon (ami itt történetesen egyben a tápegység pozitív kimeneti pontja is). Viszont a Shunt ellenálláson eső feszültség, pont ehhez a potenciálhoz képződik. - Hogy a 741 működni tudjon, a (+) bemenet fel van húzva 2V-al. Ehhez a feszültséghez adódik hozzá, a Shunt feszültsége. De így a (-) bemenetet is fel kell erre az "alapértékre" értékre húzni. Tehát ezért ott is megtalálható, a 12k/4,7k osztó. - Ha így szemlélitek az áramkört, akkor látható, hogy az IC akkor fog leszabályozni, mikor PI2-őn eső feszültség megegyezik az R5-ön eső feszültséggel. Tehát ezt kell mérni. Csak kijelezni nem ezt a feszültséget kell, hanem UPI2/R5 értékét. Akkor "ampereket" látunk majd. üdv! proli007
Te amit az adatlap, amit betettél az L200-ról, abban van egy kapcsi rajz. Azt nem nézted?
Az tényleg egyszerű. Vref- 26V-ig tud, az áram meg szabályozható 35mA-1.5A ig
Úgy látom, már ketten vagytok, akik nem olvasnak. Csak Ő az adatlapot, Te meg a topikot..
Akkor végül is nekem elég mérni az Upi2-t ahogy már mondtad és szoftveresen osztani az R5 értékével.
|
Bejelentkezés
Hirdetés |












