Fórum témák
» Több friss téma |
Fórum » Aggregátor gerjesztése
Lehet hogy egy kicsit furának fog hangrani, de én 0,2 ohmot mértem a forgórészen úgy, hogy levettem róla a szénkeféket. Nehogy valami párhuzamos eredőt mérjek.
Köszi,hogy elvégezted a mérést.
Én az enyémen 0.8 ohm-ot mértem, felemelt kefék mellet. Már a 0.8 ohm -ot is furcsának találtam, azért kértelk meg arra ,hogy mérd meg te is. Mivel hogy gerjesztés szabályzóm még nincs hozzá, egy 12V-os akuról fogom megpróbálni begjeszteni.
Csak bánjál óvatosan a kimenettel. Ha a gerjesztő áramod nagyobb a kelleténél, akkor simán produkálhat a gép akár 300 voltot is.
Végül is elég vastag vezetékből van tekerve. Sián el tudom képzelni mind a két értéket, de a mérési hibákat se feledjük
Jipijééé! Tegnap sikerült elindítani az aggregátorom motorját. Először benzinnel, de nagyon bedúsította a karbi. Majd ETANOLLAL!! A második próbálkozás egészen jól sikerűlt, de még finomítani kell a dolgon mert ez a szovjet karburátor valahogy nem a finombeállítás mintaképe. Akkora az üzemi benzin fúvóka rajta, hogy még tiszta etanollal is túl van dúsítva egy kicsit. De elindult bakker!!! Ja a gyártási idő kb. 1965
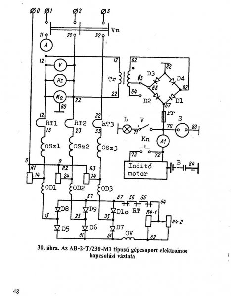
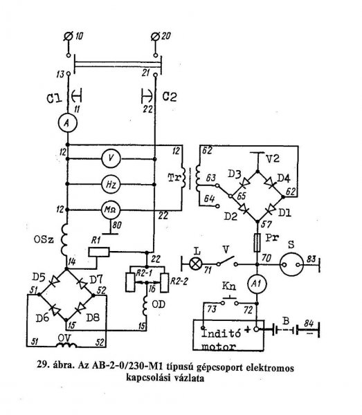
Még mindig keresem az EVIG CSM10/231 aggregátor kapcsolási rajzát .Ha valaki találkozott vele ossza meg velem legyen szives! Egy képen láttam hogy az orosz AB2 (8 KW os ) aggregátornak ugyan ugy néz ki a vezérlőszekrénye .Ha valakinek annak a rajza megvan az is nagy segitség lenne . Köszönettel Taki
De még mindíg csak az egyik henger indul be. Már azon kezdek agyalni, hogy a szívócsővel van gebasz, mert a kettes henger nem akar menni. ha viszont leveszem a gyújtást az egyes hengerről akkor nyögvenyelősen, de beindul a kettes henger. Amikor viszont ráadom a gyújtást az egyes hengerre, abban a pillanatban leáll a kettes, és indul az egyes. Valszeg valami áramlástani gondja lehet a kettes hengernek.
Szia4
Ha kell még a rajz megtudom szerezni, de úgy tudom az AB2 csak 2kw-os
Nekem a delejezésről írjon valaki bővebben. Van egy Hab-4/400 -as aggregátorom a gerjesztő áramkörén nem jön ki áram.A tekercs nem szakadt a javítási leírása azt írja újra kell mágnesezni de nem írja hogyan.Ebben kérek segítséget.
Nagyon megköszönném a rajzot ha megkaphatnám .Az ujra mágnesezésről olvastam a topikban ,és azt hiszem annyi a dolog hogy a gerjesztő tekercsre kötsz egy akkut (a gerjesztő áramkört esetleg le kell választani ) De a készülékeden erre van gyárilag egy nyomógomb ha tényleg hasonlit az én tipusomra
Holnap a melóhelyen kikeresem és délután felteszem.
Remélem tudod használni
Sziasztok! Egy kis segítség kellene! Hozzám került egy GÜDE 2kw os generátor azt javítom. Először szétszedtem, állórészen egy vezető szakadt volt, nem elektronikai hiba miatt, inkább belekerült valami a gépbe és működés közben az metszette el. Az állórésznek egy 4pólusú csatlakozós kivezetése és két sarús kivezetése van. A csatis a fesz szabályzóra megy, a sarús a nagyáramú kivezetés. Ez gondolom a legtöbb gépnél hasonló. A kérdésem első körben az lenne, hogy a 4 tüskés kivezetés pontosan mit takar? Mit kell ott mérnem? A sarus tekercset ki tudom mérni, engem inkább az aggaszt, hogy a négytüskés csatin (2sárga,barna,kék) a 2 sárga közt szakadást mérek.
Ez pontosan mi lenne? Illetve AVR (fesszab) rajza nincs valakinek? a gép jelenleg ezt csinálja: nincs kimenő fesz, illetve ~10-20 V között van valami kimenő feszültség. Ha gerjesztem a forgórészt egyenárammal, (fesz szab levéve), akkor generál kimeneti feszt rendesen, persze szabályozatlant. A fesz szab tök új.
na nagyjából meg is kaptam a válaszokat, kicsit visszaolvastam! Bocs, hogy csak utólag olvastam....
Na újabb kérdés.
Állórész tekercselésről valakinek van infója? Valami képekkel illusztrált állórész tekercselés leírás igen jól jönne. Első problémám, hogy amit szereztem aggregátor, annak már javított az állórész tekercse. Szakadt volt pár vezető, rosszul forraszthatták össze, mert 150Hz jön ki a generátorból. Második probléma, hogy gyárilag ALU huzallal van megtekerve, ezt is leváltanám rézre. A forgórészé réz. Csak egyelőre lövésem nincs, hogy szokott ez a tekercselés zajlani, illetve hova, hogyan osztják el a meneteket.
Sziasztok!
Adott egy Lombardini hegesztő agregát. 400 V illetve 230V kellene hogy kijöjjön belőle, de semmi nem jön. már kétszer szétszedtük, az állórész ki van mérve, a tekercsek egyforma ohm számúak, tehát elvileg jók. Próbáltam visszaolvasás után "feldelejezni", de továbbra sem jön ki belőle feszkó. A forgórésze egy asszinkron motor forgórészére hasonlít, nem csúszógyűrűs megoldás. Amikor megkaptam már nem ment, az előző gazdija szerint leállították, és mikor legközelebb beindította már nem ment. Tipp??
Szia!
Gerjeszd fel 230V-al. Menet közben köss áramot egy izzón keresztü az állórészre.
Szia!
Már hogy pörgessem az aggregátort szinkron fordulaton, és a 230V-os kimenetére kössek egy izzót sorban, és lökjem rá a delejt? ![]() és ha felgerjed, szinkronban járatom az ELMŰ-vel ![]() és ha nem fázishelyes, akkor arcomba robban az izzó..
Sziasztok!
Rákötöttem egy frekiváltót, és 3 fázist löktem rá, amitől azonnal elindult MINT motor.(lekötve a kondikat, mert ugye ide nem kell meddőt termelni..) Akkor mi a bökkenő?? A kondik mind durrognak mikor kisütöm őket, de mivel nincs kapacitás mérőm nem tudom hogy jók-e.
Én már nem egyszer gerjesztettem fel így EVIG-aggregátort és nem robbant semmi sem, sőt izzó nélkül direktben is volt rá példa. De mitől alakulna ki olyan mértékű feszültség, hogy az izzó felrobbanjon?
Most elgondolkodtam azon, ha mint sima asszinkron motor elindul, akkor van visszamaradt remanencia, nem??
Tehát kizárásos alapon a kondenzátorok valamelyike van benne elpusztulva, mert ha nem szimmetrikus a meddő termelése, nincs meg a 120", és az életbe nem gerjed fel szerencsétlen.. Igazam van?
Ha 230V-os izzót vonalra rakod 400V, akkor szerinted mit fog csinálni??(ha sikerül pont két fázis közé beaplikálni...)
A motorok (például aszinkron) elindításához nem kell remanens mágnesesség. Generátoros üzemhez viszont jól jönne, de ott is csak a kezdő lökés megadásához.
Ha ennyire gázosnak tartod ezt, akkor sorba kell kötni két százas égőt és no problem.
Már ráraktam simán a 230V-ot (izzó nélkül és búgott mint az állat). de semmi pozitív..
Utána raktam rá a freki váltóm, azzal ugye nem tudok benne kárt tenni, és 400V-al gerjesztve elindult a generátor MOTOR üzemben mint a szél.. Akkor?
Mit akkor? Ez egy tipp volt, ami nekem többször bejött.
Szia,
lehet hogy a generátor azért nem gerjed be mert kevés a fordulata... Tedd vissza a kondikat,kapcsolj rá műszert,adj rá gázt,ha begerjed, a frekit állítsad 50Hzre...
Félreértettél!
Csak érdeklődöm hogy jól gondolkodom-e, én arra saccolok hogy a kondik közül valamelyik döglött ki.. a kérdésem erre vonatkozott!
Szia!
Van rajta egy tekerentyű ami a hegesztő áramát emeli, ez lényegében egy gázbowden, amivel a fordulatot növelem... Megpróba.
Töltsd fel a kondikat egy izzón keresztül (diódával), majd ugyanezzel az izzóval süsd ki. Ha villan az izzó, akkor jó. De a kapacitásvesztést csak kapacitásmérővel tudod kimérni. Ezek az öngyógyuló fémezett papírkondenzátorok képesek elveszíteni a kapacitásukat.
|
Bejelentkezés
Hirdetés |








Tedd vissza a kondikat,kapcsolj rá műszert,adj rá gázt,ha begerjed, a frekit állítsad 50Hzre...
