Fórum témák
» Több friss téma |
Fórum » Csöves erősítő készítése
Ne feledd betartani a fórum viselkedési szabályait, és a topik megmaradásának feltételeit. [link]
A téma átmenetileg fagyasztva lett, hozzászólni nem tudsz!
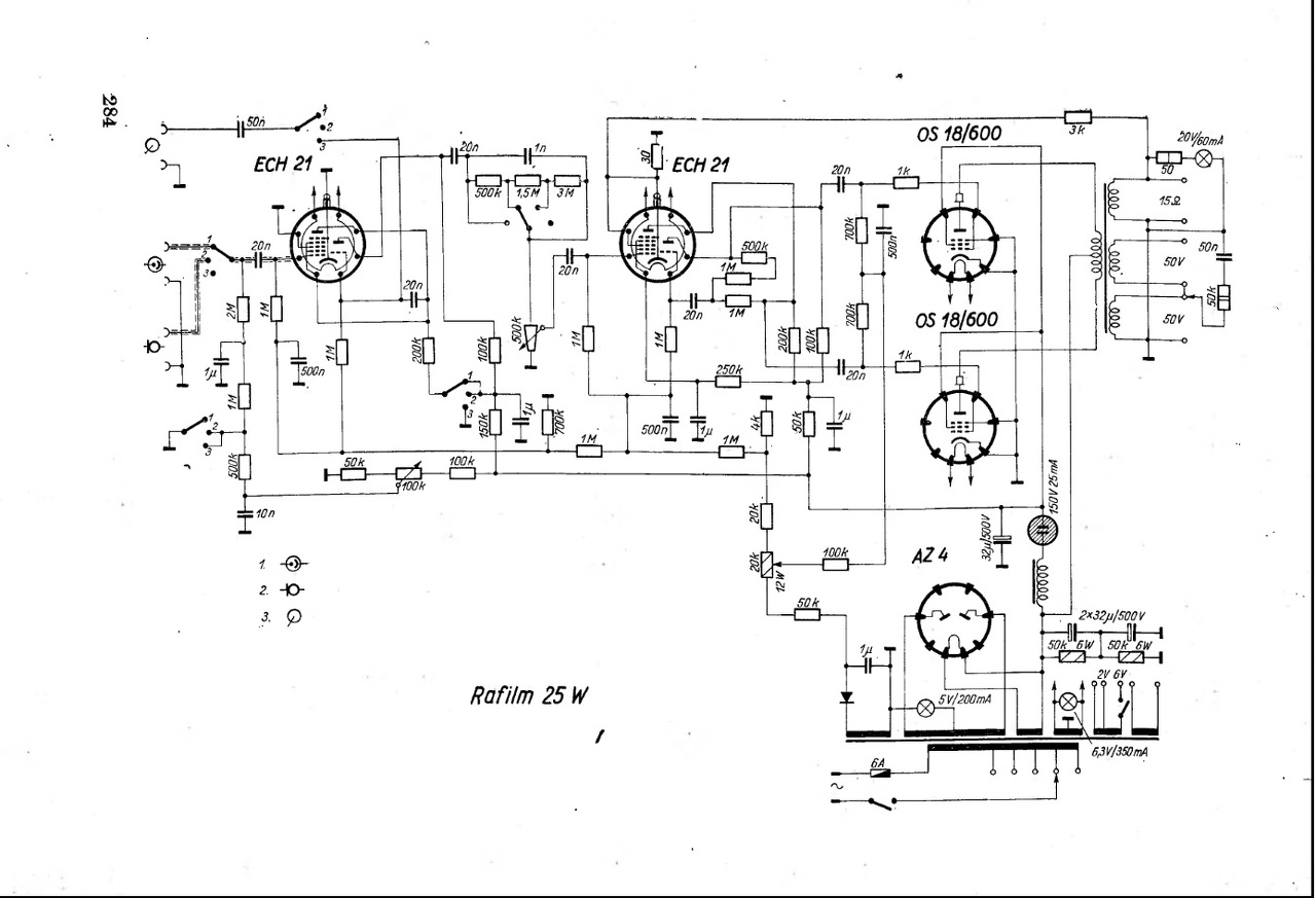
Sziasztok ez milyen erősítő lehet
mi a típusa ? üdv lali
Sziasztok!
A héten összedobtam egy EL861-re (E81L) épülő egyszerű fejhallgató erősítőt képkimenőkkel. Sajnos két probléma is akadt vele. Egyrészt rettentően búg, nem tudok vele mit csinálni. független AC fűtést használok a diódának és a két EL-nek is, lekötöttem a pentódák fűtését működés közben, de a búgás egy kicsit sem változott, arrébb mozgattam mindent de szintén nem változott. Kicseréltem a pufferkondit egy sokkal újabbra, de az sem segített. Annyit megfigyeltem, hogy bekapcsolás után előbb kezd el szólni a zene, minthogy brummogna. A két oldal földelése a pufferkondi negatív lábánál van közösítve. A másik probléma az, hogy valamiért nem abban a munkapontban van, ahova én állítottam. Képkimenőt használok, aminek az impedanciaáttétele 293, ez a 44 Ohm-os fejhallgatóval ~13kOhm-ot jelent a primer oldalon. Viszont a kívánt 15mA-es áram helyett 33mA folyik a csövön. A kapcsolás a lehető legegyszerűbb, a katódnál 68Ohm+470uF, a G1 előtt 68nF+470kOhm, a pentóda triódaként van kötve, G3 a katódra és G2 az anódra. Van valakinek tippje, hogy mi lehet a probléma? Deszkamodell színek: Sárga sodrott érpár a pentódák fűtése. Kék+fehér a bemenő jel Sárga+fekete megy a fejhallgatóra Narancs a kimenőről az anódra Piros és fekete a tápfesz ill. a föld
Ránézésre egy régi Rafilm 25-ös erősítő lehet. Ha az, elvileg 25W-os kimeneti teljesítménye van, fényhang(fotocella) bemenettel és gramofon, vagy magnetofon bemenet átkapcsolhatóan.
Ha egyben van, akkor érdemes lenne felújítani, akkor értékes lehet. Üdv!
Nem ezek közül valamelyik?
A hozzászólás módosítva: Jan 7, 2018
Orosznak tűnik, kérnék az eladótól jobb és több képet, legalább kívülről.
Szia
Ez egy Rafilm 25 erősítő lesz, El12 vagy OS18/600 végcsövekkel 25w kimenő teljesítménnyel.
Szia én is valami olyannak nézem
Idézet: „rettentően búg, nem tudok vele mit csinálni.” Földhurok, erre nagyjából mérget vehetsz -> a testelés máshol is közösítve van, nem csak a puffernél, és ezt meg kellene szüntetni. Akár másik készüléken keresztül is kialakulhat, ha a hálózati védőföldre rákötötted a hidegpontot.
Sajnos nem, a mobilom volt a jelforrás és a betápnál sincs a védőföld bekötve.
Ravel 25-t még nem láttam, de a Rafilm 100 ugyanígy néz ki, így gyanítom, hogy Rafilm 25 lesz.
Nálam épp egy Rafilm 100 várja szétszedve a szépített újra összerakását.
Szia hétvégén megyek érte
Azért csak próbáld meg lebontani az egyik csatornát, mégpedig teljesen. Jó eséllyel el fog tűnni a medve. Ha nem, akkor nincs igazam - benne van a pakliban. Nehéz dolog a távgyógyászat.
Azt sajnos magamnak tartogatom
Amint lesz rá anyagi költségvetés, készül is. Sajnos egyberohadtak a trafói, szóval azt teljesen újra kell csinálni, illetve már volt belenyúlva a "jó lesz bele az az alkatrész is" időkből, szóval gyári állapotra vissza lesz állítva. Már beszereztem hozzá pár tucat OS18/600-at, EF6-ból ritkás a készlet, de az is akad Esetleg, ha elfér majd a trafón,akkor lehet kap egy 8R kimenetet is, de lehet maradok a 100% gyári állapotnál
Idézet: „Esetleg, ha elfér majd a trafón, akkor lehet kap egy 8R kimenetet is, de lehet maradok a 100% gyári állapotnál” Ez a megoldás még általában nem jött be senkinek...Maradjunk az eredeti trafónál. Anno a HFM is áttekertette az EA05 kimenőjét 4K/8 ohmra. Nem is szólt már annyira jól, mint a 4K/16 ohm kimenet 8 ohmmal terhelve. És tényleg van egyszerű magyarázata, mint utána írták is..
Én is efelé hajlok, inkább
Sziasztok Volt már valakinek szerencséje Toshiba UY 807 csövet meghallgatni? Milyen minőségi besorolásban lehet a többi 807 - sekhez viszonyítva?
Szeretnék építeni egy GU50 SE-t. Anód ágban lévő fojtó helyére megfelelne egy fénycső fojtó trafó?
A kapcsolást küld el kérlek. Ha a tápkörben található fojtóra gondolsz, akkor ideiglenesen megfelelhet, de tudd, hogy mit csinálsz.
Nem teljesen más én már próbáltam is aztán CHZ kollégánk útba igazított és igaza volt
Nem jó a fénycső fojtó.
Használj rendes, méretezett fojtót. Az enyémben 5H van,az ajánlás szerint, az már bőven jó. Légréses M, vagy EI magot használj légréssel, (egy oldalról lemezelve) A fénycsőtrafó induktivitása kicsi, a mag pedig zárt, könnyen telítésbe ugrik. Silent15: Légyszíves ne adj tanácsot, ha nem vagy tisztában a dolgokkal. Felesleges munkát, időveszteséget-relatív kárt okozol.
Nem jo hisz a fénycsö fojtó AC re van és nekunk pedig DC re kelleme az a fojtó ...
Az induktivitàs értéke sem nyerö . Sokkal egyszerübb egy R tagot közbe iktatni olcsóbb és szürés szempontjàból tökéletes.
Valóban nem jó, ezért írtam hogy ideiglenesen. Próbáltam már, működik, ámbár tényleg nem lehet otthagyni , maximum próba képen felel meg.
Mellesleg nekem is van egy GU50-SE-m. Sima RC tagokból van felépítve egy CRC(előfok)RC(végfok).
Nem találtam véleményt sehol a neten japán toshiba csövekről. Szerintem jó minőségű lehet
Azért a régi, ököl nagyságú (~1 kg), fénycső-fojtóknak ~0.5-(1?) mm-es légrése (EI lemezes), és nagyobb induktivitása volt. Lehet, hogy "Silent15" erre gondolt. Az újfajták tényleg semmirevalók.
A hozzászólás módosítva: Jan 12, 2018
Bizonyám. Nemegy ezek közül többször öregebb mint én
A sok OFF-topic hozzászólás eltávolítva.
A CRC tagok értékeit megadod? Egyébként az Ágoston-féle könyvben lévőt építeném meg. ECC83 helyett 6N2P-EV-vel, ha ez nem "szentségtörés".
Ennek fuss neki még egyszer, immár normális helyesírással!
A hozzászólás módosítva: Jan 15, 2018
Jó, hogy vannak a fórumozók közt "grammar nazi"-k, (teszem hozzá, én is az vagyok), de srácok, valakit ilyen szinten kimoderálni (törölni a hozzászólását), ráadásul NÉMÍTANI a helyesírása miatt? Lajossal semmi gond nincs, igaz a helyesírás nem az erőssége. Én senkibe nem akarok hasonlót belebeszélni, és nem mondom, hogy ő az, de mi van, ha véletlenül regisztrál ide egy diszlexiás? Talán orvosi papírt kell neki feltölteni, hogy egyáltalán megmaradjanak a hozzászólásai? Mégis mit képzel magáról a staff? Talán egy nívós fórumot akartok fenntartani? Pár helyesírásra képtelen fórumozó még mindig jobb, mint a rengeteg akaratos, de hozzáértőktől tanácsot meg nem fogadó, szakmai fejlődére képtelen barbár, aki itt tartózkodik. Kicsit változtatni kéne az üzletpolitikán fiúk, mert ennek nagyon nem lesz jó vége.
Tudom, hogy úgy is ki lesz törölve ez a hozzászólás, de akkor már legalább látta egy moderátor. Ha kitörlöd, legalább valami moderátori csoportban megoszthatnád, hátha kicsit összedugjátok a fejeteket.
Csak annyit tennék hozzá,(És nem vagyok nyelvtannáci) hogy tényleg gáz ahogy a srác ír.
Gyakorlatilag nem lehet értelmezni a mondatait, mert nincsenek. Mindent egybeír, folyamatában. Azt mondom hogy a helyesírás alap. Gondolj bele mi van, ha kérnek Tőle egy önéletrajzot... Itt nem arról van szó hogy kihagyott egy betűt, vagy kisbetűvel kezdte a mondatot. (A helyesírásellenőrzőt követve már javulna a dolog, de hát nem...) Nézz meg pár határon túli Magyart, teljesen rendben lévő helyesírással, holott nem mindig az az anyanyelvük...) Az érem másik oldala, hogy ebből a törlés/fagyasztásból semmit sem fog tanulni,és ez is elég értelmetlen így. De azt mondom, hogy Lajosnak fejlődni kéne, nem csak helyesírásban. Remélem sikerülni fog. |
Bejelentkezés
Hirdetés |


mi a típusa ? üdv lali 




Amint lesz rá anyagi költségvetés, készül is. Sajnos egyberohadtak a trafói, szóval azt teljesen újra kell csinálni, illetve már volt belenyúlva a "jó lesz bele az az alkatrész is" időkből, szóval gyári állapotra vissza lesz állítva. Már beszereztem hozzá pár tucat OS18/600-at, EF6-ból ritkás a készlet, de az is akad


