Fórum témák
» Több friss téma |
Fórum » Motorola MCU másolása
Témaindító: Perpetuum Nobile, idő: Nov 21, 2012
Témakörök:
Sziasztok!
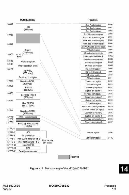
A következő problémában szeretnék segítséget kérni (messziről ugatom sajnos ezt a témát, de jó lenne érteni hozzá): A feladat: egy Motorola MC68HC705B32 processzorról kellene pontos másolatot készíteni. Kicsit bővebben: a processzor az autóm Audi (Blaupunkt) Concert fejegységében van. Ismert tervezési hibája ezeknek a rádióknak, hogy hangerőszabályzás aktuális értékének sorozatos EEPROM-ba írása egy idő (évek) után kicsinálja a memóriát. Létezik egy javított kódú csereprocesszor, amit meg is vettem; ennél ezt a hibát orvosolták ugyan, viszont betettek egy másikat (az LCD-kijelző fényerőszabályzását elrontották, és fixen, maximumon működik). Azt találtam ki, hogy mivel megvan kiforrasztva az eredeti processzorom, készítenék egy teljes dumpot, amit beleírnék az új processzorba, ahol még ép a memória. Természetesen a hibás program idővel kicsinálja majd ezt is, de néhány évig azért tökéletesen fog működni. Ami van: x-Prog-m programozó, 5.0-ás, ezzel a teljes 32 kByte tartalmat elvileg sikerült kiolvasnom. A kérdések: 1. Bár jól hangzik, de még laikusként sem tűnik járható útnak, hogy fogom a komplett 32k-s dumpot, és feltöltöm az új processzorba. Csatolom a memóriatérképet képként, látszik, hogy azért az EPROM-on és az EEPROM-on kívül van csomó egyéb terület is, amit nem biztos, hogy szerencsés lenne felülírni az új helyen. Milyen területeket érdemes/szabad másolni? 2. Befolyásol-e bármit is, hogy eltérő mask set-je van a két processzornak (régi 3G96A, új 1K20C)? 3. Olvastam olyasmit a neten, hogy ezek a processzorok véges számú (talán két) alkalommal írhatók. Igaz ez? Nagyon szépen köszönök bármilyen segítséget, Marci
Azt nem tudom hogy ezek a procik hányszor égethetők , viszont majdnem 100% ig biztos vagyok benne ,hogya programjuk kódvédett tehát nem tudod egyiket sem kiolvasni ,tehát halott az ötlet .
Nem lenne egysezerűbb az LCD fényerőt szabályozni egy trimmerrel?
Köszönöm szépen, az a helyzet, hogy az autóipar sötét oldala már jó régen megkerülte ezeket az akadályokat, a program hozzáférhető. Nota bene, mélyen elítélem az ilyen jellegű mókolásokat, én csak szeretném a 13 éves autóm rádióját megjavítani -- talán nem is szükségből, inkább a kihívás/tanulás kedvéért.
Köszi, az a baj, hogy az eredeti szabályzás logikája elég bonyolult (jöhet jel az autótól is, de ha az nincs, akkor egy fotoszenzor állítja be). A mostani fix max fényerő sem elviselhetetlen, csak jó lenne, ha az eredeti módon működne.
Ha már mindenképpen bele akarsz nyúlni a rendszerbe, akkor fontold meg: Csak az LCD 1-2-3 lábait kell piszkálnod, általában azokon keresztül szabályozható a fényerő és a fotoszenzoros megoldással való kiegészítés sem nagyon bonyolult. Főleg, amikor azt írod, hogy a másik processzor és a beleégetett program sem jó.
|
Bejelentkezés
Hirdetés |





