Fórum témák

» Több friss téma
Fórum » Tápegységgel kapcsolatos kérdések
Lapozás: OK   33 / 180
(#) dani1302 hozzászólása Aug 18, 2011 /
 
Sziasztok.

Kapcsolási rajz érdekelne, hogy hogy lehet teherautó 24v feszültségből stabil 5V 1A tápegységet készíteni.
(#) Stadi válasza dani1302 hozzászólására (») Aug 18, 2011 /
 
LM2575 (1A) vagy LM2576 (3A) IC-kből rém egyszerű kapcsolóüzemű tápegységet lehet építeni. Az adatlapokat belinkeltem. A bennük szereplő kapcsolások nem bonyolultak és működnek, akár lyukraszteres panelen megépítve is. Érdemes elolvasni az alkatrészek kiválasztásáról és elhelyezéséről szóló részeket is az adatlapokon.
(#) dani1302 válasza Stadi hozzászólására (») Aug 19, 2011 /
 
köszönöm a segítséget, 9kor megyek a boltba és megépítem
(#) koncsik03 hozzászólása Aug 23, 2011 /
 
Helló!
Bővebben: Link
Ez a kapcsolás működik nagyobb feszültségről is?
Szerk:És középelágazás nélküli trafóról is működik?
(#) proli007 válasza koncsik03 hozzászólására (») Aug 23, 2011 /
 
Hello!
Ez nem kapcsolás, csak április elsején. Felejtsd el..
üdv! proli007
(#) koncsik03 válasza proli007 hozzászólására (») Aug 23, 2011 /
 
Akkor valami ilyesmi kettős tápegységet tudsz adni?
(#) proli007 válasza koncsik03 hozzászólására (») Aug 23, 2011 /
 
Hello!
Az nagyon attól függ, hogy milyen tápra van szükséged, vagy mihez. Ilyen egyszerűen nem igazán lehet megúszni a dolgot, hogy két tranyó, meg két poti. Kivétel, ha LM317-LM337 páros megfelelő számodra.

De kettős tápfeszültséghez, vagy középleágazásos trafó kel, amihez általában nehezebb kapcsolást találni (készíteni) mert az egésznek tükör szimmetrikusnak kell lenni.
Másik lehetőség, hogy a trafón két külön szekunder van (vagy két külön trafó) és két egyforma tápot készítesz, amit aztán (mivel semmi közük egymáshoz) sorba lehet kötni, hogy meglegyen a +- feszültség.
üdv! proli007
(#) koncsik03 válasza proli007 hozzászólására (») Aug 23, 2011 /
 
lm317-es van itthon csak de abból 2 db.Az lm 337-helyett lehetne használni?
(#) proli007 válasza koncsik03 hozzászólására (») Aug 23, 2011 /
 
Hello!
Egyszerű "paraszt " logikával kell gondolkodni. Gyártanának két féle IC-t, ha egyik is elég lenne?

De megoldás lehet, ahogy írtam: "Másik lehetőség, hogy a trafón két külön szekunder van.."
Ebben az esetben ha egyszerre akarod szabályozni a kettőt, egy dupla (sztereó) lineáris poti kell hozzá. HA nem, jó két külön poti is hozzá.
üdv! proli007
(#) koncsik03 válasza proli007 hozzászólására (») Aug 23, 2011 /
 
Igazából erősítőhöz kéne.Az lm 317-337 1,5 A-ig bírják.
(#) proli007 válasza koncsik03 hozzászólására (») Aug 23, 2011 /
 
Hello!
Ezt kérded vagy mondod. Mert mindig az adatlapot kell nézni. De egy erősítőnél csak kísérletezésre - élesztésre lehet szükség tápegységre, másra nem, mert úgy is a tápegységének elkészítésével kell kezdeni. Ahhoz meg a 1,5A bőven sok.
üdv! proli007
(#) koncsik03 válasza proli007 hozzászólására (») Aug 23, 2011 /
 
Ez nekem nem kísérletezésre kell mert egy komplett sztereó erősítőhöz kéne az a kettős táp.
(#) proli007 válasza koncsik03 hozzászólására (») Aug 23, 2011 /
 
Hello!
Erősítőhöz szükségtelen "szabályozható kettős tápegység". Oda bőven megteszi egy egy trafó, egyenirányító, és pufferkondi is. Mint itt látható.
üdv! proli007
(#) satlokk válasza proli007 hozzászólására (») Aug 23, 2011 /
 
Ez így IGAZ!
(#) koncsik03 válasza proli007 hozzászólására (») Aug 23, 2011 /
 
Kösz!
(#) jdani hozzászólása Aug 29, 2011 /
 
Hali. Szükségem lenne egy 9Vostápra az autóba, olyan 2Aig. Hogyan lenne lehetséges? esetleg kapcsolóüzemű táp, vagy valami egyszerűbb is létezik?
(#) szucsip válasza jdani hozzászólására (») Aug 29, 2011 /
 
Szia!

Igen, létezik egyszerűbb, olcsóbb, kisebb: soros disszipatív feszültségszabályzó. Pontosan erre van szükséged: IC
(#) jdani válasza szucsip hozzászólására (») Aug 29, 2011 /
 
Csak egy stabilizátor? Autóba a szivargyújtóra tenném, és a kimeneten egy dvdlejétszó lenne, amire az van írva hogy 9V 2,2A
(#) szucsip válasza jdani hozzászólására (») Aug 29, 2011 /
 
Igen , csak 1 stabilizátor és 1-2 kicsi alkatrész kell hozzá.
(#) jdani válasza szucsip hozzászólására (») Aug 29, 2011 /
 
a kondikra gondolsz? Hűtőborda gondolom kell hozzá.
(#) szucsip válasza jdani hozzászólására (») Aug 29, 2011 /
 
Igen, azokra gondolok. Természetesen kell hűtőborda vagy hűtőlemez, ami 12W-ot el tud diszipálni. Szóval kb 4°K/W már elég kicsi termikus ellenállás (vagy micsoda) lenne.

De ezt a témát ne ebben a topikban folytassuk, mert nem ide való!
(#) marksman hozzászólása Aug 30, 2011 /
 
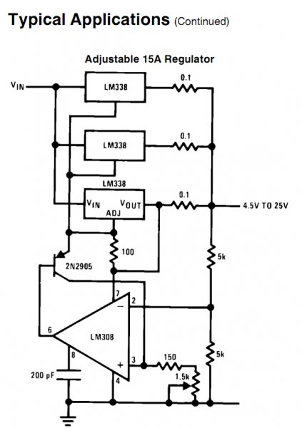
Sziasztok !

A Skori féle 24 V-os teslatekercsemhez szeretnék egy tápegységet építeni .

Van egy 24 V -os , 630 VA -es trafóm , aminek az üresjárati feszültsége 27 V .

Ez a kapcsolás szerintetek jó lenne hozzá:

01.jpg
    
(#) jdani válasza szucsip hozzászólására (») Aug 30, 2011 /
 
Bemenet puffer, 100nano, kimenet 10uF, 100nano, + borda?
(#) satlokk válasza jdani hozzászólására (») Aug 30, 2011 /
 
Szerintem kell még oda egy tranziztor is megfejelni a stab ic-t,mivel az csak kb: 1 amperos!
(#) kaqkk válasza satlokk hozzászólására (») Aug 30, 2011 /
 
Az lm350 az 3 A ig használható és még szabályozható is
(#) satlokk válasza kaqkk hozzászólására (») Aug 31, 2011 /
 
Ez is egy megoldás,igazad van.
(#) jdani válasza satlokk hozzászólására (») Aug 31, 2011 /
 
Najó, de olyat még nem használtam, nem tudom milyen alkatrészek kellenek oda, de még az értéküket sem.
(#) satlokk válasza jdani hozzászólására (») Aug 31, 2011 /
 
Okés itt megtalálod.!

lm350t.pdf
    
(#) jdani válasza satlokk hozzászólására (») Szept 1, 2011 /
 
Bemenetre 100nF, kimenetre 1µF elektrolit, és a kimenet és az adjust közzé, egy 120R ellenálás, azzal sorba meg a trimer a földre? Ennyi az egész? Már csak az R2 értéke nem világos. (Igen látom a képletet, nemszükséges bemásolni)
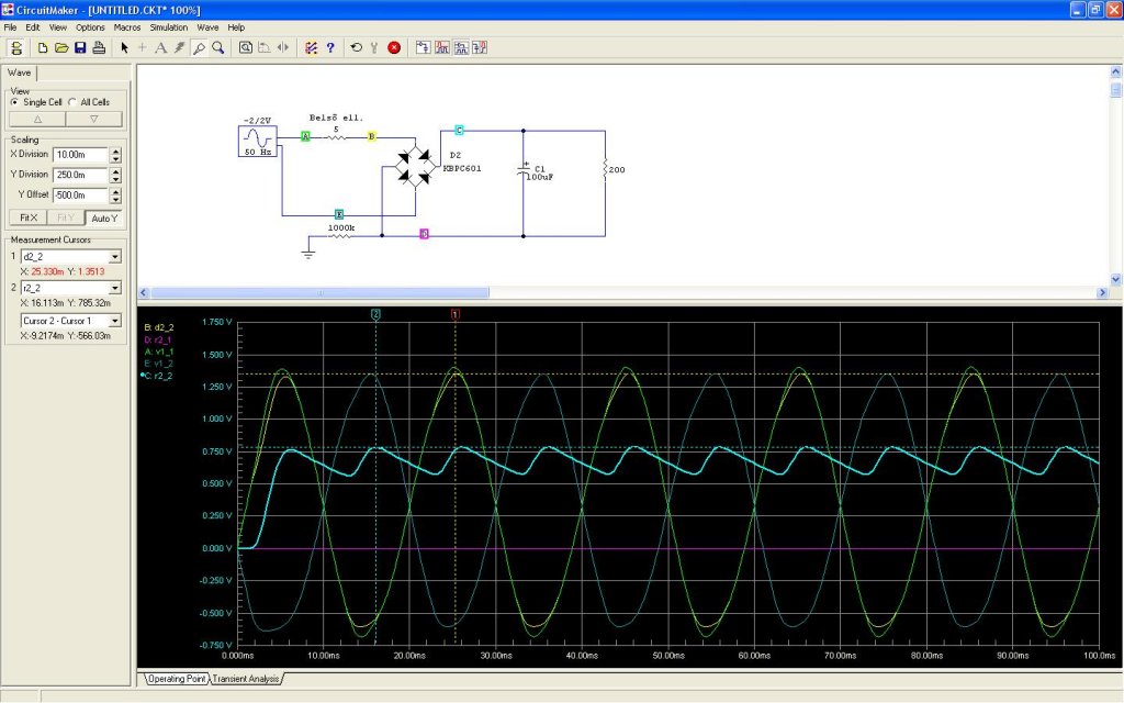
(#) bankimajki hozzászólása Szept 11, 2011 /
 
Egy másik topicban felhozott egyet nem értés végett, itt egy mérési összeállítás mérésekkel. A generátor fesz-ét azért választottam 2V-csúcsra, hogy jól érzékelhető legyen a dióda nyitófesz.-e.
Következő: »»   33 / 180
Bejelentkezés

Belépés

Hirdetés
XDT.hu
Az oldalon sütiket használunk a helyes működéshez. Bővebb információt az adatvédelmi szabályzatban olvashatsz. Megértettem