Fórum témák
» Több friss téma |
Fórum » Labortápegység készítése
hi
0-30vagy 0-32voltig kéne hogy lehessen szabájozni köszi
Engedjétek meg, hogy gusztustalan módon hirdessem a hirdetésem
![]() Nézzétek meg a panelműszerest az aprónál.
Mármint: szabályozni, nemde?
Egyébként ez a kapcsolás éppen megfelel Neked. Nem kötelező 45 V-ot adni a bemenetére, amennyit adsz, kb. annyi lesz a felső határérték.
hi
kösz szépen és még szimetrikus is és panelrajzot tudnál adni hozzá lehetőleg fotós technikához? köszi
Azt sajnos nem. Ez is itt volt a Kapcsolások között...
Szia!
Idézet: „és még szimetrikus is” Ha arra gondolsz, hogy +- szimetrikus táp lenne, akkor nem csak GND és +. nincs +30V és -30V ezen Üdv!
Sziasztok
Elővettem a "táp építés" projectemet. Ezt építettem meg, már vagy egy éve, de most jutottam oda, hogy dobozolható állapotba hozzam: http://www.electronics-lab.com/projects/power/003/index.html A tápnak van egy angol nyelvű fóruma is, ahol kiveséztük minden hibáját-előnyét, bővíthetőségét. A "tudásbázis" ma már több, mint száz oldalas, és első olvasatra igen "ködös". Egy magyar nyelvű összefoglalót kitetttem a honlapomra, amit már ti is beküldtetek ide korábban: http://sala.sallala.hu/elektronika/szab_dc_tapegyseg/tapegyseg.html Én a már módosított kapcsolást építettem meg, mert 30VAC trafóm volt. Beindult elsőre, de aztán voltak vele furcsa jelenségek. Most, hogy nekiállok bedobozolni, elhatároztam, hogy előtte letisztázok minden kérdést a táppal kapcsolatban, mert olyan tápot nem szíveen használok, aminek kapcsolását nem értem, meg az igazat megvallva nem is volt valami stabil a fesze, terhelésre esett. Szóval újra átfutottam a táp angol fórumát. (érdemes Audioguru nevű kolléga hozzászólásait és illusztrációit tanulmányozni) Miért hogyan lett ez átalakítva, izzadtam a kapcsolási rajzon és a szimulátoron, hogy minden részegységét megértsem. Jelentem, sikerrel jártam. Fogjuk rá, értek mindent, tudom hogy mit kell megváltoztatni, ha más feszre és áramra akarom használni. Hova kell kötni fesz és árammérőt, vagy digitális vezérlést, vagy pontosabb referenciát, mire kell figyelni, ha biztosítékot akarok beletenni stb. Stabilitási problémát is megoldottam, teljesen megváltozott a véleményem a tápról. Ahogy a fórumban is írják, ez valóban egy profi, nagystabilitású tápegység. Akkor lássuk a tudnivalókat: Ha az eredeti honlapon lévő kapcsolást építed meg, akkor a tápegységedet 0-28V 0,002-2A tartományban tudod használni. Tapasztalatok szerint 26-28V felett nem lesz stabil, 2A áramon, 1-5V fesz mellett a 2N3055 elfüstölhet. A pufferkondi alul van méretezve, ugyan így több ellenállás is teljeítményben alul van méretezve. Q1 és Q2 is gyenge. Az IC-k is a tápfeszültésgük abszolut felső határán dolgoznak, én emellett nem alszom nyugodtan. A fórumon felmerült a kapcsolás apróbb módosítása is, de ezzel nem kell foglalkozni, téves infó volt. (Q1 emmiterének bekötését R7 után ajánlották bekötni. De aztán aki ajánlota, ezt visszavonta. Igazából nincs jelentősége...) Javasolt módosítások az eredeti, 24VAC táplálásra. (28V-ig tudod stabilan kivezérleni, 2A-ig tudod terhelni) - puffer 10000µF-re cserélni - egy rakat ellenállást nagyobb teljesítményűre kell cserélni. (van a honlapomon alkatrészlista) - egyenirányítót, pufferkondit nagyobbra kell cserélni - q1,q2 BD139, Q2 hűtőzászlóval - r15-öt kisebb értékűre kell venni, hogy kevesebb fesz essen rajta. - R7 úgy megválasztani, hogy ne tudd 2A-fölé kivezérelni a tápot. - Most ez nem rémlik pontosan, de D8 ref. zéner lecserléni BZX 5,6V-ra. Olyan zener van az eredeti kapcsoásban, amit itthon nem lehet kapni. Amit adnak helyette, ahhoz meg nem lesz jó a soros ellnállás, rossz munkapontban fog dolgozni. Lényeg: nézd meg, hogy mekkora áram kell a zeneredhez, hogy optimálisan működjön, ennek megfelelően válaszd meg R4 értékét. . Ja, az IC-k alá, a tápcsatlakozóikra, közvetlenül a nyákra kapacitást kell forrasztani. Van fotó a honapomon) Módosított kapcsoás, hogy 0-30V 3A (5A) tartományban használhasd a tápodat. Minden, amit feljebb írtam. Ezen felül: - bemeneti feszültésget meg kell növelni 30VAC-re. - ennek megfelelően a pufferkondi fesz 50-63V legyen. Kapacitás 10000µF ajánlott - olyan műveleti erősítőt kell használni, ami elbírja a 40V tápfeszt. Ajánlott a Texas OPA445 ic-je, ami +-45V tud. Én rendeltem, két nap alatt ideért és ingyen volt. Nagyon jó kis opamp. Lábkiostása egyezik tl081-el. Van még más IC is, fejből nem tudom, de azok nem lábkompatibilisek. - a nagyobb bemenőfesz miatt r14-et is meg kell változtatni. A lényeg az, hogy üzemszerű esetben Q1 nyitva legyen. (Van a kapcsolásban egy -5V táp. Nos ez úgy van beállítva, hogy ha kikapcsolod a trafót, akkor a negatív táp hamarabb megszűnik, mint a pozitív. Q1 ekkor zár és lehúzza a kimenetet és megvédi a rákapcslt áramkört) - egyenirányító kocka használata, ami 5-10A bír - kettő, vagy öt ampernél három 2N3055 használata párhuzamosan., (Emitterbe 0,1Ohm ellenállás, számold ki hány watt) - Én d11-et lecseréltem erősebbre. Gondolom a rákapcsolt fordított polaritás ellen véd. További tapasztalatok, tudnivalók, javaslatok: - Hogy miért nem volt az én tápom stabil? Hát rá kellett jönnöm, hogy a valóságban a réz kábel ellenállása nem nulla ohm. A -100mV feszesés terheléskor a kivezető kábelek és a nyák ellenállásából adódott. (10V 2-3A-en méregettem) Kb 20mV nyák, 50-60mV a kivezető kábelek, és még 40-50mV a csatlakozósaru. Csatlakozósaru helyett a banánhüvelyeket forrasztottam, korrekt, vastag rézkábellel. A nyákra ráforrasztottam rézvezetéket párhuzamosan. Így olyan 10mV feszesés van a kimeneti kapcsokon. Az a 10mV továbbra is a nyákon van. (tíz centi nyák és rézvezeték, és 3A-en ennyi esik rajta.) A feszültségingadozás hatására a referenciafeszültség nem változik. Ha a kimenő feszültséget közveltenül u2 invertáló bemenetén (visszacsatoló láb) és r7-en mérem, akkor 3A-en feszültségeseét nem tudok mérni. 1mV alatt van. 10V-nál ez 0,01% stabilitás. Nem rossz. - Egy darab 2n3055 tényleg nem bírja. Soknak tűnik az a 115W, meg az 5 amper, de ez csak akkor igaz, ha a tokot 25fokon tudod tartani. Igazábóül gond csak akkor van, ha alacsony feszt veszel le <5V és nagy áramot hajtasz rajta keresztül. Használj nagy bordát, esetleg ventillátort és legalább kettő áteresztő powertranyót. - biztosíték a kimenetre nem szükséges, az áramkorlát jól működik. Ha mégis szeretnél tenni, akkor semmiképpen se csatold sorba a táp kimenetével. Én is odat ettem, de nem jó. Elrontod a táp híres stabilitását, ugyanis a biztinek is van ellenállása. A biztosítékot (és árammérőt is) a visszacsatoló körbe kell tenni, akkor nem befolyásolja a stzabilitást az ellenllásuuk. "(kimeneti pont és d10 közé". De feszt tudsz mérni r7-en, azzal arányos az áram. Ez egyébkét egy hiba a PCB féle kapcsoásban. Ot a biztosíték rontja a stabilitást!!! - én töltök akkut is a tápról, és szerettem volna megvédeni, hogy ha a tápot kikapcsoom, de az akkut rajtahagyom, ne füstöljön el semmi. Soros diódára gonltam. Ezt szintén a biztivel megyegyező módon kell bekötni. Gond lehet még kimenetre kapcsolt pufferkondenzátorral is. (Pl. ha a hajtott áramkörödben van pufferkondi) Ha a tápot kikapcsolod, akkor a kisütő áram d10-en és r15-ön és q1-en fog folyni. De az áramot r15 korlátozza. Ami még gond lehet, ha bekapcsolt tápon a feszültésg alacsonyabb, mint amit a kimenetre kapcslátl pl akku. Ekkor U2 kimenetét "támadod," de úgy láttam, hogy ott befele nem akar áram foyni. Ezt még lemére mégegyszer, mert nem vagyok bene biztos. Lehet még tuningolni a nyákot, pl. a potikkal sorba trimmereket ültetni, és akkor pontosan be tudod állítani a max áramot és feszt. Az áramkör részegységei (részemről jópár órás tökölés után) jül elkülöníthetők. Lehet bővíteni pontosabb pl hőkompenzált referencia fesszel, vagy a potik helyett hajthatoddigitális vezérléssel. Ezekre mind van példa az angol fórumon. No, készen van a dobozom, 18mm-es bútorlapból készítettem. két U alak van egymásba téve. Ham bazárban vettem még jómúltkorában nagyméretű analóg műszereket. Küldök egy előlap tervet. Van szabvány arra, hogy egy tápon mit hova kell tenni? Pl. V vagy az A van feljebb/balra? A fine vagy a coarse poti van feljebb/bala? Amit én figyelembe vettem: álló kivitel, kevesebb helyet foglal az asztalon. Poti és a kapcsolók külön oldalon, ha hirtelen kell lekapcsolni, akkor negy véletlenül rátekerjem a 30V-ot. Ja, és jobb kezes vagyok. Még egy kérdés: nagyon tetszik a korábban beküldött rádiótechnikás sokoldalú tápegység. Ha előbb meglelem, azt építem. (Nem kell bele spec IC és a távérzékelő marha jó dolog, lásd amit fentebb írtam a nagy áramokról. Erre a kapcsolásra mondják, hogy lebegőtápos megoldás? Több táp kapcsolásban is láttam már ezt. A szabályozó műverősítők külön tápról mennek, láttam olyat is, ami akár csak +-5V-ról. De a gnd össze van kötve a táp pozitív sarkával. Tehát az átersztő tranyókat a kimenő feszhez képest +-5V-al tudják vezrelni, ami elég is. Jól értem, hogy ez így működik? Van ennek valami hátránya, azon kívül, hogy külön trafó kell? Üdv, és ezer bocs, hogy ilyen hosszú voltam. Remélem hasznát veszitek. Sala
Az első tápom kapcsirajzát csatolom. Vagy 11 éve csinálhattam meg, akkor nagyon jó volt (hátránya hogy ahogy melegedett a táp fokozatosan nőtt a kimeneti feszültség vagy 1-2V növekedés). A benne lévő alkatrészeket én egy kicsit túlméreteztem (mivel néhány előszőr túlmelegedett) és a 2N3055-ből ha jól emlékszem vagy 7 darabot használtam fel. A kimeneti feszültség és áram értékeket egy kicsi túlméretezéssel nagyobb értékre is lehet venni a megadott értékeknél (nálam is így volt ha jól emlékszem vagy 4X V és 6,X A). A tápegységnél a 2N3055 válogatására és a megfelelő hűtésükre feltétlen gondolni kell.
Egyik alkalommal történt meg hogy az egyik 2N3055 átütött (nagyfeszes kísérleteket nem szeretik annyira a tápok illetve ha már a hűtűbordán a vizet is forralod problémák lehetnek). A későbbiek során szétszedtem és MC1466L IC-vel építettem tápot, ez sokkal jobb tulajdonsággal rendelkezik, csak nem lehet már beszerezni. Aranyszabályok: 1; tápegység építés esetén feltétlenül gondolni kell az előszabályozásra (nem a soros áteresztő tranzisztorokon ég el az összes teljesítmény). 2; a kimeneti tápfeszültséget elektronikával figyelni kell, és ha a kimeneti feszültség kb. 5V. meghaladja a beállított értéket akkor a kimenetét vagy relével meg kell szakítani vagy tirisztorral össze kell zárni a tápot (drasztikus, de sok gyári tápegységben alkalmazzák). 3; Ha a tápot összeépítetted ellenőrizd az alkatrészek hőmérsékletét tartós terhelés után (az összeépítés előtt meg számításokkal). 4; KW-os tápok esetén javasolt kapcsolóüzemű trafó alkalmazása, mert egyszerűbb a feszültség szűrését megoldani, egyszerűbb az előszabályozás, könnyebb. 5; Külön feszültség és árammérőt építs a készülékbe vagy az LCD kijelzőn külön sorban mutassa. 6; Javasolt a kimenetre relés kapcsoló beépítése (kimeneti táp megszüntetésére). 7; A kimeneti feszültség és áram beállítására többmentű (HELI) potit célszerű alkalmazni (nem görcsölsz a beállításnál), ha kicsi elektronikát is viszel bele, akkor inkrementális jeladót rakjál bele. segítségével. Idézet: „Erre a kapcsolásra mondják, hogy lebegőtápos megoldás? Több táp kapcsolásban is láttam már ezt. A szabályozó műverősítők külön tápról mennek, láttam olyat is, ami akár csak +-5V-ról. De a gnd össze van kötve a táp pozitív sarkával. Tehát az átersztő tranyókat a kimenő feszhez képest +-5V-al tudják vezrelni, ami elég is. Jól értem, hogy ez így működik? Van ennek valami hátránya, azon kívül, hogy külön trafó kell?” Igen, ez a lebegőtáp. Azért, mert szabályzásért felelős áramköri rész tápja a kimenő delej pozitívjára van ültetve. Jól érted, ezek pontosan így működnek. Gondolkoznom kellene hogy tudjak valami hátrányát mondani, persze a plussz tápon kívül.
Az MC1466L IC vel épített táp is lebegőpontos táplálással dolgozott. Hátrányát én sem ismerem. De érdemes elgondolkodni rajta, hogy mi van akkor ha a lebegőpontos tápod megszűnik vagyis a szabályozott tápfeszültséged ennek következtében merre mozdul el.
Viszont lebegőpontos táplálás nélkül a 0V-ig történő leszabályozást szinte majdnem minden esetben el kell felejteni. Idézet: „Viszont lebegőpontos táplálás nélkül a 0V-ig történő leszabályozást szinte majdnem minden esetben el kell felejteni.” Na ezt miből gondolod?? Éppenhogy azért tudsz lemenni teljesen 0V-ig, mert a vezérlés az áteresztő tranzisztorokat a negatív tápnak hála teljesen le tudja húzni. Egyébként a lebegőpontos táp miért szűnne csak úgy meg? :miaz:
Ja bocsánat, félreolvastam a mondatodat.
Idézet: „Viszont lebegőpontos táplálás nélkül a 0V-ig történő leszabályozást szinte majdnem minden esetben el kell felejteni.” Az én tápomban ez úgy van megoldva, hogy egy egyszerű diódás-kondenzátoros-zeneres kapcsolás a bemenő AC feszből előállít -6V-ot a feszvezérlő műverősítőnek. Hú, mi is a neve? Negatív töltéspumpáló. Mellékeltem. Idézet: „De érdemes elgondolkodni rajta, hogy mi van akkor ha a lebegőpontos tápod megszűnik vagyis a szabályozott tápfeszültséged ennek következtében merre mozdul el.” Bármelyik tápegységnél érdemes elgondolkodni a be és kikapcsolási tranzienseken. A tápomban Q1 húzza le a kimenetet nulla voltra. (Mellékeltem) Köszönöm a válaszokat!
Olvastam hogy a Rádióelektronikás táp tetszett neked,és olybá tünt az irományodból h érted is amiről beszélsz!
én ezt a tápot szeretném megépíteni.csak az lenne a problémám hogy átkéne alakítani. én sokmindeki véleményét kikérdeztem mér olvashattad is.de kiváncsi vagyok a tiédre is. Segíts lécci! Szerinted hogy alakítsam át a tápo úgy hogy az tudjon 0,1-10A biztonságosan kicsikarni magából? köszönöm előre is! küldöm a kapcsolást és a cikket hozzá!
Nem vagyok ám egy nagy guru. Amit írok, azt a saját tápommal kapcsolatosan felmerült és olvasott dolgok alapján írom.
Először is, be kell építeni még három-négy 2n3055-öt, az biztos. Mennyit? Így kell méretezni: Egy tranyó 15A-t bír. Szóval nem ez a palacknyak. A bemenő tápfeszültség kb. 50V. Ha rövidzár van, akkor ez a fesz teljes egészében az áteresztő tranzisztorokon fog esni. 10A-nél ez 500W. Egy tranyó 115W-ot tud elfűteni, ha 25fokon tudod tartani a tok hőmérsékletét. (Nem a hűtőbordtát, hanem a tranyó tokját) 25 fokos tok felett a maximális teljesítmény 0,65 W/fok-al csökken. Tehát ha a tokod 100fokos, akkor a max teljesítményed már csak 115-100*0,65=50W. Ezek katalógus adatok. Meg kell nézni, milyen hűtőbordákat lehet kapni, azoknak milyen a hővezetése, a szigetelő alátétnek is van hővezetési ellenállása, ezekből lehet meghatározni, hogy végül is mennyi tranyó kell, ha a 30fokos lakásodban használod a tápot. Ha már van elég 2n3055-öd, akkor azokat meg is kel hajtani. Az áteresztő tranyóknak meg van adva az áramerősítési tényezőjük. Katalógus szerint - ha jól értelmezem - akkor legalább 20. Ez azt jelenti, hogy ha az áteresztő tranyókon összesen 10A folyik keresztül, akkor azoknak a bázisáramuk legalább fél amper lesz. Ellenőrizni kell, hogy a T2 elbír-e ennyit. Ha nem, erősebbre kell cserélni, hűtőfelület kell neki, de talán t2 is lehetne két, darlingtonba kapcsolt tranzisztor. Ha az áteresztő fokozat készen áll a 10A-ra, akkor még egy dolog van hátra: R21-et kell lecsökkenteni a megnövekedett áramnak megfelelően. Az ezen eső feszültség vezérli az áramkorlátozó részt. Úgy kell megváltztatni, hogy 10A-en az új ellenállás értékkel pont annyi fesz essen rajta, mint az eredeti értéken 3A-en. Szóba jöhet még az áteresztő tranzisztorok cseréje is erősebbre. Ilyenkor figyelni kell arra, hogy lasabb tranzisztort nem szabad használni, mert váltrakozó áramú terhelés esetén "belenghet" a kapcsolás. Hát szerény tudásommal ennyit tudok segíteni. Mielőtt konkrét számításokba mennénk, vesd össze a többiek által javasolt dolgokkal. Ha egyformákat mondtunk, az jó, akkor lehet számolni
A 2n3055 katalógusát nézegetve, van mégegy paraméter, ami határt szab. A maximálisan megengedett kollektor áram a kollektor-emitter feszültséggtől is függ. 50V kollektor-emitter fesznél ez 1,5-2A. (25 fokos tok hőmérséklet melett)
Érdemes megnézni különböző gyártók katalógusait, némelyikben egészen jó grafikonok vannak.
Hi!
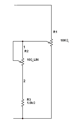
Megépítettem a pcb féle labortápot. És azt szeretném megkérdezni, hogy hogyan kell azt megcsinálni, hogy az eredeti poti mellé bekössek egy "finomító" potit. Tehát lenne az eredeti, amivel nagyából beállítanám a feszt és a másikkal pedig finomítanék rajta? Üdv: stefi
Szia !
Tegyél sorba mégegy potit. Pl: Ha a fesz.szab poti most 50K akkor sorba teszel egy 1K -t Üdv!
Na ezen én is agyatlam a múltkor. Mert ha sorosan kötök be mégegy potit, akkor a finomszabályozás mértéke függ a durvaszabályozás állásától.
Ezzen a lapon: http://www.musicfromouterspace.com/analogsynth/SEQ16_2005/SEQ16_2005.html ezt találtam most így hirtelen: http://www.musicfromouterspace.com/analogsynth/SEQ16_2005/SEQ16_ana...g1.gif Végül is práhuzamosan vannak kötve a potik, de a leágazásba betett egy-egy ellenállást.
Helló!
Azt addig értem, hogy a két szélső lábat sorba kötöm, de a két poti középső lábaival mit csináljak?? Ha nem nagy kérés akkor egy gyors rajzot nem tudnál készíteni Ha a poti 10K, akkor jó egy 100 oohmos?? üdv: stefi
Szerintem így kell, ha a soros bekötést csinálod.
Miért nem működik az ASCII ábra?
Mindegy, csatoltam. Idézet: „Miért nem működik az ASCII ábra?” Mert eltolódnak a sortörések. Meg az alávágás miatt. Szerintem.
Bekapcsoltam a (code) (/code) jelölőt. De valami miatt kihagyott soremeléseket. Mindegy...
Szia !
Ahol R3 a kimenet. 10K - durva 10 Ohm - finom Üdv!
Szia !
Lehet csatolni képet..linket..stb Igazából sok szükség nincs is az ASCii -ből rajzolt monalizákra ![]() Üdv!
hamarabb összedobtam asciiban, mint hogy megnyissak egy graf. programot, megrajzoljam, lementsem, átméretezzem és feltöltsem...
Sziasztok!
Az én tápomban, melynek közzétettem már a képét ebben a topikban, 4db 2n3055 tranyó van, méretes hűtőbordákon, ventillátorral, 0,1 ohm-os ellenállással az emittereken, Q2 tranyó bd139 tipusúra cserélve, hűtőbordával, C1 pufferkondi 15000 mikrof+ a panelon levő 4700mikrof, R7-et 2db 0,22ohm 9w-os telj.ellenállásra cseréltem, melyeket legalább annyira hűteni kell, mint a teljesítménytranyókat, mert ahogy melegszenek változik az ellenállásuk, és romlik a stabilitás. A transzformátoromon nincs előszabályzás, egyrészt mert nem egyszerű megcsinálni, másrészt ha nagyobb kimenőfeszültséget akarok, akkor sorbakötöm a másik tápegységemmel .Még egy fontos dolog! Trafómra primer és szekunder oldalra is elsőre olvadóbiztosítékot tettem, ugye első a biztonság, primer oldalra 3-A lomha, szekunder oldalra 12A-es lomha tipusút. A tápot beállítottam 10 A-re áramkorláttal /terhelés egy ellenállás volt/, és néztem, hogy bírja a terhelést. Hát 10 A-nál összeolvadt 10 perc alatt a szekunder biztosítékfoglalat!!! A megoldás csere C10 A es kismegszakítóra.... Az egyenirányító diódákat is ki kell cserélni, én 35Amperes gratez kockát építettem be hűtőbordával,de még így is melegszik. :wave: A rádiótechnikás tápot is megépítettem, az sokkal stabilabb, de ez, melyet Sallala is tesztelt, sokkal strapabíróbb, a rádiótechnikás 10 Amper körül nekem mindig kinyírta a végtranzisztorokat. Csatoltam egy képet rövidzárral terhelve 11A körüli árammal...
Ok! Kösz mindenkinek, sokat segítettetek!
Hálás köszönet: stefi |
Bejelentkezés
Hirdetés |



















