Fórum témák
» Több friss téma |
- Ez a felület kizárólag, az elektronikában kezdők kérdéseinek van fenntartva és nem elfelejtve, hogy hobbielektronika a fórumunk!
- Ami tehát azt jelenti, hogy a nagymama bevásárlását nem itt beszéljük meg, ill. ez nem üzenőfal! - Kerülendő az olyan kérdés, amit egy másik meglévő (több mint 17000 van), témában kellene kitárgyalni! - És végül büntetés terhe mellett kerülendő az MSN és egyéb szleng, a magyar helyesírás mellőzése, beleértve a mondateleji nagybetűket is!
komolyan ennyire nem érted, amit akarunk mondani? az a szöveg, ami nincs tagolva, nehezen vagy éppenséggel félreérthető...viszont ha tagolt, de nincsenek nagy kezdőbetűk, akkor azt mindenki érti - te is megértetted, amit írtam, nem? viszont ezek alapján látom te is tanultál nyelvtant, szóval nem tudom, miért nem sikerült ezt a tudást itt a gyakorlatba is átültetni? (központozás pl.)...ha hellóval köszöntél volna, akkor nem lett volna semmi gond.
Ladamester: a forrasztóállomás fűti a pákát, illetve lehet vele szabályozni a páka hőmérsékletét/a fűtés intezitását.
Nem akarok beleszólni de én is úgy szoktam köszönni hogy : Csövesség mindenkinek! Mindenki úgy köszön ahogy akar csak tisztelje meg a másikat(többieket) azzal hogy betartja az álltalános illemszabályokat.
![]() Az más kérdés hogy a magyar-angol szóösszetételekért kifejezetten nem rajongok én sem.
Egy a lényeg!
Ne akard egyedül megreformálni a köszönés szabályait, mert nagyon rossz vége lenne! Abból meg, hogy ki, hogyan köszön a másiknak, nem kéne levonni semmilyen következtetést a nemi hovatartozását illetően...ezt csak azért mondom, mert egyszer még élőben egy rosszkedvű embernek jegyzed meg ezt a b*zis dolgot (feltéve, hogy élőben el mered ezt mondani , és nem csak egy fórumon elhinteni ismeretlenül, arctalanul), és egyszercsak pl. a földön találod magad...És mostantól kezdve ez ismét Kezdő kérdések topik...
ez a HDTV (YPbPr) csatlakozó..
neked S-video kompozit/scart átalakító kell. Üdv
Ha bedugom a 220ba akkor is melegszik csak nem tudom állítani a hőfokot. Annyit értek hozzá hogy a zennert ne melegítsük órákig mert árt neki. Alapból ennyire lényeges lenne?
Hello, "annyira" épp nem lényeges, csak egyszerűen JOBB, ha a pákád pl 270+-7 fokos. Vagy ahogyan kívánod. Egy apró SMD nél jobb, ha hidegebb, ahogy irtad, kimáljük az alkatrészt. Ha meg dobozt forrasztunk, ahová kell a hő, hát akkor odapirítunk neki. Ezt ugyan nem ismerem, de ha különböző összetételű ónokat használunk, amelyeknek nyilván különböző az olvadáspontja, hát akkor hozzá lehet igazítani a pákát is, optimalizálandó a forrasztás feltételeit.... Nameg a 220?
Inkább az alacsony feszültségről működő pákákat szeretjük.
Rögtön érthetőbb . Kösz az infót!
szia!
lényegében megkaptad a választ, de azért én is leírom - egyszerűbben, "abszolute kezdő" szinten: (nem sértés akar lenni!) szal, a forrasztóállomás az egyszerűen egy szabályozható hőmérsékletű pákát jelent. az a "spirális izé" csak tartja a pákát, egyéb funkciója nincs!
Hello!
Lehet, hogy ezt már valaki megkérdezte, de nem akarom mind a 260-270 oldalt átkutatni. Szóval veleki el tudná magyarázni, hogy mi az a műveleti erősítő?
Köszi, de ezt MAGYARUL el tudnád mondani?
:bohoc:
Hali,
a műveleti erősítő, a bemenő jelet nagyságrendekkel többszörösére erősíti. De egyébként te is tudsz így keresgetni pl a google-ban, mert ah minden egyes dolgot megkérdezel, akkor abból nem tanulsz annyit, mintha Te magad bányásznál utánna!
Üdv!
Kaptam nemrég 3db ilyen kapcs. tápot, pontosabban a 9069 típusút. Az vetődött fe bennem, hogy a 24V -os kimenetet lehetne-e pufferelni, és így kihozni belőle 30V -ot??
DC feszültséget te hiába pufferelsz
Max. 1-2 tized voltot nyerhetsz vele...meg nagyobb lesz a terhelhetősége egy parányit...és ennyi.
Sziasztok!
Én Smd technológiával dolgozók, érdekelne minden olyan téma, ami ezzel kapcsolatos. (alkatrészek, nyák stb).
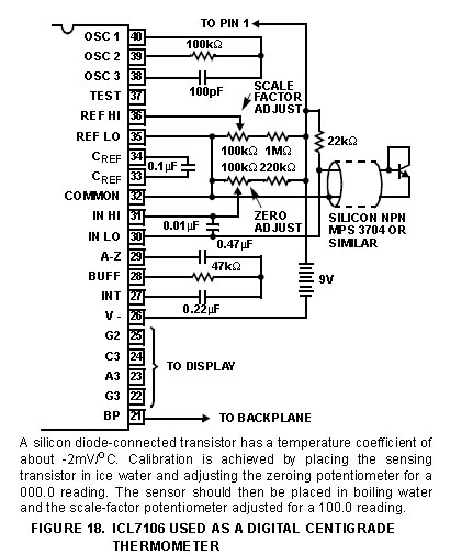
A mellékelteben egy ICL7107 hőmérő "gyári" kapcsolása van a pdf-jéből kimásolva.
Ha ezt így egy az egyben megépítem, akkor szerintetek működne, vagy kell még egyéb-más hozzá a +/- 5V tápfeszen kívül? És még egy: van egy 9V-os tápfesz az 1-es és 26-os lábak között. Ez mire való és hogyan kell kivitelezni?
Szia!
Anyagot nemtudok adni hozza,de ha barmien kerdesed van igyekszem segiteni,akar itt akar privatbann! (konv-alkatresz az aminek a laba atmegy a panelen,smd pont ugyan olyan csak nem bujik at a laba a panelen,es persze kissebb telyesitmeny ahhoz hogy lenyegesen kisseb merete lehessen )
Sziasztok! Van egy usb kábelem aminek a végén 1 egér volt! mit lehetne ebből csinálni? Jah és a 4 színű drótból meik a + és a - ??? köszi hali!
Pl. ledlámpa... A piros és fekete a + és -.
Itt van róla kép! egyik haver azt mondja a fekete és a fehér :S nem kötök rá addig semmit se nehogy baj legyen :S
igen Ledet! rákötöttem a pirosat és a fehéret és világított és a gép kíirta, hogy az usb eszközt nem lehet felismerni!!
Helló!
Lenne 1 kérdésem, ezt a hídkapcsolást szeretném megépíteni, és véleményt szeretnék kérni , hogy jól rajzoltam-e az átkötéseket, és hogy az a gnd az azt jelenti-e, hogy szimetrikus táp kell neki, vagy csak a zenebemenet minuisza?
még egy átkötés kell a C3 és a R7 között fog menni, ezt én rajzoltam régen, +- táp kell neki, és állítólag nem jó a nyáktervem, szóval le kell ellenörizni, hogy biztos jó-e..
üdv
Sziasztok lenne egy kerdesem mi az a tekercs a tv kepernyo hatoldalan?nem az elterito tkercsekre gondolok, hanem a masikra arra a nagy hosszura
Mire szolgal ez a tekercs?
demagnetizáló tekercs. a bekapcsoláskor csökkenő amplitudójú váltóáram megy át rajta, ezzel a maszkot demagnetizálja. (az esetleges mágneses foltokat, amelyek elszíneződést okoznak a képernyőn) szünteti meg.
|
Bejelentkezés
Hirdetés |





, és nem csak egy fórumon elhinteni ismeretlenül, arctalanul), és egyszercsak pl. a földön találod magad...
Inkább az alacsony feszültségről működő pákákat szeretjük.
:bohoc:








