Fórum témák
» Több friss téma |
Szia!
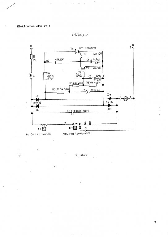
Köszönöm, hogy gyorsan reagáltál. Nem tudom, hogy erre gondoltam-e, de valószínű, ugyanis nincs a kezemben a panel. Nekem egy meglévő - saját - vezérlőt kéne megjavítanom. Ezért egy olyan rajz kellene, ahol az alkatrészek értékei is fel vannak tüntetve. Sajnos ezen a .pdf-en nincsenek adatok. Így majdnem használhatatlan. Hol tudnék utánajárni vagy esetleg korszerűbb panelt beszerezni? A segítséget előre is köszönöm.
A "tessék szétnézni " egy kicsit durva volt, de azért köszi. Sajnos az alapkérdésre nem kaptam választ: továbbra is keresem a FÉG C24 cirkó vezérlő paneljének eredeti kapcsolási rajzát az alkatrészek értékeinek feltüntetésével.
Kérem, aki ismeri ezt a panelt, segítsen! Előre is köszönöm: W. A. A hozzászólás módosítva: Ápr 16, 2013
Köszi, de kapcsolási rajzra volna szükségem. Egyébként a fényképen lévő panel egy-két generációval fiatalabb, mint az enyém. Ha biztos lehetnék benne, hogy használható a régi helyett és lenne hozzá kapcsolási rajz, meg is venném.
Tessék! Nem kerül semmibe! .. Azért nem haladsz, mert mástól várod el, hogy kikaparja a gesztenyét.
A hozzászólás módosítva: Ápr 17, 2013
Kedves VIM!
Hálás köszönet! Csak erre volt szükségem. Nekem sajnos semmilyen keresővel nem sikerült kikaparnom a gesztenyét. Még egyszer köszönöm!
Üdvözlet Mindenkinek!
Van egy Immergas gázkazánom, amire sajnos már lejárt a garancia, a szervízben azt mondták, hogy ha kijönnek, készítsek min. 20.000 forintot, de lehet, hogy többet. Az a hibája, hogy a melegvizes csap megnyitásakor, vagy amikor a termosztát indítaná a fűtést, akkor 10-es hibajelzést mutat és nem ad melegvizet. Aztán, ha elég sokáig engedem a vizet (mondjuk 2-3 percig), egyszer csak elindul a meleg víz és kialszik a hibajelzés. És onnantól már nincs gond, ha pl. megy a fűtés, akkor a melegvíz is beindul, illetve fordítva, ha ment a meleg víz, a vízcsap elzárása után gond nélkül beindul a fűtés. A 10-es kód az útmutató szerint azt jelentené, hogy baj van a nyomással a rendszerben, és be kell állítani. Viszont a nyomás rendben van, ellenőriztem, 1 és 1,5 bar közt. És akkor a csapvíz nyitásakor miért jelez egyáltalán, annak nem lenne köze a fűtőkör nyomásához. Szerintetek mi lehet a gond és tényleg csak drágán lehet-e javítani? Köszönettel: Zoltie
Egy pontos típusnév megadása után több tanácsot lehetne adni. Immergas kazánból elég sok típus van, még azt sem lehet ebből a leírásból tudni, hogy sima, vagy kondenzációs kazánról van szó!
Bocs, valóban. Kondenzációs Immergas Victrix 26 kW.
Sziasztok!
Van egy Immergas Eolo Star 23KW Turbo gázkazánom. Az a problémám vele ha kicsire veszem az átfolyást a csapon a víz túlmelegszik. 60C fok felé is megy mire vissza kapcsol majd újra kezdi a túlfűtést. Be lehet ezt a típust úgy állítani, hogy kis átfolyásnál is a digitális kijelzőn beállított vízhőmérsékletet adja? A válaszokat előre is köszönöm. üdv
Mivel a kazánod bitermikus és un átfolyós rendszerű, kizárólag teljes HMV átfolyással tud rendesen szabályozni.
Üdv
Van egy Saunier Duval Renova Star kombi cirkó,a hiba hogy egyáltalán nem szikráztat ha megnyitom a meleg vízcsapot,a venntillátort hallom elindulni de utánna semmi csak a piros led. Köszönöm a segítséget.
Szia! Szerintem a presszosztát akadt fenn, piros cső megy a ventilátorból a légnyomás kapcsolóba a ventilátor felőli oldalt húzd le és nézd meg a presszosztát kapcsol-e?
Köszönöm a választ kipróbáltam kivettem a presszosztátot és kimértem megvan a rövidzár,ezután visszaraktam és induláskor hallom is kattanni.De a helyzet változatlan sajnos.Szivattyú ,ventilátor elindul,de szikra nincs.Kimértem a panelen lévő sorkapocsnál ahonnan egy háromeres kábel megy a ZIG 2 nevű fekete "valamihez"amiből megy a két ér a szikráztatóhoz,a kék és a barna erek között 127-128 volt a feszültség. ??
Időközben studíroztam a működési elvét és a hőmérséklet korlátozón megakadt a szemem van rajta egy piros gomb,ilyen szerű van a villany bojlereken is,megnyomtam és jó lett,működik.Már csak az a kérdés hogy mitől oldott ki???
Bármitől 95 C Felett
Koszos a hőcserélő!
Túlmelegszik a hőcserélő és valaminak védeni kell - ez a stemco. A hozzászólás módosítva: Jún 3, 2013
Értem.A "koszosságot" kívülről vagy belülről érted?Vagy mindkettő?Mert szétszedvén kívülről nem láttam koszosnak,hamvasszürke színe volt.
Mi a teendő?
A koszosságot a hőcserélő belső felületére értem.
Minden vas anyagú szerkezet, mely a fűtésrendszerben van, víz alatt is oxidálódik. Ez a vasiszap kering és rakódik le. Ettől kellene a fűtésrendszeredet megszabadítani. Ha vissza olvasol régebbi hozzászólásokra, sokan sokszor írtunk erről.
Aha értem és köszönöm.Viszont valamit nem értek ill. nem tudok.A kazán át van állítva nyári üzemmódba,csak meleg vizet készítünk vele,mi köze a meleg víznek a fűtésrendszerhez,összefügg a kettő ebből a szempontból?
Bitermikus a hőcserélőd! A fűtés és a meleg víz ugyanazon hőcserélőn keresztül készül.
Csak a HMV keresztül van csövezve a fűtési hőcserélődön.
A nyári állásnak csak akkor van jelentősége, ha nincs szobatermosztátod.
Képzelj el egy vastagabb csövet amelyen átmegy egy vékonyabb. A vastag a fűtés, a vékony a HMV.
A nyári állásnak csak akkor van jelentősége, ha nincs szobatermosztátod.
Képzelj el egy vastagabb csövet amelyen átmegy egy vékonyabb. A vastag a fűtés, a vékony a HMV.
Kezdek belezavarodni.Amikor szétszedtem a készüléket akkor azt láttam hogy két cső megy a hőcserélőbe jobboldalt és két cső baloldalt.Ahogy ezen a rajzon van.Bővebben: Link
a 2.4 rajz. Az a korlátozó ami kioldott a "C" jelű előremenő fűtővíz ágon van rajta,azt kapcsoltam vissza.Tehát nem értem hogyha csak melegvizet készítek hogyan melegszik fel az a cső aminek nem kéne melegedni. Lehet totál sületlenségeket írok ám,csak szeretném megérteni.!
Ne zavarodj bele!
Képzeld el a dupla falú tejforralót! A két jobb oldali a HMV, a baloldali a fűtés. A fűtőkör vize melegíti a HMV-t. Mivel ez van közelebb a lánghoz jobban is melegszik, ezért van itt a "biztonsági termosztát", stemco. A hozzászólás módosítva: Jún 5, 2013
Így van! Az lehetett, hogy amikor meleg vizet engedsz akkor ha a hőcserélő hőmérséklete amit a kijelzőn látsz jobb oldali rublika felmegy (akár a tehetetlenségtől) 80-83 fokra akkor a szivattyú elindul, hogy lehűtse a hőcserélőt, ha ez késik, vagy levegős a hőcserélő akkor a stemko már ugrik is ki.
![]() Így van!
Ok. köszönöm megértettem.Viszont még egy kérdés!Egy úr felajánlott nekem,egy gyári hőcserélőt,szivattyút,és több alkatrészt a készülékemhez(gondolom olvasta hogy miről folyik a diskurzus itt)tehát a kérdés hogy érdemes e megvenni?A készülék 2006-os javítva még soha nem volt.Nem is tudom milyen ára van ezeknek az alkatrészeknek.?
És egy ilyen vasiszaptalanítás elvégezhető házilag vagy szaki.kell hozzá?Mibe kerül? Kicsit több lett mint egy kérdés,bocsi.
A hőcserélő "gázos", mivel nem lát bele az ember. Lehet benne bármi és nem lehet kitisztítani. A víz ugyan átfolyik, de a melegítés hatására hibák sokaságát produkálja. A szivattyúnak meg kell nézni a tengely részét a csapágynál. Nincs-e megkopva oválisra. Ez is a vasoxidra vezethető vissza.
Az árak lassan aranyárban vannak. A rendszer tisztításhoz olvass vissza régebbi írásokat. |
Bejelentkezés
Hirdetés |




