Fórum témák
» Több friss téma |
A hőcserélőre azt írta hogy új,nem használt.
Köszönöm visszaolvasom.
Ebbe a készülékbe 2 féle hőcserélő lehet, vigyázz! Van a sima és a bt az 1ik hollandis a másik stiftes!
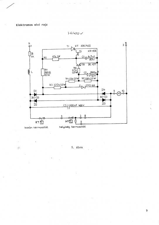
Üdv mindenkinek! A c-21-es cirkóm szivattyúja a hőfok elérése után utánkeringető fordulaton jár.De nem 30-40 mp-ig hanem állandóan amíg újra teljes fordulatra nem kapcsol. Akár 1/2 óráig is A saját és a szobatermosztát is jó.Van valakinek ötlete hogy mekkora a hiba nagysága? Választ mindekinek köszönöm
Szia, már rég jártam erre....
Ha még eredeti panel van a C21-ben, akkor 99 %-ban valószínű, hogy a csökkentett teljesítményű keringetés időzítő áramköri részében a kondenzátor "elöregedett" kiszáradt. Régi elektrolit kondenzátoroknál ez nem ritka. Egy 100 Ft-os alkatrész a panelon. A rajzon ez C2-vel jelölt 1000µF-os kondenzátor. Jellemzően az idő múlásával egyre hosszabb ideig működik a csökkentett keringetés, végül szinte sohase kapcsol le, hisz a kondenzátor nem képes feltöltődni a TR tranzisztor nyitásához szükséges feszültségre, így a diak mindig be tudja gyújtani a teljesítménykörben a tirisztort. Vagy ezt a panelt javítod/javíttatod vagy kb 5000Ft-ért veszel egy másikat. Vannak újabb panelok is amik egy az egyben helyettesítik a régit. Negyedórás munka, házilag is könnyen javítható, csak a polaritásra kell figyelni a csere során.
Sziasztok!
Olyan gondom lenne,hogy van egy Ariston Clas24 FF kazánunk ami megadta magát,ha a hálózati csatlakozóját bedugom akkor csak a ventilátora megy egyfolytában de nem ad melegvizet.A hibakód 607,volt kint szerelő azt mondta vezérlő panel hiba,szereléssel mindennel 70.000.pénz.Kérdésem az lenne nem lehet azon a panelon kimérni a hibás alkatrész és kicserélni? Vagy a panel csere a megoldás? ui:A szerelő lehúzta a füstgáz presszosztát csövét és beindult a kazán(remélem jól írtam). Válaszokat előre is köszönöm.
Nem a presszosztát a rossz?
Húzd le a presszosztát-ventillátor összekötő csövét. Amikor elindul a ventillátor szívd meg, ha leáll ne szívd, nézd meg elindul-e?
Ha megszívom 1 pillanatra belobban aztán kialszik újra 6p2 irt ki,ahogy szívtam úgy lobbant...
Ha folyamatosan szívod akkor ég folyamatosan?
Lehet rosszul csinálom,de mikor megnyitom a meleg vízet és a három ágú presszcsövet aminek a két ága 1ik a presszosztáton hagyom a másikat az elszívó ventilátoron a hosszú harmadik ágat megszívom elindul mind addig míg szívom megy,ha a pressz.vent.-nál lehúzva szívom akkor nem indul be,bocsánat de nem értek ezekhez a dolgokhoz csak elkeserít,hogy milyen árban van hozzá cucc és bízom benne,hogy van valami más megoldás is....
Üdvözlet mindenkinek! A segítségeteket szeretném kérni. Van egy Ariston BS II 24 kombi falicirkó ami a következő hibát produkálja. Meleg víz vételnél elindul aztán pár másodperc elteltével leáll és a kijelző lámpák és a leírás szerint "lángleszakadást" jelez. Reset után van amikor elindul, de ha elzárom és újból megnyitom a meleg vizet akkor már nem. A fórumot olvasgatva egy korábbi tanács alapján a láng feletti érzékelőket megtisztítottam, bár látható lerakódás nem volt rajta, ezután 4 napig hibamentesen üzemelt, majd tegnap megint megmakacsolta magát. Jelenleg csak úgy hajlandó elindulni, ha az égéstér előtti burkolólemez alsó két rögzítőfület lepattintom, résre megnyitom a lemezt, megnyitom a vizet, majd gyújtás után visszapattintom, ha ezt nem teszem akkor most már nem is gyújt. Ventilátor megy, szivattyú megy presszosztát kattan, lehúzott csővel nincs gyújtás.
A válaszokat előre is köszönöm.
Ez a hiba azért van, mert nem kapcsol a levegő nyomáskapcsoló (pressostát)!
Nagy valószínűséggel: 1. a kazánköri hőcserélő szennyezett, esetleg a pressostát "elmászott" 2. a koncentrikus fűstgázcső valahol tőmítetlen.
Köszönöm a választ!
A hőcserélőt kizárnám, mivel viszonylag fiatal a készülék 1,5 éves és a víznyomás is rendben van amikor megnyitom a csapot. A füstgázcső rá nézetre rendben van, a készülék fölött és a padláson is. Rendesen rögzítve van és nem látszik, hogy szét lenne csúszva, persze csak a külső csövet látom..... a tisztítónyíláson egy tükörrel benézve szintén nem láttam szétcsúszást, már amennyire látni lehet. Az hogy a pressostát "elmászott" az mit takar, van valami állítási lehetőség, hogy mikor kapcsoljon, vagy csak a csere segít és én mint egyszerű földi halandó be tudom-e ezt szerezni valahol, vagy csak szakembernek árulják? Idézet: a tömítés a füstgázoldalon esetleg meggyűrődhetett, a kapcsolón lehet állítani egy széles pofájú lapos csavarhúzóval. Ámbár mérni kellene a nyomásokat! „A füstgázcső rá nézetre rendben van”
Köszi!
Az állítást akkor kihagyom, mert mérni nem tudom és rontani nem akarok rajta. Akkor nem marad más, minthogy a füstcsövet szét kell szedni és ellenőrizni a tömítéseket, valamint, hogy jól van-e összerakva? Lehet kapni külön tömítést ehhez mert ha meg van gyűrődve akkor kicsi az esélye, hogy a deformálódás miatt jól össze tudjam rakni.
Sziasztok!
Néhány hete írtam ide, de sajnos nem jött válasz. Van egy Kondenzációs Immergas Victrix 26 kW gázkazánom, amire sajnos már lejárt a garancia, a szervízben azt mondták, hogy ha kijönnek, készítsek min. 20.000 forintot, de lehet, hogy többet. Az a hibája, hogy néha, véletlenszerűen a melegvizes csap megnyitásakor, vagy amikor a termosztát indítaná a fűtést, akkor 10-es hibajelzést mutat (nincs rendben a víz nyomása a fűtőkörben) és nem ad meleg vizet. Aztán, ha elég sokáig engedem a vizet (mondjuk 2-3 percig), egyszer csak elindul a meleg víz és kialszik a hibajelzés. És onnantól már nincs gond, ha pl. megy a fűtés, akkor a melegvíz is beindul, illetve fordítva, ha ment a meleg víz, a vízcsap elzárása után gond nélkül beindul a fűtés. A fűtőkörben a nyomás rendben van, ellenőriztem, 1 és 1,5 bar közt. És akkor a csapvíz nyitásakor miért jelez egyáltalán, annak nem lenne köze a fűtőkör nyomásához. A probléma most is fennáll, hogy nyári üzemmódra van állítva, tehát fűtést nem szolgáltat. Próbáltam már átmosni a kazánt (friss vizet engedtem be és közben eresztettem kifelé a régit), hátha a nyomásérzékelő elkoszolódott, de nem segít. A legutóbbi tapasztalatom, hogy a hibajelzés akkor alszik ki a leggyorsabban, ha több csapon is megnyitom a meleg vizet, így nagy sebességgel áramlik a víz a kazánban. Nem tudom, van-e szerepe, de azóta van ez, hogy kitavaszodott, és már nem meleg folyamatosan a víz a fűtőkörben. Van valami tippetek, hogy mivel lehetne ezt gyógyítani? Köszönettel: Zoltie A hozzászólás módosítva: Jún 17, 2013
Sziasztok!
Van egy Vaillant vuw hu 240/2-3 típusú kombi kazánom és tegnap reggel óta egy led sem világít rajat. Ki- be kapcs után sem. Biztik áram rendben. Valakinek ötlete? Panel hiba? Lehet azt javítani? Segítsetek! Köszi!
Sajna nem tudok segíteni, mivel - szerencsémre - még nem javítottam.
De a víznyomáskapcsoló körül lehet a megoldás. De lehet, hogy koszos a fűtésrendszered. A hozzászólás módosítva: Jún 18, 2013
Ritkán, de előfordul ennél a típusnál, hogy meghibásodik a nyomásérzékelője, vagy kontakthibás a csatlakozója.Ha jól emlékszem akkor szemben állva bal oldalon felül van a hőcserélő felett.Egy fekete,3-4 cm nagyságú fekete buzogány szerű kütyü. Első lépésként meg kellene mozgatni a csatlakozóját, hátha az segít, ha nem akkor csere! Esetleg ha van hozzá késztetésed akkor kikapcsolt kazánnál, csatlakozó lehúz, megpróbál átkötni a két csatlakozási pontját. Utána visszakapcsolni és lepróbálni. Így meg lehet állapítani a konkrét hibáját a kazánnak.
Üdvözletem Mindenkinek!
Segítségeteket szeretném kérni egy Buderus Logamax U012-24 kazán vezérlőpaneljével kapcsolatban. A problémám szinte ugyan az, mint az előttem író sorstáraknak. Kezdetben a kazán gyújtáshibával leállt, de egy kikapcsolás után egy bizonyos ideig ismét működött. Tegnap azonban végleg megadta magát. A ventilátor elindul, a kémény érzékelő kapcsol, de ezt követően a gázszelep és a gyújtás nem indul be. A kazán csak próbálkozik, de nem indul el, hibajelet viszont most nem ad... Mind a fűtőkör, mind pedig a meleg víz körnél hasonló a jelenség. Az előttem szólóknak a panelen található kondenzátor cseréjével megoldódott a probléma. Tudnátok segíteni nekem, hogy ki vállal Érd környékén ilyen paneljavítást? A panelt elviszem, ha szükséges. Csak a rend kedvéért, a szerviz már járt nálam és persze nem tudták megoldani...csak a panelcsere segíthet... Segítségeteket köszönöm előre is!
A panel elején van a 4 led. A 2., 3., és a 4.-iknek kellene világítani vagy villogni!
Tisztelt toro!
Köszönöm a hozzászólásod! Csak az első LED világított folyamatosan zölden, de gyújtás nem volt. A többi LED nem világított... De! Ma délután egy elektronikai boltban vettem egy kondenzátort (400V 630nF) 190 Ft-ért és kicseréltem a panelen. Nagy szerencsém volt, mert valóban ez a kondenzátor volt a hibás. Kimérni nem tudtam sajnos az eredetit, mert annyira nem értek a dologhoz, de egyszer nekem is lehet szerencsém... Kipróbáltam az összes vészfunkciót (gázszelep, visszaáramlás, túlhevülés) és mindenre reagál a kazán szerencsére. Egy óra alatt sikerült a csere és most fürödtem le MELEG vízben. Minden fórumozónak nagyon köszönöm a hozzászólását, ami hozzásegített a dolog megoldásában. Remélem hosszú távon működőképes lesz a dolog. A Buderus helpdeskről pedig csak annyit, hogy négy hónapja még csak nem is méltattak a nekik írt levélre és telefonos megkeresésre sem. TI pedig azonnal a segíteni próbáltatok. Kiváló ez a fórum, mindenkinek sok szerencsét kívánok a javításokhoz. ![]() Ügyes vagy! Ha vissza olvasol régebbi írásokra, többen többször írtuk a Buderus U012-24k kazánok probléma megoldásait. Sajnos ez egy bitermikus hőcserélőjű kazán, ami a magyar piacon nem sok sikert aratott. Egyébként egy az egyben az Unical IVEN 4B! Ha bármi gondod van keress itt bennünket - megpróbálunk segíteni. Természetesen csak olyan javítási lehetőségekkel, amelyek nem ütköznek a biztonsági láncban!
Amikor a hiba eloszor elojott, szinten a forumotok segitsegevel megtudtam, hogy ez a kazan egy olasz csoda nemet borben. Mivel a szerelo altal emlitett ar irrealisan magas volt, utana neztem a neten,hogy a gyarto altal mukodtetett potalkatresz ellatas hogy mukodik. Ratalaltam az alabbi honlapra, ahol a kazanhoz minden alkatresz beszerezheto. A panel ara 190€. ~ 55.000 Ft + postakoltseg. Ez megsem olyan horribilis, mint a hazai lehuzos ceg ara. Van egy Unical Iven 04 potalkatresz katalogusom is, ami alapjan a webshopban keresni lehet Remelem ezzel en is tudok segiteni valakinek, aki hasonlo modon elkeseredett, mint en voltam.
http://www.ricambi-caldaie.it/ricambi/schede-elettroniche/unical-ki...R.html ![]() Köszi, hogy megosztottad az infót. Ez a fórum, azért lett - szerintem - kitalálva, hogy aki bajba jut segítséghez jusson. A német bőrben nem igaz, hanem "csak" német név alatt.
Kedves Mindenki.
tudna vki küldeni nekem Saunier Duval Ecosy F28 E AS vezérlőpanel rajzot vagy egy nagyfelbontású képet főként a pirossal keretezett részről? A bekarikázott alkatrész azonosítása lenne nagyon fontos! Köszönöm szépen! üdv., gzozo A hozzászólás módosítva: Jún 25, 2013
1-2 nap és megmondom, de mindig elmegy a szoftvere is
![]() Nem kecsegtetlek sok jóval, de lesz kép, hátha segít ![]() Csak azt mond meg mikori a kazán vagy gysz mert többféle van.
köszönöm a segítséget szóv*al
2009-es a készülék. gyszám: 210913001000684931000005152N9 13/2009 érdemes javítani a panelt? IC meg néhány dióda csere úgy néz ki! üdv. A hozzászólás módosítva: Jún 26, 2013
Saunier Duval F24 kombikazánunk F11 hibakódot írt ki, vezérlő kártya nem működik.
Tudja valaki, hogyan javítható, kb mennyi az új alkatrész (ha kell). |
Bejelentkezés
Hirdetés |








