Fórum témák

» Több friss téma
Fórum » Rádió építés a kezdetektől a világvevőig
Lapozás: OK   50 / 278
(#) fecameca válasza Atosbacsi hozzászólására (») Aug 10, 2013 /
 
Azért néha benézhettek ide is. Nem is sejtitek, hogy mennyire jók ezek a TDA7088-at tartalmazó kis kínai készülékek, ha jól be vannak hangolva, verik az összes 10,7 MHz KF-et tartalmazó rádiómat. Ha jó a terjedés, még a románokat is behozzák, Újvidék, meg természetesen jól bejön rajtuk.
(#) Atosbacsi hozzászólása Aug 10, 2013 /
 
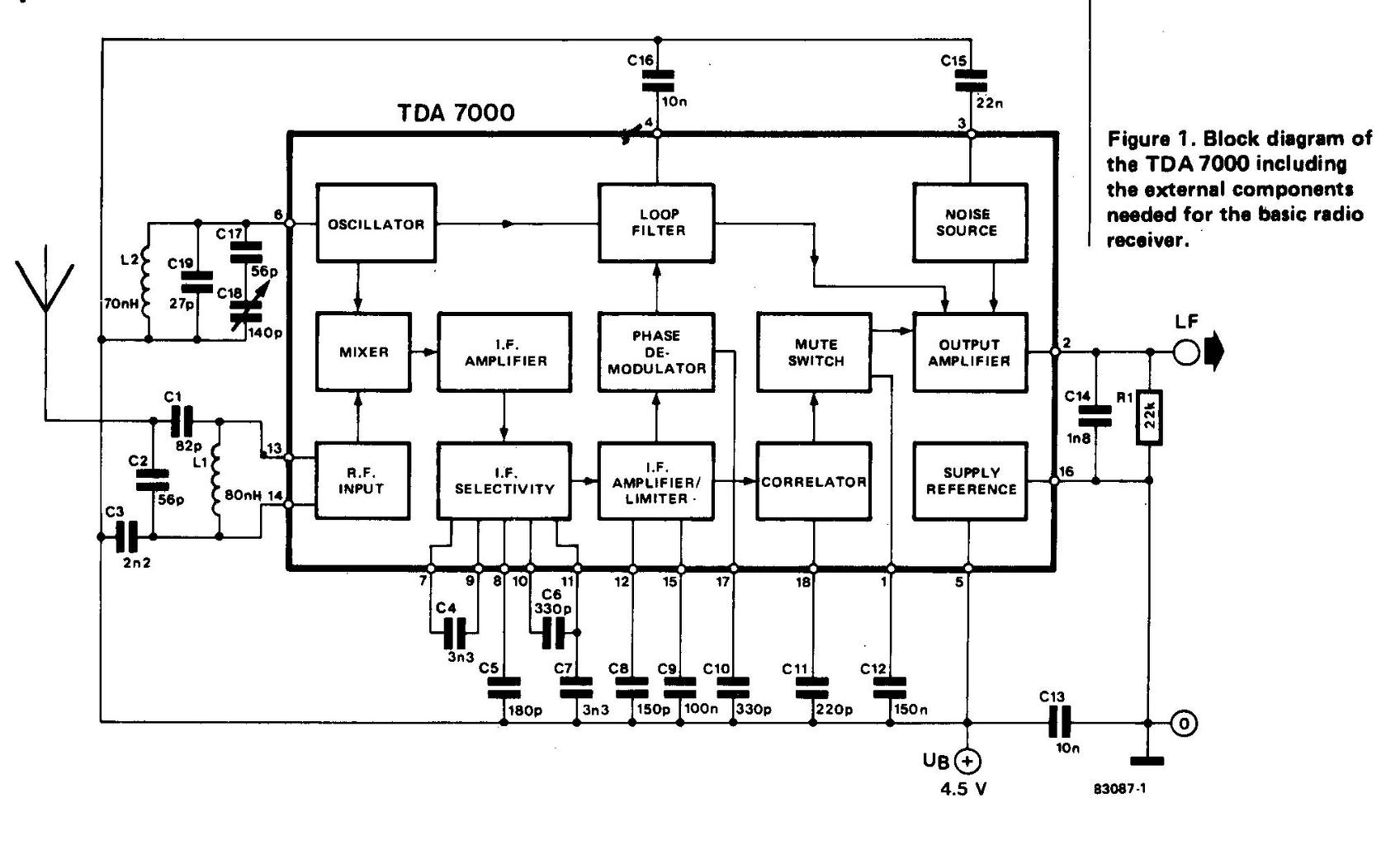
Én ma kapcsoltam be a kis TDA rádiómat, amit több mint egy éve építettem ez alapján:
Bővebben: Link

Régóta egy zsebrádiót hallgatok, amit rákötök a saját VCS audionom "P.U" bemenetére. Szép hangja van, bár nélkülözi a mélyeket.
Visszatérve a TDA-ra: csatlakoztattam és valami borzasztó hangot ad. Nem emlékszem, hogy régen is ilyen volt-e, de most nagyon gyenge a hangminőség. Mintha csak nagyon gyengén fogná az adót meg olyan "robothangja" van.
Felbuzdulva munkádon építek egy másikat, mert van egy elfekvő kínai zsebrádióm. De először a tranyós AM/FM vevő....
(#) _BiG_ válasza Atosbacsi hozzászólására (») Aug 10, 2013 /
 
A "robothang" nekem azt súgja, hogy gerjed.
(#) fecameca válasza Atosbacsi hozzászólására (») Aug 10, 2013 /
 
Ezeknél mindkét rezgőkör pontos behangolása fontos, nem csak az oszcillátor. Sok kínai gyári ilyen is nincs jól beállítva, azért gerjed. Nagyon fontos, hogy a hangfrekis vég tápjáról jól el legyen választva, különben összegerjed! A tiédben nincsen telep szűrés, pedig legalább egy 27 ohm és 100 mikrófarad a minimum, de még jobb a végfoknak magasabb táp, és a rádiónak külön 3 Voltos stabilizátor, vagy mint nálam, a 7805-ről egy LED-en át esik le 3,16 voltra. (A Sokol 9 voltjából.) Szerintem gerjed a te rádiód, (mint a legtöbb dzsunkán összetákolt kínai ilyen testvére), azt kellene csak kiirtani. Fontos még, hogy a tekercsek benne úgy legyenek elhelyezve, hogy még véletlenül se szórhassanak egymásra. Árnyékolás nélkül a megfelelő távolság, és merőleges elhelyezés, vagy hely híján akár vasmag, és árnyékolás. Nyugodtan tehetsz rá komolyabb végfokot(minimum egy LM386), az a két tranzisztoros nem túl bizalomkeltő. Ha mély hangokat akarsz, elsősorban jó nagy hangszóró kell, jó dobozban, és minél nagyobb csatoló kondenzátorok. A 100 nanó helyett legalább 10 mikrofarad, hangszóró csatolónak meg legalább ezer mikró.
(#) Atosbacsi válasza fecameca hozzászólására (») Aug 10, 2013 /
 
Köszönöm a tippet. Azzal most nem foglalkozom majd, olyan kuszaság van benne, hogy nincs kedvem szerelgetni. Én csináltam.
Tiszta lappal kezdek inkább. Van egy cd9088, és egy tda7000 ic-m. A cd9088-ról azt olvastam, hogy olyan mint a tda7088.
A TDA7000-el érdemes foglalkoznom, miután úgy volt bekötve, hogy az 1-es lábra a 10kohmos ellenállás nélkül ment 9V? Vagy biztos kuka?
Pontosan milyenek a Te tekercsadataid?
(#) fecameca válasza Atosbacsi hozzászólására (») Aug 10, 2013 /
 
Idézet:
„A TDA7000-el érdemes foglalkoznom, miután úgy volt bekötve, hogy az 1-es lábra a 10 kohmos ellenállás nélkül ment 9V? Vagy biztos kuka?
Pontosan milyenek a Te tekercsadataid?”
Ehhez bizony meg kellett néznem az adatlapját, annyira nem vagyok benne otthon, sőt ilyennel még rádiót sem építettem. Az 1. lábat mute control-nak írja, azaz zajzár. Nem tudni, mi van ott az IC-n belül. lehet, hogy túlélte. Van olyan rajz is, ahol egy ellenállás sincs benne,azaz csak a kimenetet zárja le egy. Amúgy 2,7 től 10 voltig működik a dolog, de fogalmam sincs lehet-e baja, mert azt se tudom, miért szállt el a 7088-am a hangoló fesz potitól? A tekercsek: 0,5 mm-es huzalból 5 vagy 6 menet 5-ös fúrón. Ha 3-at tekersz (Mert a Conrad-os kit azt írta), akkor viszont kell bele vasmag. 3-as fúrón is 6 menet volt abban a kínaiban, amit most szereltem, viszont nem húzták szét egyáltalán. Tekertem már 2-es fúróra 8-at, mert kevés volt a hely, az is bejött. Egyébként, ha a meneteket széjjelebb ráncigálod, és teszel bele vasmagot, nem olyan gerjedékeny, de annak én is jobban örülök, ha összejön vasmag nélkül, de van, hogy nem úszom meg, ugyanis én mindig mindent vassal és rézzel próbálok behangolni, mielőtt nekiesnék ráncigálni, így kevesebbet kell őket húzogatni, és szebbek maradnak a tekercsek. Az a cd 9088 van az összes kínaiban, de összehasonlítottam a rajzokat, teljesen ugyanaz, mint a TDA.
A hozzászólás módosítva: Aug 10, 2013

tda7000b.JPG
    
(#) fecameca válasza Atosbacsi hozzászólására (») Aug 10, 2013 /
 
Sajnos egy kis kínai rádió sokszor olcsóbb, mint egy TDA, pedig hangvégfok, doboz, hangszóró, potméter, és antenna is van sokszor benne. Ezért nem építgettem, csak javítgattam ilyeneket.
(#) fecameca válasza fecameca hozzászólására (») Aug 10, 2013 /
 
Azt nem tudom, a Conrad miért ír mindig három menetet, vasmag nélkül az kevés a 88 MHz-nek. Légmagos tekercsnek legalább 5-6 menet kell erre a sávra, még azzal a varicap-pal, és kondenzátorokkal is, amik a Conrad kit-ben vannak. A kínaiakban mindig 6 menetet látni.
A hozzászólás módosítva: Aug 10, 2013
(#) Marko Ramiusz hozzászólása Aug 20, 2013 /
 
Sziasztok! A "Kezdő kérdések"fórum után itt is felteszem kérdésem, talán ez a megfelelőbb. 20 év után 1-2 éve kezdek ismét elektronikával foglalkozni, de a rádiótechnikában (is) meglehetősen járatlan vagyok. A kérdésem az lenne, hogy nem mindegyik zsebrádió erősítőjében van kimenőtranszformátor? Egyébként mi határozza meg, hogy van-e, vagy nincs? Köszönöm a választ. Üdv.: Yoe
(#) pucuka válasza Marko Ramiusz hozzászólására (») Aug 20, 2013 /
 
Leginkább pénzkérdés. A kimenő transzformátor előállítása kézi munkát igényel, tömeggyártása ezért drágább is, mint egy kondenzátorénak. A kisteljesítményű Ge tranzisztorok korában nemigen volt más választás, ezért akkor leginkább kimenőtrafós végerősítőket gyártottak. A nagyobb terhelhetőségű, és stabilabb működésű Si tranzisztoroknál már lehetett trafó nélküli megoldást is használni, ráadásul olcsóbb is.
(#) fecameca válasza Marko Ramiusz hozzászólására (») Aug 20, 2013 / 1
 
Szia! Szerintem elsősorban az évjárat. Körülbelül a hetvenes évek végéig volt uralkodó, bár van átfedés, mert úgy kb a hetvenes évek elején kezdtek elterjedni a trafó nélküliek, de az, aki előre sokat legyártott, az gondolom, még tovább árulta azokat. Ez pont olyan, mint az, hogy amikor már volt mindenféle IC, miért voltak az első színes televízióink elektroncsövesek? Először az elektroncsöves kapcsolásokat próbálták meg elkészíteni tranzisztorokkal, később már több fantáziájuk lett a tervezőknek. Kezdetben állítólag drágák voltak a tranzisztorok, később már fillérekbe kerültek azok, akkor kezdtek el azon gondolkodni, a nehezen megtekercselhető, és belemezelhető transzformátorokat miképen lehetne mégis a rádiókból és erősítőkből elhagyni. A transzformátoros csatolások esetén kevesebb tranzisztorral érhető el ugyanaz az erősítés. A komplementer végfok, főleg, ha emitterkövetős, jóformán feszültséget már nem is erősít, csak impedanciát illeszt, és az előtte levő fokozatokkal kell elérni azt a kimenőfeszültséget, ami végül is majd rákerül a hangszóróra. Ez minimum kettővel több tranzisztort jelent, sőt hőmérséklet kompenzálás , védelem, stb extrák mind plusz tranzisztort jelentenek a tervezéskor.
A hozzászólás módosítva: Aug 20, 2013
(#) fery45 válasza Marko Ramiusz hozzászólására (») Aug 20, 2013 /
 
Az elektroncsöveknél a végcsövek egyenárama tartalmazta a hangfrekvenciás váltó áramot. Ezt a hangszórók számára csak transzformátorral lehetett szétválasztani. Egy részről volt előnye, hogy a hangszóró impedanciára lehetett illeszteni, más részről ha az erősítőt túlvezéreltük kisebb lett a kimenő teljesítmény nemcsak torzabb. A transzformátor minősége behatárolta a hangminőséget. Mint írták más hozzászólók, ez munkaigényes, drága volt. Én fiatal koromban sok kimenőt méreteztem és tekercseltem. A félvezetős erősítőknél kifejlesztettek olyan kapcsolásokat, amelyeknél a kimeneten az egyenfeszültségű tápáramból hangfrekvenciás váltóáram keletkezik a hangszórók számára.(Lásd komplementer, kvázi komplementer, híd kapcsolások..) Előnye a jobb hangminőség, hátránya a körülményes hangszóró illesztés és így a teljesítmény kivétel. További hátrány, hogy túlvezérléskor egyenáramok mennek a hangszóróra, ami nagy torzítást, sok alkalommal hangszóró tekercs égést okoz. Hangszóró tekercselő ként sok ilyet javítottam és tekercseltem. Nehezen értik meg, hogy nem szabad a félvezetős erősítőket túlvezérelten üzemeltetni.
(#) kristikoma válasza fecameca hozzászólására (») Aug 20, 2013 /
 
Ugyan nem feltétlenül zsebrádió, de készült már hamarabb is kimenő transzformátor nélküli táskarádió, ráadásul itthoni. Atosbacsinak is van már, Orionton rádió. Az meg '60-as évek terméke. Oda két zsebtelep kellett, a tranyók kimenete, és a tápfesz. közepe közé tették a 15 Ohmos hangszórót. Vagy említhetném a BRG M9 típusú magnót is. Ott kicsatoló kondival oldották meg.
(#) fecameca válasza kristikoma hozzászólására (») Aug 20, 2013 /
 
Jó. Nekem is van még olyan. Igaz, hogy nem Orion, hanem Sanyo, de elég régi az is, még apám szerette. Nem akartam nagyon tovább ragozni a dolgot, azért nem írtam vissza pucunak, hogy fel tudnék sorolni legalább két tucat Ge tranzisztoros trafó nélkülit, a Philips talán már a hatvanas években elkezdte a trafó nélkülieket, gyártani, az oroszok meg még a nyolcvanas években is Ge tranzisztokoat raktak bele, legalább a végfoknak, azok tértek át a legkésőbb a Szilícium tranzisztorokra, azt hiszem. Sokáig élt együtt a kettő, mint említettem, azért nehéz a dátumot pontosan megadni, meg aztán amiben fázisfordító van, az nem teljesen trafó nélküli, inkább a kettő átmenetének hívnám. Akár a televízióknál, ott is a hordozhatóak már elég korán tranzisztorosak voltak, lásd Tünde, stb, a nagyobbak mégis csak nagyon sokára lettek teljesen félvezetősök.
(#) fery45 hozzászólása Aug 21, 2013 /
 
Igazatok van. Lehetetlenség felsorolni azokat a készülékeket, amelyek kimenő transzformátor nélkül készültek. Nekem is volt Orionton táskarádióm a 60-as évek közepén. Csináltam hozzá hálózati tápot, 2*4,5 voltosat. Sőt találkoztam elektroncsöves kapcsolással is, ahol kondenzátoros kicsatolás volt.
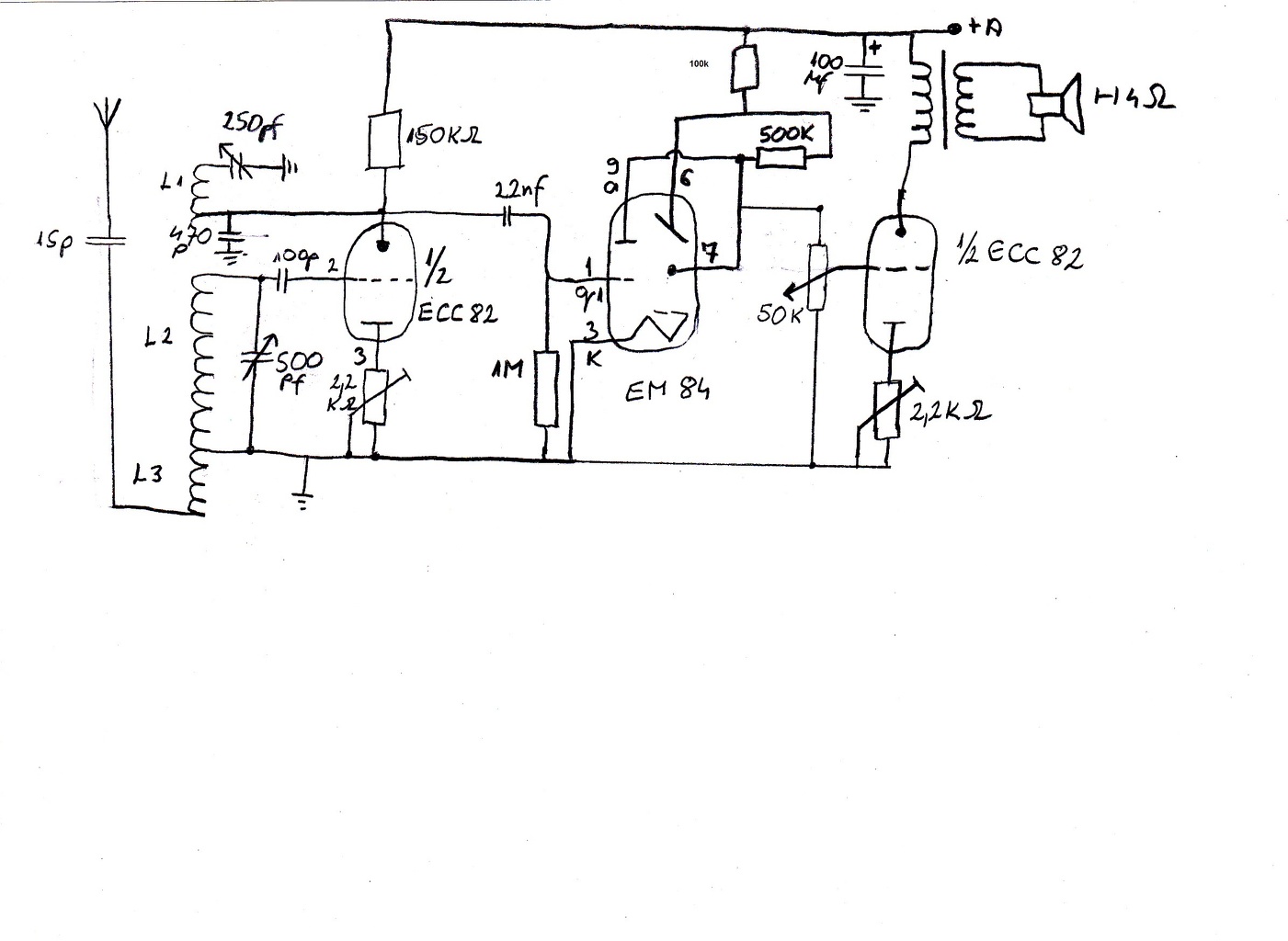
Más: A hatvanas évek végén építettem egy 6 csöves világvevő rádiót, az akkori Szabad Európa, Amerika hangja, és többiek vételére. Sikeresen működött minden javítás nélkül, pedig akkoriban sok használt alkatrésszel épült a rossz alkatrész beszerzési okok miatt. Az elmúlt évben elővettem a padlásról. Leporolva, tisztába téve, meglepődtem a kifogástalan minőségén. 5 évtized után még mindig jól működik. A csövezése: ECH81, EBF89, ECC83, EL84, EM80, EZ81, és 3db OA1160dióda. Ezzel nem akarok dicsekedni, csak érdekes számomra, hogy még mindig jól működik.
(#) kristikoma válasza fery45 hozzászólására (») Aug 21, 2013 /
 
Miért ne lehetne dicsekedni? Egy szupert annakidején valóban nehéz volt összehozni. Az, hogy nem kellett javítani, az meg főleg dicséret .
(#) pucuka válasza fecameca hozzászólására (») Aug 21, 2013 1 /
 
Lehetne sorolni sok mindent. Csak azt ne felejtsd el, amit írtam, hogy a kisteljesítményű tranzisztorokra mondtam, hogy nemigen volt más megoldás. Ui. a kimenő trafónak a feladata az impedancia illesztés. Márpedig a kisteljesítményű tranzisztorok kimeneti impedanciája is elég magas ahhoz, hogy veszteség nélkül ne lehessen illeszteni hozzá egy általánosan használt 4 ohmos hangszórót. A transzformátor nélküli félvezetős végfokok akkor terjedtek el jobban, mikor megjelentek a nagyobb áramú (kis kimeneti impedanciával rendelkező) és főleg komplementer tranzisztorok. A kisteljesítményű tranzisztorokkal, és kimenő trafóval el lehetett érni 5 - 600 mW kimenő teljesítményt, ami egy zsebrádióba bőven elég.
A csövek magas belső ellenállása miatt szóba se jöhet a transzformátor mellőzése, még annak ellenére sem, hogy direkt erre a célra kifejlesztett cső is van, (EL86) de ide is spec nagyimpedanciás hangszórók kellettek.
Kéretik a hozzászólást pontosan olvasni.
(#) fecameca válasza pucuka hozzászólására (») Aug 21, 2013 /
 
Akárhányszor olvasom, abban szerintem a Ge és a Si felesleges, de mégis odaírtad, különben OK. Azért nem sorolok fel típusokat, mert a végtelenig lehetne dobálózni vele oda- vissza. Annak, hogy áttértek a Si alapanyagra, más oka van, a többi rendben van.
(#) Marko Ramiusz hozzászólása Aug 21, 2013 /
 
Sziasztok! pucuka, fecameca, fery45, köszönöm a válaszokat. Azért elárulnám, hogy miért is kérdeztem, nem szorosan kapcsolódik magához a rádióhoz. Több Hobby Elektronikában megjelent cikkben olvastam, hogy az adott áramkörben lévő kimenőtrafót fel lehet lelni régi pl. zsebrádiókban. A minap a helyi bolhapiacon vásároltam kettőt is, de csak az egyikben volt ilyen transzformátor. Erről jutott eszembe, maga kérdés. Azért továbbfűzném a gondolatot: ha a régi rádiókban nem találok hasonló dolgot, akkor honnan tudok szerezni ilyet? Tényleg, a Sokol-okat megvehetem? Üdv.: Yoe
A hozzászólás módosítva: Aug 21, 2013
(#) CHZ válasza pucuka hozzászólására (») Aug 21, 2013 /
 
Idézet:
„A csövek magas belső ellenállása miatt szóba se jöhet a transzformátor mellőzése, még annak ellenére sem, hogy direkt erre a célra kifejlesztett cső is van, (EL86) de ide is spec nagyimpedanciás hangszórók kellettek.”

Ez így nem igaz, még ma is készítenek csöves erősítőt kimenő nélkül.
OTL amplifier címszó alatt több kapcsolást találhatsz, még használható kivitelben is.
Egyszerű OTL
(#) Atosbacsi válasza fery45 hozzászólására (») Aug 21, 2013 /
 
Dicséretes munka! Kapcsolási rajza nincs meg véletlenül? Ugyan még sok tervem van előtte, és kevés időm, de egy utolsó saját csövesként szívesen megépíteném, ha szabad.
(#) CHZ válasza Marko Ramiusz hozzászólására (») Aug 21, 2013 /
 
Szia!
SOKOL403 tartalmaz kimenőt és fázisfordítót is.
Sajnos kiforrasztásával vigyázni kell, mivel hőre lágyuló műanyag a cséve, ezért könnyen kiolvadnak a kivezetései, könnyen tönkremegy. SIGNÁL és az ORBITA rádiókban valamivel stabilabb kivitelű trafók voltak.
(#) pucuka válasza CHZ hozzászólására (») Aug 21, 2013 /
 
Attól még áll a kijelentés, Persze 4 db párhuzamosan kapcsolt katód követőnek már elég kicsi a kimeneti impedanciája, de még így sincs igazi illesztés, se feszültség generátoros üzem, de már működik.
A félvezetők 1 ohm alatti kimenő impedanciáját meg sem közelíti.
A hozzászólás módosítva: Aug 21, 2013
(#) Marko Ramiusz válasza CHZ hozzászólására (») Aug 21, 2013 /
 
Szia! Mindhárom rádiót láttam a bolhapiacon, vasárnap meg is veszem őket, 1000 Ft-ért. Egyébként köszönöm a jó tanácsot.
(#) CHZ válasza Marko Ramiusz hozzászólására (») Aug 22, 2013 /
 
Szia!
Trafók felhasználása előtt érdemes a kivezetéseit kimérned, mert az orosz trafóknak igen változatos a bekötésük.
(#) Marko Ramiusz válasza CHZ hozzászólására (») Aug 22, 2013 /
 
Autórádiók is szóba jöhetnek? Abból is van rengeteg a bolhapiacon.
(#) fecameca válasza Marko Ramiusz hozzászólására (») Aug 22, 2013 /
 
Azok már túl újak. Kádár Géza könyvből kellene kinézned, melyik típus jöhetne szóba. Elsősorban olyanokat keress, amiben még nincs URH. Abból a korból meg már nagyon kevés maradt meg. Elmentek azok is a bontóba. Minek neked annyi kimenőtrafó? Kis Hong Kongi és régi japán zsebrádiókban olyanok vannak, amit könnyű kivenni.
(#) Marko Ramiusz válasza fecameca hozzászólására (») Aug 23, 2013 /
 
fecameca! Mint említettem, több olyan Hobby Elektronika cikkben is szerepelnek kimenőtrafók és fojtótekercsek, amik nem feltétlenül rádióhoz kellenek. Konkrétan melyik Kádár Géza könyvre gondolsz, többet is találtam, igaz egyikbe sem olvastam bele. Üdv.: Yoe
(#) fecameca válasza Marko Ramiusz hozzászólására (») Aug 23, 2013 /
 
Az elktroncsöves és az IC-s korszak közöttiekre, úgy a 60-as évekből. A tartalomjegyzékben megnézed, vannak-e benne régi autórádiók? De ne autórádiókra vadássz, mert azok, gondolj csak bele, legfeljebb a második autódba szereled bele ugyanazt a rádiót, a harmadikban már biztosan lesz újabb rádió, ma már rádió nélkül nemigen árulnak autót. Amiket a piacon látsz, legtöbbjüket 1990- és 2010 között gyártották, és mind IC-sek lesznek, hacsak nem találsz valami muzeális példányt, véletlenül. De ne engem kérdezz, én még soha nem láttam autórádióban kimenőtrafót. Azok a rádiók még a nagyszüleinkkel egyidős autókban voltak. Azok a rádiók a régi autójukkal együtt elmentek már a bontóba.
(#) madzagos hozzászólása Aug 24, 2013 /
 
Üdvözletem Mindenkinek.
Építettem egy csöves rádiót saját elgondolás alapján.Kísérleti panelon elkészült és működik. A varázsszem is jelez. Minden része a lomból került ki .
Tisztelettel Madzagos
Következő: »»   50 / 278
Bejelentkezés

Belépés

Hirdetés
XDT.hu
Az oldalon sütiket használunk a helyes működéshez. Bővebb információt az adatvédelmi szabályzatban olvashatsz. Megértettem