Fórum témák
» Több friss téma |
Szerbusztok. Keresek egy IC-t vagy annak megfelelöjét.Nem tudom a láb kiosztást.
SFC 2311DC, TCA311, B611. Ez a három jelölés 1db IC-nek a különböző jelölése Üdv majorka
Datasheet Archive-ban megtalálod (mindegyik nevén). Darlington kimenetű OPAM SR18.
A TCA311 Darlington bemenetű komparátor és a bekötése olyan, mint ezen a képen. A zárójeles számok vonatkoznak a 6 lábú tokozáshoz.
Sziasztok!
Bontásra került nállam egy Canon SmartBase MP 360 tintasugaras multifunkciós gép..... Mielőtt nagyon szétkaptam volna eszembe jutott hogy a szkenner részéből csinálhatnék egy levilágítót úgyis olyan fain kezelőpult van a jobb szélén! Szét is kaptam de nem kerültem közelebb az LCD-tipusához... Ezáltal ahhoz se hogy hogyan tudnám meghajtani! Esetleg ha van valakinek ötlete.....
14 lába van, sima karakteres kijelzőnek néz ki. Nézd meg a táplábait, ha azok ugyanott vannak, mint egy sima 2X16 karakteres kijelzőnek, akkor valószínű, hogy a többi is ugyanaz.
Hát hogy őszinte legyek túl sokat nem látok belőle!
Kivettem a tokozásból de a mellékelt kép alapján látszik hogy ott se lettem sokkal okosabb. lehet hogy sima 2x16 karakteres csak nincs rajta háttérvilágítás? mert a fogadónyákból se derül ki túl sok minden.. A hozzászólás módosítva: Ápr 1, 2014
Elképzelhető, hogy az lesz. Van a nyákon egy elektrolitkondi, azt nézd meg, hátha csatlakozik a kijelző csatijához. Esetleg nézz szét, hátha találsz egy testpontot és azt megnézni hová megy a kijelző csatin.
Sziasztok!
A RET-nél árulnak aranyért huzal biztosíték ellenállást, ez mi a Franciskát jelent, miért olyan drága? Köszönöm.
Gondolom mert speciális ötvözet . Gondolj bele mi van azon a kis üvegcsövesen 25 Ft? A két fémsapka vagy az üveg vagy a munkadíj? Ha egy centi 20 ft, 1m lehet akár 2000 is.
A RET-nél mennyi az aranyár?
Kiderítettem, igazából egy sima ellenállás, csak ha megengedettnél nagyobb áram folyik rajta azonnal megszakad, mint egy biztosíték.
Csak a szemem szúrta ki!
![]() Köszi!
A használhatóság szempontjából semmi. Ólommentes...
A hozzászólás módosítva: Ápr 2, 2014
Az elko negativ pólusát multiméterrel kicsengetve az LCD 6 és 14 -es lábával sipol.. azaz ezek vannak elvileg testen!?
Amúgy elég sok lába az lcd nek ebbe az ic-be megy bele! Próbáltam 3 és 5 V vel meghajtani 13-14 es lábról.. ( gondoltam hátha eredeti 14 lábas lcd csak fordítva.... De semmi.. pedig az lcd tuti jó
Sziasztok!
Az alábbi képeken látható alkatrész micsoda? A hozzászólás módosítva: Ápr 4, 2014
Induktivitás néz így ki. Multiméterrel mérjél ellenállást a két lába között. Ha 1-2 vagy néhány Ohm körül van, akkor minden bizonnyal az.
A hozzászólás módosítva: Ápr 4, 2014
0.5 ohmot mutat, akkor tényleg induktivitás. A tetején van egy 15-ös szám, ez a mérete, ugye?
És ez az alkatrész micsoda?
Tranzisztor. Ha jól látom SOT-25 tokozású. Pontos típust mondj te a rajta lévő feliratokból. (már ha látszódik rajta valami)
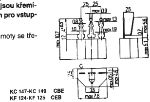
Szia, ez egy Tesla gyártmányú tranzisztor, típusa ha minden igaz: KC149, illetve lehet még KC148 és KC147 is.
Itt egy adatlap:KC149 Elég régi, a volt Csehszlovákiában készült. Ha működik, akkor használható. A hozzászólás módosítva: Ápr 4, 2014
Kösz, ez nekem is jól jött.
Esetleg nem tudsz olyan táblázatot, amiben a Tesla diódák adatai vannak meg, mert ugye színes csíkokkal jelölték a diódákat, ezek a csíkok utalnak a feszültségtűrésre, de nincs rá táblázatom. Esetleg azokra az apró sárga csíkos zénerekre milyen ,,törvény" van, vagy azokat csak mérni lehet? Van itthon belőlük pár darab, és jó lenne tudni ilyen adatokat. |
Bejelentkezés
Hirdetés |













pedig az lcd tuti jó 










