Fórum témák
» Több friss téma |
Fórum » Elektroncső
Talán fotonsokszorozó (Photomultiplier).
Nem az, az nem "mágneses". Ez szerintem korai magnetron, még a "pizza melegítés" előtti korból.
Arról a másikról is lehet más nézetből képet?
Annak tudomásom szerint sík az eleje.
Ha nem is mágneses de vonzza a vasat.
Ó, az nekem is nagy vágyam. A börzén árulnak egyet, de elég sokért (már az asztaldísz funkcióban sokért).
Mennyit kérnek érte?
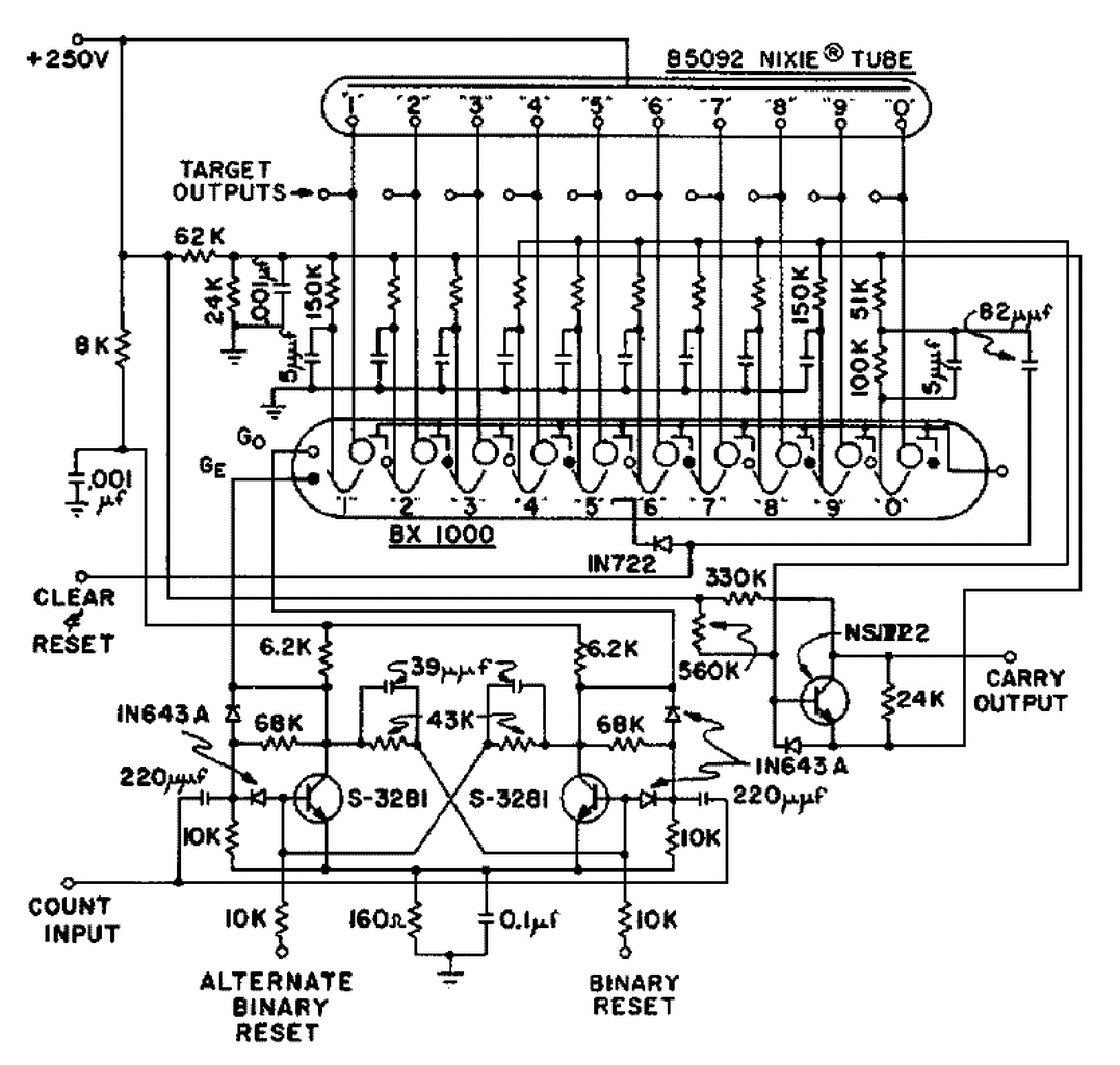
Ezt is magyarok konstruálták (Hajdú fivérek). Nem sokáig használták, a tranzisztorok már léteztek, mire sorozatgyártásba került.
Akkor ezt benéztem, a fenének emlegettetek mágnest
![]() Arra az "oldalevezős" valamire még mindig nincs tippem...
Ha a varázsszem a szkópcső "kistesója", akkor ezt hívhatjuk öcsi-magnetronnak - van köztük hasonlóság (és mágnes is van benne).
Nekem egy ilyen ET1-esem van, ez talán nem oly ritka, de szép (és jó drága...)
No meg mi lehet vagy mire használták ezt az üvegcsövet.
Köszi a felhomályosítást.
E1T-m is van. Azt hittem csak egy egyszerű kijelző cső.
Ez az elektróda nélküli cső esetleg valami nemesgázzal van töltve, akkor térerő indikátornak lehet használni...
Mondjuk, ahogy egy adót (antennát) lehet glimmlámpával hangolni. Annak ugyan vannak kivezetései, de ezesetben használva nincsenek.
16000Ft vagy 18000Ft ha jól emlékszem.
16 volt.
![]() Egészségedre. Nagyon szép példány. Én egy kisebbet kapok majd talán. Hát már nem tudom a nevét, talán GMI12. Az is szép, de hát a tiéd az ász...
Köszönöm!
Ezen a néven hirtelen nem találtam csövet de biztos az is klassz.
Sziasztok!
Tudja valaki. hogy mennyiért mehetnek a börzén új EM84-es csövek?
Hu a conradot nem mutasd azt nem a földön járóknak találták ki . A börzén vacsi uj 1000 forint MAX
A szélsőségeket mutattam, a két szélét...
Nekem is van vagy 5 db, de már kiszerettem belőlük, nem lesznek használva.
GMI-90, megnéztem.
Igen az is szép darab. Az a cső volt a második a gyűjteményembe ott kaptam fertőzést. Épp nemrég szereztem be még egyet jó lesz csere alapnak.
Van 1 marék:6N1P;6N1P-EV;6N1P-VI csövem, mire lehet ezt használni van valami értéke?
Mint ahogan a guglin mondják, egyezik az ECC88-al. Azokból tehát pl. csuda SRPP-k kerekedhetnek.
Becsüld meg őket.
Sajnos ez teves dolog mert egyaltalan nem hasonlit az ECC88 -hoz . Az interneten rengeteg baromsagot irnak tudatlanul ,jelen esetben eleg ha a ket cso adatlapjat nezzuk.
A hozzászólás módosítva: Jan 15, 2016
Semmit nem érnek, ezért nyugodtan elküldheted nekem
Itt egy gyár hazudta előttem. De lehet, félreértettem...Tévedés joga fenntartva.
A hozzászólás módosítva: Jan 15, 2016
|
Bejelentkezés
Hirdetés |














