Fórum témák
» Több friss téma |
Mielőtt kérdezel, a következő két dolgot ellenőrizd!
I. A helyes tápfeszültségek megléte.
II. A kimeneten van-e egyenfeszültség.
Élesztés.
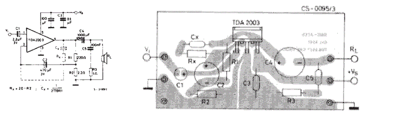
Van elég panel, mert eredetileg minden hangszorohoz csináltam egyet, a bajom az, hogy immár vagy egy hete hallgatok TDA2003 hangokat és jot ( jobbat mint az enyém) nem hallottam. Ebböl a NYAKbol meg biztos eladtak kis milliot , de mintha mindenki botfülü lenne és nem hallja a torzitást.
Söt jelenleg a bemeneti föld ( a NYAKon) nincs is használva, mert az egyenesen a táp földjéhez van kötve, a NYAKra meg csak jel vezeték megy. ( igy kizárva a hurok) A hozzászólás módosítva: Máj 27, 2016
Hali.
Köszi, megfogom nézni. Nem rég értem haza a melóból. Most bekapcsoltam és lám elsőre működik. Nekem is gyanús a dolog, hogy valami miatt rövidzár lehet a kimeneten nála. De hát azt mondta, hogy nincs semmi baj, igaz ezt látni kéne. Na méregetek majd és jövök az eredménnyel. Innen letudod tölteni a rajzot: PM 640vxi SM A hozzászólás módosítva: Máj 27, 2016
Így van, ezért is használok már ilyeneket erősítőhöz, a toroidokból elég volt.
Az invertáló és a neminvertáló bementekhez tartozó testpontok között továbbra is folyik a tápáram. Beletorzít a negatív félperiódusba. A TDA2003 amúgy teljesen ok.
Nekem gyári (Williams flipperből mentve ) hidam van, a NYÁK bizony makulátlan tervezés.
Mindkét oldal egyformán produkálja ugyanazt a jelenséget?
Akkor az előfokok környékén néznék körül. Ütögetés kopogtatás és, ha elkezd pattogni, vagy elnémul stb. akkor kontakthibát keresnék. A gazdájánál egyértelmáen hibát produkáló, de szálítás után meggyógyuló berendezéseknél a kontakthibával kell kezdeni szerintem.
A hozzászólás módosítva: Máj 27, 2016
Most ujra megnéztem, ha nincs bekötve a bemenet földje ( ami most a helyzet) akkor a te átalakitásod szerintem tárgytalan, mert a te rajzodon az X jeltöl jobbra, beleértve a X helyét is, már semmi sincs a földre kötve, azaz csupán a folia felületét növeli.
A 3-s láb, amit át kellene kötni, gyakorlatilag egy kis U kanyarral - valoszinüleg nagyobb felületen - ugyanonnan kap földet, ahonnan a te rajzod szerint kellene. Esetleg a táp lenne a gond - csak 12 V-t kap, de azt kapcsitápbol (12V6A) extra 20000 µF pufferelve. Idézet: „csak 12 V-t kap, de azt kapcsitápbol (12V6A) extra 20000 µF pufferelve.” A kapcsitápot ne extra puffereld, főleg ennyivel mert elég furcsa dolgokat tud produkálni mint az alacsony frekvenciájú zaj, tegyél a panelra maximum 1000µF-ot az IC közelébe. A hozzászólás módosítva: Máj 27, 2016
A puffert csak most raktam be remélve, hogy javul valami. Nem javult, de nem is változott.
A vezetősávon eső feszültség itt a perdöntő. Természetesen nem akarom rád erőszakolni, dönts belátásod szerint, minden szükséges információt a rendelkezésedre bocsájtottam a fentiekben.
Majd holnap kiprobálom, csak miután a vezetösáv sehova máshova nem megy csak az IC lábára igy aligha eshet rajta valami. Mindenképpen kösz az ötletet.
A bemenő jel földjét feltétlen kösd a megadott helyére, ha sikerrel jársz ígérem kifejtem teljes részletességgel hova ásták a kutyust
Az is ki lett már probálva a hang maradt. Még holnap átforrasztom a földet az IC-re.
Sziasztok. Ket problemaval fordulok hozzatok.
1. Van egy Yamaha R3 radios erositom, ami hibasan kerult a tulajdonomba, nem volt eletjel benne. Kiderult, hogy az egyik csatorna vegtranzisztorai, az egyik meghajto zarlatosak, es egy 0.22R emiterellenallas szakadt. Az eredeti vegtranzisztorokat es meghajtot nem tudtam beszerezni csak helyettesitoket. Beulteteskor sikerult a meghajtot forditva betennem, B-E felcserelodott. Nyugalmi aram nem volt, a 2mV-os allasban sem mertem semmit az emiterellenallasokon. Miutan rajottem a tevedesre, kicsereltem a meghajtot, bar meresre jonak tunt. Most mar az ellenkezoje tortenik, indulaskor az emiterellenallason tobb mint 200mV van, es 2-3 masodperc alatt felmegy 440mV-ra. Ekkor le kell kapcsolnom az erositott, mert forro a borda. A tranzisztorok meresre jonak tunnek, es mar nincs otletem hol keressem a hibat. Sajnos rajzot nem tudok csatolni, fenn van az elektrotanyan, de olyan tipusu pdf ami nem enged valtoztatast a dokumentumban. 2. Anno reloop kollega linkelt egy pc scope programot, aminek oscsiloskop es jelgenerator funkcioja is van, a hangkartyat hasznalja a szamitogepbol. A hatranya az , hogy 0.7V-nal nagyobb jelet a hangkartya nem fogadhat, igy tamadt egy olyan otletem, hogy keszitek egy ellenallasosztot a bemenetre, igy joval nagyobb szintu jel megjelenitesere is alkalmas lesz. Mi a velemenyetek errol az otletemrol, illetve milyen erteku ellenallasoszto felel meg? Idézet: Olyan, amelyik max. 0,7 V-ra osztja le a bemenő feszültséget. Nyílván 10, 20, 50 vagy 100 V-ra más értékű osztás kell. „milyen erteku ellenallasoszto felel meg?”
Szia!
Rövidre zártam a bemenetet , de a zaj rajta maradt.
Szia!
a rövidre zárt bemenet nem hozott sikert. Megmértem, hogy milyen feszültségek mennek a panelre még. +-140V és 2x 17V AC Lehet a végfokpanelen rossz valami szűrés. Van két 10Kohm/2W -os ellenállás ami kb 80-90 fokos. Valamint 1 db MJE 350 tranzisztor. Mind a két panel esetén. Ez normális? Okozhatja ez a zaj forrását?
Ha a kábelen zárod rövidre az ugyanaz, mintha rá lenne dugva valamire, a panelen kell rövidre zárni ott ahol a zobel tag is van a bemeneten, ha van.
a panelen a csatlakozó tüskéket zártam össze.
Az nem jó, ha az MJE ennyire forrósodik. Azzal lesz a galiba szerintem. Csere.
Tapasztalatom szerint, ha egy félvezető melegszik, az általában jó, nem kell cserélni. Éppen a hidegek a gyanúsak.
Fényképezd le az erősítőt felülről, hogy a teljes belső felépítés látszódjon és jelöld be, hogy melyik végfok a zajosabb.
Ha nagyon, akkor nem sokáig.
A hozzászólás módosítva: Máj 28, 2016
Ez így igaz. Viszont 0 bemeneti jelnél éppenhogy csak langyosodnia kéne valaminek. (Kivéve stab IC, regulátorok stb) Valószínűnek tartom, hogy egy bemeneti (mondjuk fázisfordító stb) akár az egyik MJE zárlatos, vagy megnyúlt (átereszt) ezàltal üresben is nagy áramfelvétele van a két 2W/10k-s ellenállásnak. Gondolom a nagyfeszből ezek szolgáltatnak áramot.
De bármi lehetséges, a hibalehetőségek száma láthatatlanba elég nagy. Viszont a gyanúm meglehetősen nagy a hibás MJE-re. Annyit meg lehetne csinálni, hogy kivenné onnan a kedves kolléga egy teszt erejéig, és megfelelő áramkorláttal (például min 2x10ohm /5w a biztosítékok helyén) majd áram alá helyezné a végfok modult, és pár másodperc után kikapcsolva, a forrósodó ellenállásokat óvatosan újra ujjal áttapogatni mi a helyzet velük? Közbe kivenni a másikat is és egy multival átnézni hogy a kettő MJE között van-e, ha igen mennyi érték a különbsègek?
A vezérlés hiánya, nem befolyásolja az egyenáramú beállítás miatti melegedéseket (Pl. a QUAD405 560 R-jai is ilyenek). De bármi lehet, és egy MJE megmérése nagyon egyszerű feladat, bőven belefér az időbe egy ilyen ellenőrzés, akár jó, akár nem. Meg kell mérni, és megvan a bizonyosság.
Pechem van a kapcsitápokkal. Megoldodott a dolog. Elöször kiprobáltam akkurol, egyböl jo lett a hang ( semmit nem változtattam a nyákon). Aztán leterheltem a kapcsitápot egy 21W-s izzóval, az is azonnal segitett. Miután nem világitani akarok, hanem zenét hallgatni, összeraktam egy klasszikus tápegységet, most még szárad a doboza és de holnap beépitem.
Eredelileg egy kisebb kapcsitáp 12V / 3A) volt benne - az is ilyen hangtorzitást okozott, de sokkal nagyobbat. Késöbb kicseréltem egy 12V/6A tápra (gyári cucc) eddig szervokat hajtottam ilyenekkel ( van vagy 6 üzemben, mindeddig gond nélkül) az erösitökön jobb volt mint az elöbbi ( legalábbis a mühelyben nem vettem észre a torzitást), de csak most melegben járattam hosszabb ideig a kertben és lett zavaro a hang. Lusta voltam kivinni a szkopot és mérecsgélni, de lehet, hogy a táp igyekezett valamit pumpálni amikor a TDA több áramot igényelt? Az elsönél még érthetö volt, mert az LED világitásra lett tervezve konstans árammal (3A), de az utobbit nem ilyesmire tervezték (tudtommal).
Mielőtt a lényegre térnék, végezzük ki a kapcsolóüzemű tápot!
Szemben a trafós tápokkal, ahol a maximális áramfelvétel effektív értékét kell tudni a forrásnak, a kapcsolóüzeműnél magát az áramcsúcsot is teljesítenie kell, mert különben leszabályoz. A TDA2003 3,5A tartós és 4,5A nem ismétlődő csúcsot tud kezelni, ezért a három csatornás erősítőt illek legalább 12A-es kapcsitápról járatni. A hangfrekvenciás erősítő megkövetelheti, hogy LC szűrőt iktassunk a kapcsolóüzemű táp után ahol a kondenzátorok alacsony ESR-je nagyon fontos. Említetted, hogy 20000µF kondit raktál szűrőnek. Azzal az volt a baj, hogy a puffer-töltőáram elérte a táp áramkorlátját, és akár egyenetlenebb feszültséghez jutottál, mint annak előtte. Most nézzük azt a szörnyű panelt, amit Rád sóztak. Ha ezt valaki a NYÁK-terv ellenőrzés témában mutatja be, komoly dorgálásra számíthat az unos unatalan leírt szabályok felrúgásáért. Az A-C tápszakaszra rajzoltam egy nyilacskát. Na ott kéne abszolút veszteség mentesen akár 4A-nek is folyni. Nem fog, hanem tekintélyes feszültségesés jön létre és itt kezdődnek a bajok. A visszacsatolás testre menő ellenállásán a D pontban megjelenik ez a vezetősáv-ellenálláson eső feszültség. A jeltestet akár A akár B pontra kötötted, a nyíllal jelölt sávon eső feszültség nem érinti. Az erősítő visszacsatolása nem tud mást tenni, mint igyekszik elnyomni a jeltest és a D pont közötti hibafeszültséget. Az erősítés mértéke miatt ez a gyakorlatban azt jelenti, 100mV kimeneti feszültség változás egyenlít ki 1mV hibát. Elnézve a fólia karcsúságát, a példában szereplő értékek nagyon alsó hangon közelítik meg a valós problémát. Visszatérve a kapcsolóüzemű tápra, annak hullámossága is pont emiatt a súlyos NYÁK-tervezési hiba miatt kelt ekkora zavart. Már a beszélgetésünk elején feltettem a gyártó ajánlását. Jól látható, ahogyan az IC 3-as láb alatt be van metszve a fólia, biztosítva a jel és a visszacsatolás föld szeparálását. Ezt bizony be kell tartani!
Szia! Én még a ±70V-os tápnál vagyok leragadva, ahol azokat a tüskéket mérted a pufferen. Nincs ok egyelőre tovább haladni. Vagy nagyon kiszáradt a kondenzátor, a vagy szakadt a test, vagy rossz helyen mértél és a többi mérés helyessége is sántít.
|
Bejelentkezés
Hirdetés |












