Fórum témák
» Több friss téma |
- Ez a felület kizárólag, az elektronikában kezdők kérdéseinek van fenntartva és nem elfelejtve, hogy hobbielektronika a fórumunk!
- Ami tehát azt jelenti, hogy a nagymama bevásárlását nem itt beszéljük meg, ill. ez nem üzenőfal! - Kerülendő az olyan kérdés, amit egy másik meglévő (több mint 17000 van), témában kellene kitárgyalni! - És végül büntetés terhe mellett kerülendő az MSN és egyéb szleng, a magyar helyesírás mellőzése, beleértve a mondateleji nagybetűket is!
Olcsónak olcsó, de négyszögjel a kimenete. Nem tudom, hogy a Set Top box ezt hogyan tolerálja. Ezt csak próbával lehetne eldönteni, szerintem annyit megér.
Ennyi pénzért mit küldenek? Bővebben: Link Műanyag boritást?
Szerintem tök felesleges a DC-AC inverter használata. Az eredeti ötleted alapján valósítsd meg, és hagyd ki a 230V -os részt...
(Szerintem így jársz a legjobban, bár ez csak az én véleményem)
Energiatakarékosság szempontjából ez lenne a leghelyesebb megoldás. Csak 2db DC-DC kell hozzá és némi vezeték.
Jó lenne, de meg kell nézni, hogy mi a két fő tápfesz a box-ban. Ha az egyik 12V, akkor egy Buck-Boost DC-DC kell, mert a linkelt csak feszültséget csökkenteni tud. A másik tápfeszhez, ha kisebb mint 12V, akkor ez jó lesz hozzá.
Nagy valószínűséggel nem. Hasonló van itthon, más célra. A tesztelés körülményei: Ube: 13V, Uki: 5V. 1-es kép: terheletlen, 2-es kép: 22 Ohm-mal terhelve. A képek a kimeneti feszültség hullámosságát mutatják. Szinte biztos, hogy ezt nem fogja szeretni az elektronika, attól érzékenyebb. Esetleg, ha valamilyen szűrőt is raksz a kimenetre (pl. többfokozatú LC).
Ha kiszámoltad, a jobb oldali ábrán 5%-nyi (kb. 250mV) hullámosságot látsz. Szerintem nem akkora probléma ez. Terheletlenül meg 60mV semmi gondot nem okoz.
Egyrészt oda van írva, hogy 302 mV, másrészt elég gáz az a táp így. Agyon kell még szűrni, hogy használható legyen.
Ha egy procinak (kontrollernek) ilyen tápot adsz, majd nem győzöl csodálkozni, hogy látszólag minden jó, de valahogy mégse akar rendesen menni. A hozzászólás módosítva: Máj 28, 2016
12v-t, amit ha kell visszafogok az elektronikának egy zénerrel. Terheléles tekintetében, egy to22-es tokozású 317-est használok, ami ha kell kap bordát. Egyébként 1 A 12v-ról 5-re.
Ezt nem értem bocs. Ha zenert teszel akkor minek a 317, a 317-nek ahhoz hogy 12v-ot tudjon leadni min.14v szükséges. Mutatok egy elvi rajzot, hogy én hogy gondolnám, bár az én tapasztalatom, hogy 1A-nél nagyon melegszik. Sajnos a szimulációm nem működik, pontos alkatrészértékeket így nem tudok, ha esetleg valaki lefuttatná, tranziens grafikonra....
A hozzászólás módosítva: Máj 28, 2016
Hogyne melegedne, hiszen disszipatív jellegű!
Azért kell rá a hűtőborda...
Így is nagyon jó, de simán tranziens analízisben 10mp. időtartamban is jó lett volna. Közben készítettem én is egy szimulációt:
Bővebben: Link
Sziasztok
![]() Mekkora problema ha a tranziztor emiter laba nez a led - laba fele??? Es a collektor -5 volt ra ??? Osszedugdostam probanyakon mindegyik mukodik ha felcserelgetem a labakat akkor is.
Sok a kétértelműség a kérdésben így nem lehet rá váalszolni, de ha neked megfelel, hajrá.
Igy csináltam véletlenül.
Van valami hátránya??
Leginkább az, hogy teljesen hibás az egész. Mellékletben egy jó bekötés.
Igen, van. Így a tranzisztor inverz aktív üzemmódban van, az erősítési tényezője mondjuk 100 helyett lesz vagy 5.... Mellesleg a bázis-emitter záróirányba előfeszítve vagy kibírja a rá kerülő feszültséget, vagy nem. Általában 5V körüli feszültséget bír ki.
Kedves Bakman
Elnézést az ellenálásokat nem rajzoltam be ugyan ez a kapcsolás csak a tranziztor emittert és collector lábbat megcseréltem. kendre256: 5v ról menne mert a ledkockák "-" lábát müködtettné(ne a picbe menjen az áram). 5x5x5 ledkockáról van szó. inkább forrasszam ki a 25 db tranzisztor és cseréjem meg??? bc337 a tranziztor tipusa A hozzászólás módosítva: Máj 29, 2016
Ismerős dilemma... Pár napja jöttem rá, hogy 7 db (szintén) BC337-et fordítva kötöttem be. Én megfordítottam őket, de csak 7 db volt. Nekem led kijelző kijelző közös katódját kapcsolja mindegyik . Ha maradt volna úgy, akkor vagy kevesebb kollektoráramot tudott volna produkálni -> ez nagyobb feszültséget jelentett volna a tranzisztoron -> ez kisebb szegmensáramot, kevesebb fényt. Vagy növelhettem volna a bázisáramot a fordított tranzisztor megfelelő kinyitásához, az meg a mikrovezérlőn folyó áramot (meleget) növelte volna. Maradtam a normális bekötésnél (megcseréltem), bár nekem is 5V-ról működik, valószínűleg hosszabb távon sem mentek volna tönkre, de a biztonságosabb, normális megoldásnál maradtam.
Köszönöm a segítséget, erre gondoltam.
A zénerrel csak az elektronikának gondoltam megfogni a feszültséget, ha kell. Offsettel számoltam, pc tápról hajtanám, nem akarok stepuppoltatni, szóval el kell fogadnom ezt a kompromisszumot. Köszönöm a segítséget még egyszer
Ha a pc táp -12v és a +3.3v közé teszed akkor van 15volt, hogy a 317 után is legyen 12v, csak ez attól függően mekkora a táp lehet, hogy csak 0.4A( de mint írtam szerintem a 317 nem is való sokkal többre). Viszont az elvi rajzból még hiányoznak a 317 adatlapján szereplő kondenzátorok, és induktív terhelés esetében a védődióda. Viszont, ha pc tápot használsz adná magát az idő váltórelé átkapcsolás 5v-ra és akkor tizenakárhány amperjaid lennének....
Sziasztok!
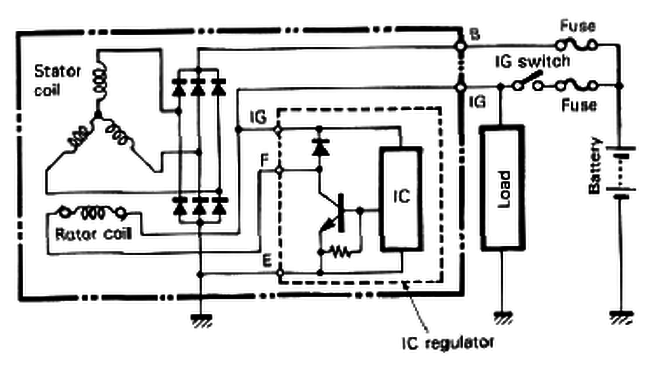
Ha egy Suzuki generátorból a lehető legkevesebb sallanggal akarok kicsikarni 12V-ot(aksi töltésre) akkor mit hogy kell kötnöm? A háza a -, a nagy kivezetése a +, de van még rajta 3 másik csatlakozó is. Azok mik? És melyik szükséges a működéséhez? Ha egyáltalán szükségesek.
Hello! nem csak a generátor kell, hanem a töltésszabályzója is, mert túl fogja tölteni az aksit ha az nincs benne. Egyébként meg a gerjesztő tekercsre kell gerjesztőáram, mert anélkül nem termel megfelelő áramot a generátor. A feszültség szabályzó is ennek áramát változtatja..
Sziasztok!
Van egy billenőkapcsolóm, 6A 125-250VAC, 1/4HP 125VAC, 1/2HP 250VAC feliratokkal. Itt melyiket kell figyelembe venni? Ha motorhoz akarom használni, akkor a max. teljesítményt kell figyelembe venni, más esetekben a max. áramerősséget? Köszönöm
1/4 HP és 125 V esetén ugyanakkora áram folyik a kapcsolón mint 1/2 HP és 250 V esetén. Az áramerősség 1,5 A mindkét esetben, a kapcsoló 6 A áramerősségre készült.
Sziasztok!
Rendeltem ebay-en egy ilyen DC-DC konvertert, itt megtalálható, hogy hogyan működik a feszültség/áramszabályzása (csak a D2-es lehet, hogy schottky). A kérdés az lenne, hogy ezen részek ismeretéből, hogy tudnék egy CC CV LED indikátort hozzáilleszteni a kapcsoláshoz? Köszi!
Ez okozza a bizonytalanságot, hogy a feltüntetett 2 teljesítmény esetén 1,5A az áramerősség (ami a tervezett 750W -os motorhoz kevés lenne), de egy 6A -es áramerősség is meg van jelölve...
A hozzászólás módosítva: Máj 31, 2016
Ha tudsz szerezni hozzá egy kapcsolási rajzot, akkor megnézem. A vezérlő IC adatlapját nézted?
|
Bejelentkezés
Hirdetés |



















