Fórum témák
» Több friss téma |
Fórum » PC táp átalakítás
Az eredeti védelmet nem tudod megtartani, kell egy kiegészítést csinálni hozzá egy időzítővel ami mondjuk 1s kapocszárlat után tilt úgy 0,5s időre pl. egy 555-tel. Zárlatban brutál áramok folynak a primer körben is, de általában ezt ki szokták bírni a tranyók, viszont egy akkus fúró sok esetben hazavágja. Árammódú vezérlő kellene a 494 helyett, de ugye akkor már nem átalakított PC táp.
Szerintetek ezzel meglehetne oldani??? vagy felejtsem el???
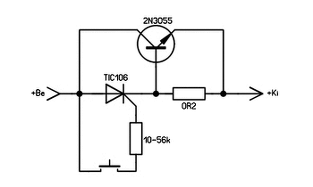
Gondolom nem kel ecsetelni hogy ez mi nektek de egy elektronikus biztosíték. A hozzászólás módosítva: Okt 29, 2016
Sziasztok!
Javítottam, majd a javítás után átalakítottam egy PC tápot szabályozhatóvá. A javítás annyiból ált, hogy a primer oldalon a varisztor drótba ment át. Ezt eltávolítva a táp elindult szépen. Átalakítottam a vezérlést az itt közzétett kapcsolás alapján. Az értékek a rajzhoz képest megfelelőek. A tápot kb 0-26,5V között lehet szabályozni. Úgy néz ki, hogy az áramkorlát is működik. A betáppal soros 230V izzó ha kis terhelés van a tápon, és tekerem potit az izzó kevésbé izzik majd teljesen elhalványul. Ebből úgy ítélem, hogy működik. A kérdés az, hogy a kimenetre mekkora terhelés kellene. Továbbá egy előző átalakításkor a 230V soros izzó eltávolítása után a primer oldali tranyók elhaltak. És akkor is kicsit ciripelt a táp pont mint most is. Van esetleg valami javaslatotok, hogy van-e még valami amit ellenőrizhetnék?
Szia ! A vezetékezésnek rövidnek kell lenni ( a potméterekhez is) és a nagyáramú részektől távolabb. Korábban a levelezésben ezekről volt szó.
Igazad van vissza kellene olvasni kicsit. Mindjárt meg is teszem.
Viszont korában nem volt szó a 12V ventiröl. Az vajon elmenne a segédtápról?
Úgy emlékszem 100-200mA körüli, mérettől és típustól függően. Gondolom (nem próbáltam) elbírja. Ha nem bírja esetleg olcsó dugasztáppal (Ebay-es panel).
A 494 tápfeszültsége csak 9V értéket mutatott, mivel nem volt terhelve a segédtáp.
Ezt úgy oldottam meg, hogy a SB 5V-ra rátettem egy 33R 2W értékű ellenállást. Ezzel 150mA áram terheli az SB5V részt miáltal az IC tápfeszültsége megemelkedett 12,2V értékre, miközben még a 12V 140mA áramú venti is fent van.
Sziasztok !
Mekkora az a minimális feszültség, amit a 230V-os bemenetre adva mérhető -éleszthető - egy átalakított táp ? (vagy akár csak javítás estén is)
Ha van rajta feszültség átkapcsoló 110V-os üzemre, akkor talán már 80V-ról is elindul.
Bölcs ilyen tanácsot adni egy átalakított táp élesztéséhez? Oké 80V, de semmi nem korlátozza az áramot. Ha a tápban hiba van akkor "áramkorlát"nélkül gyorsan vége lesz.
A 230V 40-60W izzó tökéletesen korlátozza az áramot, és semmi extra nem kell hozzá.
Igen az tiszta sor, hogy izzóval próbálgatom. Plusz még 1:1-es leválasztó trafóval is. Én csak valamilyen "szelídebb" feszültségre gondoltam. Mintha valamelyik külföldi cikkben egyszer olvastam volna, hogy már 42V váltóval is elindul.
És köszi a többieknek is a hozzászólást !
Az izzó is megszelídíti. Nekem sikerült egyszer kinyírni a primer egyik power tranyóját (drót lett belőle). A tápegység ugyan úgy ment tovább, csak a soros izzó villódzott...
Úgy néz ki alakul a táp átalakítás.
25V 5A áramot levettem róla, ami egyébként nekem bőven elég. Ekkor a tápban már nem sok tartalék marad... A kimenetet 0-28V között lehet szabályozni, az áram poti is úgy tűnik teszi a dolgát. Max feszültségnél minimum áramkorláttal ha rövidre zárom a kimenetet akkor a feszültség 0-ra esik az áram 80mA ilyenkor. Ez szerintem jó is így. De van valami amit nem értek. Kézzel közeledve a potikhoz ciripelés hallatszik. A GND-t megérintem bizonyos esetekben elhallgat. Nem lehetne esetleg szűrőkondikat rakni valahova, hogy ez a jelenség elmúljon? Kapcsolás Viszonylag rövid a potik vezetéke kb 4cm. Ettől nem is lesz rövidebb hiszen az előlaphoz ki kell vezetékezni valahogy őket... Bármi ötletet szívesen fogadok. A hozzászólás módosítva: Nov 1, 2016
Élesztésnél én külön szoktam venni a dolgot, tehát van maga a táp meg a segédtáp, amit olyankor kívülről adok neki. Ha azt megkapja, akkor akár a 30V-os labortápról is elmegy a 230V-os rész, vagyis látható hogy működik-e a félhíd, van-e négyszögjel a trafón, meg valami fesz a kimeneten.
A potik fémházát kösd le a védőföldre, ami elvileg a fémházon van, meg talán a szekunder földje is ott van.
Igen az védőföld az eredeti állapotban van, és igen az eredeti GND is ott van a fémházon.
Viszont ezek a potik nem fémházasak. igazából nyákra szerelhető darabok. De ha te zt mondod ne bohóckodjak ezekkel akkor félreteszem, és veszek bele rendeset.
Ott a pont ! Ilyesmire gondoltam én is, hogy - a galvanikus leválasztás ellenére - ne kelljen több mint 300V -os potenciálok között méricskélni...Köszi !
Lomex-ben van fémházas THL, ilyen 250Ft körüli darab áron, szóval ki lehet bírni. Olyanokat használok már évek óta mindenhova, nekem beváltak.
Örülök, hogy sikerült.Gondolom nem árulok el titkot. A segédtáp visszacsatolása az 5 v-ról van, így a szabályozatlan, a terhelésére megemelkedett.
Ha netán a Vref láb nincs szűrve, tegyél rá 100-470 nF-ot. (14 - 7 közé)
Most már nem tegnap még titoknak számított, de tanulmányoztam a kapcsolást és végül rájöttem miért is kevés az IC tápfeszültsége. De most hogy a venti és egy ellenállás rajta van az SB5V-on most már 12,2V az IC tápfeszültsége.
Elko biztos van a tápon, de kerámia nem tudom van-e de mindjárt meglesem.
Szia!
Én árnyékolt kábellel kötöttem be, a harisnya egyik vége gnd-n, ez segített rajta és a dobozolás is árnyékol.
Én szintén árnyékolttal kötöttem a potit, árnyék a 7-es lábhoz. Elsőre jó lett a táp.
Köszönöm mindenkinek a segítő szándékú hozzászólásokat. Beszerzem a potikat stb. és ha minden kész jelzem az eredményt.
Két ATX táp 12V-os ágainak a soros kötése okozhat problémát? Karácsonyi LED-sort szeretnék üzemeltetni róla, de Karácsonyig nem lesz időm normálisan átalakítani a tápot.
Okozhat. A probléma forrása, hogy a kimeneti GND és a védöföld össze van/lehet kötve. Ha ezt szétszeded, akkor jó lesz.
Sziasztok!
Idézet: „A védelemről vagy tranzisztorok gondoskodnak, vagy egy komparátor IC. Ezek szerepe az, ha a feszültségszint eltér a két ág között, akkor a tápegységet letiltja. A letiltás azt jelenti, hogy a TL494-es IC 4-es lábára egy feszültségosztón keresztül nagyobb feszültséget kapcsol, mint 2,8V. Az adatlapban látszik, ez azt jelenti, hogy a PWM vezérlést 0%-ra állítja.” Azt szeretném kérdezni, hogy mit is jelent pontosan ez a rész Idézet: „a feszültségszint eltér a két ág között” Csak mert van egy táp nálam, amit szeretnék úgy átalakítani, hogy a 12V terhelés esetén is 12V maradjon, de a baj az, hogy ha megváltoztatom a 12V-és az IC 1-es lábán levő feszültségosztót akkor a kimenet terhelve 12V lesz ugyan, de hideg izzót rákapcsolva letilt. Tudom az izzó hidegen más terhelést jelent. Lehet, hogy a 4. lábon levő védelmet kellene kicsit módosítani? Pl a GND felőli ellenállást kicsit csökkenteni?
Vedd ki a 4-es lábról a diódát!
|
Bejelentkezés
Hirdetés |




de egy elektronikus biztosíték. 







