Fórum témák
» Több friss téma |
És valóban ezek az új fajta kazettás prorszívók tényleg jól működnek. Nemrég egy He_er járt nálam mert a biztonsági szelepe miatt már nem mindig szívott, a nyomó rugója gyenge volt.Csere után meglepődtem hogy a 750W itt tényleg elég. A régi-régebbi gépeknél csak a kW feletti teljesítmény jöhettett szóba az alatt nem is mertem újat venni ha a régi elromlott. De a 12 éves R_W_A ezért még mindig birja.
Csak porzsákosat vegyel a többi hulladék.Az adattáblán pedig szívóteljesítményt nézd,ne a motorét.
Szia!
A szívó teljesítményt nézd., mert nem feltétlen arányos a motor teljesítményével. Nekem egy 750 W -os porzsák nélküli van, de szőnyeg jön vele. A parkettáról csak úgy tudom felemelni, ha a fogantyúnál kinyitom a kis szelepet amin levegőt szívhat. Nekem pl. ez a típus van.
Szia! Milyen gyártmány? Szerintem ha valami jó, az nem reklám, csak tény...
"Tisztítási hatékonyság szőnyegen: C"
![]() Ilyet most szedtem szét...a nagymami megtöltötte vízzel a "kancsóját" és bekapcsolta.
Sziasztok!
Ha már porszívó. A főnököm kidobott egy Black&Decker márkájú morzsaporszívót,mert megdöglöttek benne a Ni-Cd akkuk. 2,4v-os az egész kütyü. A kérdésem az lenne, hogy meddig bírná,vagy hogyan tolerálná a benne lévő villanymotor, ha mondjuk a két sorba kötött Ni-.Cd aksi helyett betennék egy 3,7v-os Li-ion akkut. Szerintetek halott ötlet,vagy rendeljek bele két másik aksit?
Oké,köszi, akkor teszek bele egy Li akkut.
Sziasztok. Segítséget kérnék MOULINEX porszívó motor javítás-szétszerelés ügyében. Csatolt képen látszik, a turbinakerék rögzítése nem hatlap anyával történt, hanem hengeres, köralakú csonkkal. Leszerelésének mi a módja? Szedett már le valaki ilyet?
Köszi
Szia
Ne is próbálkozz vele az egy préselt motor szétszedőse szinte lehetetlen illetve ha szétszeded nem lehet összerakni ! Sajnos az eldobandó !!
Szia NYamNYam: Köszi az infot. Tehát a tengely vége préselve van, és csak szétvágni lehetne?
Egyszerűen a műanyagot a kezedben fogva, a tengelyt meg egy sárgaréz rúddal meg kalapáccsal leüthető róla finoman. Visszarakáskor én a hűtőbe teszem a forgórészt kis időre, a tárcsa közepét meg megmelegítem picit, és simán a helyére üthető óvatosan. Az én LG-m, 16 éves, és 4x szereltem csapágycsere meg ilyesmi miatt. A motor meg szegecselt volt, csavarral vagy réz fékcsőből készített csőszegeccsel összerakható.
A préselt rögzítésű porszívómotor alja. Az alsó csapágy egy piros színű gumi ágyazásban van.
Hát igen, nemigazán látszik az, hogyan van az eleje rátéve, de az látszik, hogy ez másabb mint a koreai motor, de az elején a lapátos alu, és a műanyag az olyan mint a többiben. Gondolom csapágyat szeretnél cserélni az elejében, illetve mindkettőt.
Igen. csapágyat szeretnék cserélni.
Tisztelt Urak!
Problémám adódott egy pezsgőfürdő befúvó motorral, ami egyébként porszívó motor. Tönkrement rajta egy ( szerintem hőkioldó ) melyet ki szeretnék cserélni, azonban a neten történő kutatás során sem találtram ilyen típust. Ebben kérném a segítségeteket. A jelzése A 71 V H 10005046 A hozzászólás módosítva: Márc 21, 2020
Szia!
A képét feltehetted volna annak a valaminek is.
Ott van az, második, harmadik fotón jól átható.
Ezeken talán látszik a hőkioldó típusa.
Hol lehet ilyet kapni, vagy mivel lehet helyettesíteni?
Ilyent én se találtam, nem láttam a neten, de ha minden igaz, sorba van kötve a motorral és nem vezérel semmit sem ( ellenőrizd le ).
Próbálj felszerelni ilyen kapcsolót, ha nincs más megoldás: http://hu.thermal-controller.com/productlist-50 A 2. csavarhoz ki kell találni egy leszorítót, aztán kenj alája pasztát. Van pl. 75 fokos is, de meg kell kérdezni a céget, mi a skála. Van a Hestore-ben is. A hozzászólás módosítva: Márc 21, 2020
Okos Vagy ferci!
A Conradnál láttam bimetál kapcsolókat, csak azt nem tudom, hogy hány fokig bírja ez a motor. Valóban tudnám ilyennek helyettesíteni. Egyébként ez egy Japán motor, gondolom, hogy a hőkorlátozó is általuk gyártott, ezért nem találunk ilyet.
Ma már a bóvli kategóriás (huzal) lakkok is jóval 100 C° felett bírják, egy 75 C°-os hőkapcsoló bőven megfelel.
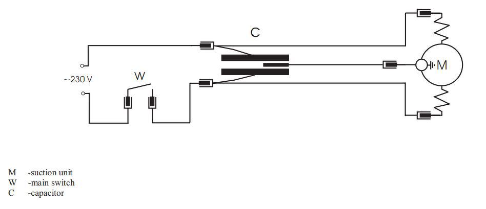
Sziasztok!
Ez milyen kondenzátor? Indító vagy üzemi?
Sziasztok NagyTudásúak!
Nagyon irigylem minden hozzáértőt és a segítségeteket kérném. Az alany egy porszívó (Philips Performer Pro 2100W). De a hiba a fordulatszám szabályzóban van. Linkelem a típusát. Egyszer bekapcsoltam és utána leállít. Kikötve természetesen már megy full gázon, de szeretném nem kiherélni. Csatolom a képét a nyáknak. Itt Mit elllenőrízzek és hogyan? Multiméter van, alap analítikus képességem szintén. Ha kell vakon cserélem mindet, csak nem akarom a porszívót kukába dobni. Nagyon köszönöm előre is!
Sziasztok! Egy nagyáruházi, VC 1400 típusú porszívó kb. 10 éven keresztül nagyon jó szolgálatot tett. Bírta a folyamatos üzemet és strapát. Sajnos néhány éve használat közben mintha meg-meg szorult volna a motorja, majd ez a megszorulásnak tűnő jelenség teljes megállásig fajult, amikor vagy por vagy füst távozott belőle. Sajnos jobban nem emlékszem. Érdemes a javításán gondolkodni vagy ne sajnáljam kidobni? Az új, hasonló porszívók a többszörösébe kerülnek, melegszenek, nem terhelhetőek, egyáltalán nem strapabírók.
A hozzászólás módosítva: Jan 1, 2021
Szia!
Az elektronika általában javítható, de a füst és a többi motorhibára utal. Motort viszont nem hinném, hogy találsz bele ( vagy viszonylag olcsón ) újat. Max, ha hirdetésben keresel és találsz is pont ilyen típust még jó állapotban.. Újratekercselésről pedig ne álmodjál.
Elég sok porszívóba kapható, néha egészen akciósan motor. Vannak sablon kivitelűek, ami több mindenbe jó. De a gyári adatok alapján általában találni hozzá. Ha a kezdeti gondoknál megcsíped és nem vársz a teljes kimúlásik, akkor általában csapágycserékkel javíthatóak, ami egy nagyságrenddel kisebb költség a motorcserénél. Érdemes azt is ellenőrizni, hogy hogyan került be a por a motorba? Lehet szűrő, porzsák, tömítetlenség probléma.
A helyes üzemeltetés fontos, az én feleségem is "úgy képzeli", hogy a porszívó egy megsemmisítő, ami bement, az eltűnt...pedig a porzsákot illik időben üríteni/cserélni.
Ez egy bonyolultabbnak tűnő vezérlés, sok mindent lehet nézegetni rajta...ha az ott egy mikrovezérlő és sérült, akkor minden más erőfeszítés felesleges. Ha szereznél egy egyszerűbb (de megfelelő teljesítményű) porszívóból egy buta fázishasítós panelt, belerakhatod. Szerintem a te porszívódban is sima kefés 230V-os motor van.
|
Bejelentkezés
Hirdetés |


















