Fórum témák
» Több friss téma |
Tisztelt urak !
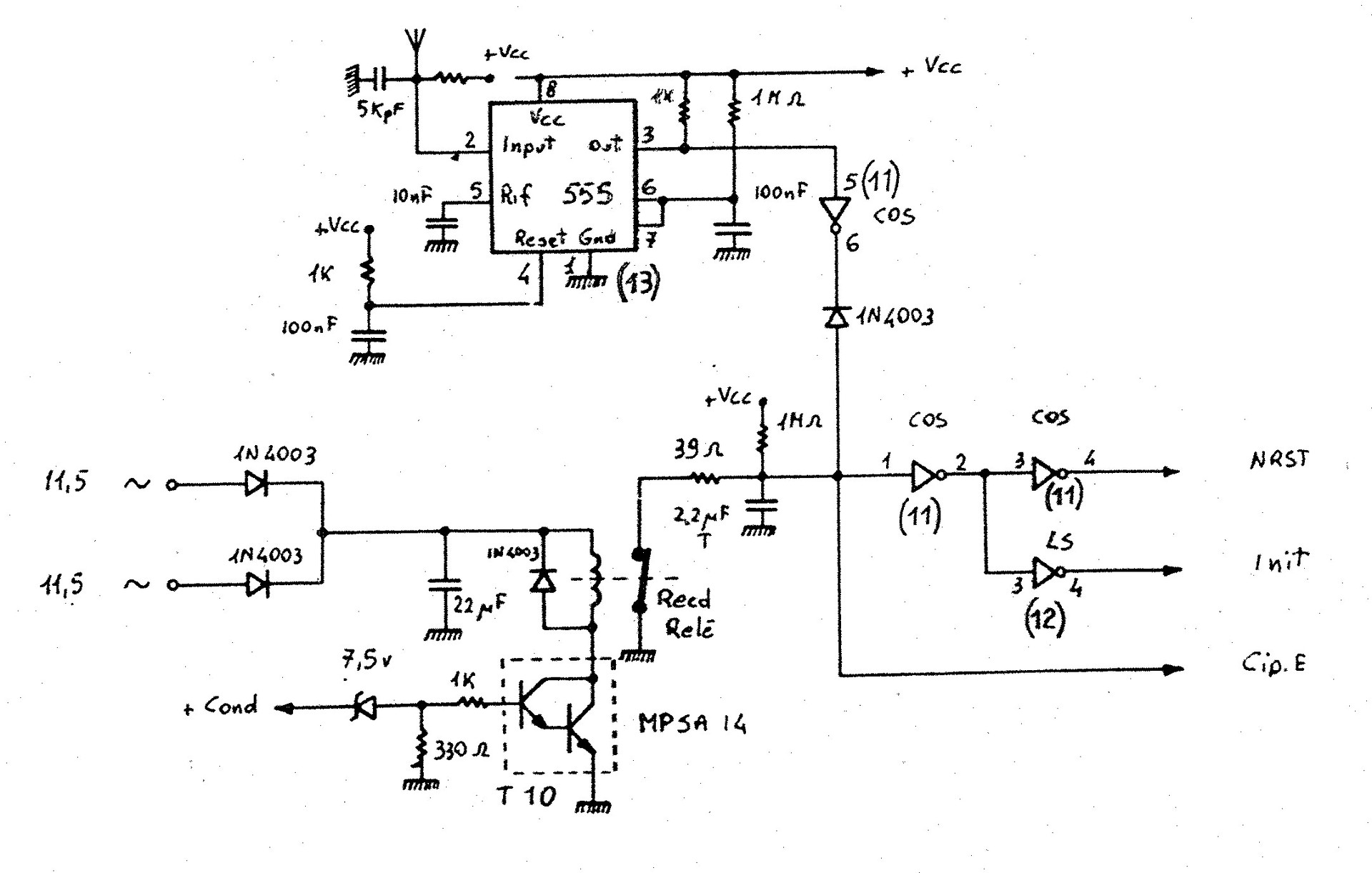
Ez az 555 áramkör egy régi flippergépben van, reset jelet állit elő. Az INPUT bemenetén van egy antenna, ami a valóságban egy darab drót. Érdeklődöm, hogy tudja-e valaki mi célt szolgál ez az antenna illetve milyen jelet vár vagy kap önök szerint ? És akkor mi történik ha van vagy nincs jel ? Előre is köszönöm a válaszokat !
Üdvözlöm!
Az az antenna, nem lehet valami golyóérzékelő leszakadt madzagja? Vagy valami rángatás (tilt) érzékelő (ha belül van szabadon)? Elvileg az indítaná az 555-öt, merthogy input-ra van rajzolva.
Antenna nem igen lehet, mert ugy fel van huzva Vcc-re, azaz az 555-s nulla szintre reagál.
Értem és köszi, de a rajzon is ANT van odairva. A darab drót is ezt jelzi ...
Az üzemeltetőnél volt egy 27 MHz-es adó, ha valaki nagyon nyerő szériában volt, akkor az üzemeltető nyomott egy jelet.
Erre gondoltam már én is.
Amúgy az áramkörröl mit tudnátok mondani ? Egy sima H/L jelet ad X mp után és kész ? Lóri : a TILT eszközök máshol vannak és általában mechanikus vagy golyós, rezgőnyelves kapcsolók. Amúgy több ilyen gép van és mindenhol ott van a drót mint antenna ... tehát nem leszakadt vezeték. Fura lenne, ha mindegyikben pont az szakadna el ... és nincs is meg a másik vége se ! A hozzászólás módosítva: Dec 30, 2022
Erről van szó, egy nagyon primitív rádióvevő. Hangolt RF áramkörökről szó sem lehetett, mert időnként voltak ellenőrzések, és az gyors lebukás lett volna. 90-93 között javítottunk játékgépeket, akkoriban kaptam napi 1200-Ft ot. Megfizették a diszkréciót.
Köszönöm. Akkor már csak egy adót kellene találni hozzá és kipróbálnám ...
Zsolt73 : milyen gépeket javitottatok ?
Építesz egy 27 Megás oszcillátort, a frekvencia nem kritikus, megfejeled egy végfokkal és egy 270 centis vezetékdarabbal. A Stalker IX CB rádiók végfokozatait használtuk. Napjainkban egyszerű az oszci, mert komplett 27 Megás oszci modulokat lehet kapni.
Sziasztok!
Szeretnék készíteni egy NE555 vezérelt változtatható impulzus generátort a lehető legegyszerűbb összeállításban. A terv az lenne, hogy 12v -ot változtatható megszakítási sűrűséggel kapcsolhassam a fogyasztóra, mint egy stroboszkópot. Biztos van esetleg valakinek e-hez egy egyszerű kapcsolása. Segítséget előre is köszönöm. Szabi
Hello! Nem egészen világos, hogy PWM vezérlést, vagy állandó idejű impulzust szeretnél változtatható sűrűséggel. Utóbbira egy példa. (Mondjuk időkről szó sem esett..
Valóban jó pwm. módra az 555-ös Ic. én már kb.13éve használom, Hv.modulokban, ahol Fet-el hajtja meg az Etd39- ferritmagos trafót, 18KHz-en.
De a HO-ás terepasztalon, a mozdony fokozatmentes, áramkorlátozott szabályozását is ezzel az Ic-vel oldottam meg. 9V-12V-ról stabilan megy, az ák.minimális áramfelvétel.
Sziaszok! Szeretnék egy kici-óccó négyszög jel generátort építeni egy rotációs enkóder helyére, teszt környezetbe, mert macerás állandóan tekergetni. Az 555-öst néztem ki a feladatra, egyszerűsége és olcsósága miatt. Viszont van egy olyan gondom, hogy nekem időnként két csatornára van szükségem, 90°-al eltolva egymáshoz. Most nagyon nem ugrik be, milyen néven ismerem, de a neten quadrature encoder néven találtam meg. Nem Manchester-kódolás, de valami hasonló néven emlegette a kolléga és egyből beugrott, korábban már találkoztam vele. Meg lehet oldani valahogy ezt a két csatornát? A négyszögjel frekvenciája olyan 1Hz-5-600Hz között kellene, legjobb, ha potival szabályozható, de egy fix 200Hz-nek is örülök. Sajnos ilyen lassú a fordulat (10-100 ford./perc) és kevés a fordulatonkénti impulzusok száma (10-100, tipustól függően) az eredeti jeladókon. Nem vagyok nagy elektron mágus, de azért már megcsapott a forrasztó ón és a tranzisztor füstje.
Csinálsz egy oszcillátort (lehet 555, egy potival jól változtathatod a frekvenciáját is).
Az oszci kimeneti jelét bevezeted egy osztóba (pl egy 393 IC egyik fele). Az oszci kimeneti jelét invertálod (pl. egy tranzisztorral). Az invertált jelet bevezeted egy osztóba (pl egy 393 IC másik fele). Az osztók kimenetein egymáshoz képest 90 fokos jelek vannak. A hozzászólás módosítva: Ápr 3, 2023
Hello! Akkor legyen egy valós is..
Azt már szerintem megoldom. Egy kis próba panelra gondoltam, mivel 1, max 2 db kell. Meg szerintem megoldom az opto-s kimentet is, ugyanis opencollektorost vár az elektronika a bemenetén.
Megrajzoltam volna én, csak tudtam hogy még lesz variáció. De ezek szerint jól is tettem..
Egy érdekes problémával fordult hozzám egy barátom. Egy speciális optikai panelt csinált, ahol kb 90 LED van 30 darab 555-sel van individuàlisan PWM jellel hajtva változo fényerövel és egymástol függetlenül. ( egy 555-s 3 LEDet hajt - mind egyforma fehér LED). Ez az egész szépen müködik is, de most kitalálta, hogy kellene egy fö fényerö szabályzo ami egyszerre csökkentené az összes éppen világito LED fényerejét nulláig. Ezt most ugy oldotta meg, hogy a LEDek áramellátását is PWM-re változtatta, de ugy, hogy a PWM valojában a LEDekre juto DC feszültséget változtatja, ami természetesen nem egyszerre halványitja le a LEDeket.
A másik ötlet sem jo, a tápot tiszta PWMre cserélni, mert annak végeredménye az individuális PWM interferenciája lesz. 2 ötletem lett volna, valahogyan szinkronizálni az össze PWM forrást ( 30+1 darab NE555), vagy egy vagy processzorral megoldani a feladatot. Az utobbit elvetette, mert a panel már kész és müködik. Mi más modon lehetne a villogo LEDek fényét szépen lassan csökkenteni. Még nem láttam a kapcsolását, de lehet, hogy azt is megkapom.
Pedig, ha a panel már készen van, alighanem az egyetlen értelmes és működőképes verzió a LED-ek tápjának PWM szabályozása! Természetesen olyan frekvenciát kell választani, ami lényegesen eltér az 555-ök frekvenciájától. Ebben az esetben a különbségi frekvencia ha nagyobb mint pár 100Hz, elvileg nem kellene vibrálnia...
A DC azért nem jó, mert ha van előtét ellenállás(gondolom igen), akkor pont a nagyobb fényerőknél lesz hasonló fényerő az egyes LED-ek között..., ahogy csökken a feszültség, úgy kezd dominálni a LED-ek különböző nyitófeszültsége, aminek az a vége, hogy pont kis fényerőnél lesz nagy különbség. Ezt csak áramgenerátorral, vagy PWM-el lehet egyszerűen kiejteni...
Kösz.
Miután valamennyi LED egyforma (fehér) igy szerintem nincs különbség közöttük. Ez ki lett már probálva olyan LED láncban ahol 50 LED volt párhuzamosan kapcsolva, és egyszerre DCvel hajtva. ( ami nem erre a projektre lette tesztelve, hanem azt teszteltem, hogy van-e különbség ilyen szempontbol a LEDek között). Ebben a projektben a 555-sök kb 200 Hz-el hajtják a LEDeket. Nyilván nem pontosan az RC tag miatt. Azt még ki fogja probálni mi történik ha joval nagyobb frekivel probálja kezelni a fényeröt, de szerintem ott is megjelenik az interferencia. Idézet: „...de ugy, hogy a PWM valojában a LEDekre juto DC feszültséget változtatja, ami természetesen nem egyszerre halványitja le a LEDeket.” Itt azt írtad, hogy van különbség a csökkenő fényerő felé! Ergó a LED-ek nemegyformák. Miért is lennének azok, ha nem válogatottak?! De még válogatottakkal is nehéz jó eredményt elérni e téren... Ha 200Hz körüli az alap PWM freki, a táp PWM-jét(csak hogy nem legyen félreértés, ez nem DC-t állít elő) 1-2Khz közé választanám elsőre... Szerintem nem fog összelebegni..., de előfordulhat olyan, amire most nem gondolok.... Ki kell próbálni!
Egyformák csak nem ugy müködik ahogy gondolod. A LEDek fényereje nem lineáris a rajta átfolyo áramra. ( csak van egy kis tartomány ahol ez igaz, ezt a tartományt használják az analog optikai adatátvitelnél)). Azaz a szem nem tudja megkülönböztetni a LED fényerö változását, ha csak a rajta átfolyo áramot kezeled.
A feszültség változásával csak meglehetösen rosszul és nem lineárisan lehet szabályozni a LED fényerejét. Ezért alapvetöen PWMet használnak a fényerö változtatására. Igen, ki fogja a barátom probálni a független cca 2 kHzes PWM tápot. Az lesz a menö, csak még vannak némi kétségeim az interferenciával kapcsolatban ( a fentiek miatt) , de talán majd sikerül olyan frekit találni, ami legkevesebb mellékhatást okoz.
Hali! Azért azt a 2 pwm tápot egymás után nem "lehet" akárhogy kötni, ill olyannak kéne lenni....
Ha a második pwm táp az első pwm-jét kapja tápként akkor lehet meghülyül... Az egyik pwmnek pl a + ágat kéne cibálni, a másik pwm-nek meg a füvet kéne kapcsolgatni. és mindkét pwm megvalósitásnak van "rendes tápja"... Szerintem...
Ha már PWM én talán az 555 engedélyezés (4.) lábát próbálnám vele vezérelni , a tápláb nemhiszem hogy tolerálja ....
Ezt az egész katyvaszt inkább el kellene felejteni mintha sosem lett volna kérdés vagy gondolat.
Viszont a táp szaggatására meg biztosan meghülyül ....
|
Bejelentkezés
Hirdetés |















