Fórum témák

» Több friss téma
Fórum » Bemenetválasztó
 
Témaindító: Cs.Janika, idő: Nov 25, 2005
Témakörök:
Lapozás: OK   28 / 29
(#) kaktusz2 válasza Ódenka hozzászólására (») Júl 27, 2023 /
 
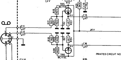
köszönöm Ódenka.a kapcsolásokat ,nem látható rendesen,tudom orvosolni,vagy letőlteni,látható minőségben.
(#) proli007 válasza kaktusz2 hozzászólására (») Júl 27, 2023 / 1
 
Hello! Látható az, csak ne a képre, hanem a file névre kattintsál!
(#) proba válasza kaktusz2 hozzászólására (») Júl 27, 2023 /
 
Idézet:
„úgy gondolom hogy,mivel csak bemenet választás történne”

Minden ami félvezetőn megy keresztül torzul. A régi technológiák eleve zajosabbak mint az újak.
Mivel az átépítés sima forrasztgatásnál darabolásnál bonyolultabbnak gondolom, ha arra vállalkozol, azzal a tudással már újat építhetsz. Két bemenetig egyszerű, csak a végfok helyére kötöd az erősítődet, de a csatornaváltó részhez hozzáilleszteni a bemenetválasztót már szebb feladat. Ez mellé még a panelt visszarajzolni, honnét kap áramot, mekkorát, merre kerül a hangfrekvencia.... Tanulásnak jó, de leginkább egy jó kínzóeszköz. Ennyi befektetett munkával inkább megjavítanám...( ha nem a tuner része rossz.)
(#) lazsi válasza kaktusz2 hozzászólására (») Júl 27, 2023 /
 
Idézet:
„továbbá van nekem hibás dán rádióm,aminek volna 8 bemenete,igaz ebből csak 2 vonal bemenet,a többi a hangolt,csatornákat kapcsolja.”

Ha a "hangolt csatornákat" kapcsolja, akkor az csupán egy bemenet, ami a tuner résztől jön, és ott a hangolófeszültséget állítja át.
Lehet, hogy nem egy, hanem 2 bemenet, ha az egyik az AM, a másik az FM vevőrésztől jön, és a "hangolt csatornák" valójában vételi sávok (pl. 2 db FM és 6 db AM sáv).
Így igazából összesen csak 3 vagy 4 bemeneted van.

Viszont a jó hír, hogy azok a kapcsolók (feltételezve, hogy az egy isostát-szerű, egymást kiváltó kapcsolósor) kiforrasztva és megfelelően bekötve használhatóak lesznek mindenféle egyéb elektronika nélkül, ahogyan proba már írta.

Egy kép vagy típus arról a dán rádióról esetleg segíthet a tanácsok adásában, hogy egyáltalán lehetséges-e, van-e értelme a felhasználásának...
(#) proba válasza lazsi hozzászólására (») Júl 27, 2023 /
 
A dán rádió szerintem érntőgombos, mintha SAS ic-k lennének benne.
Bár a rajzot elnézve, a nyomógomb modul külön panel, ehhez tápot építve, jelfogókat illesztve, még akár jó is lehet.
A hozzászólás módosítva: Júl 27, 2023
(#) proba válasza proba hozzászólására (») Júl 27, 2023 /
 
Sőt a bemenetet több példányban megépítve, az eredetihez hasonló módon illesztve, akár 12 bemenet is lehet. ( bár ebből a diódás valamiből nem sok jót nézek ki.)
(#) lazsi válasza proba hozzászólására (») Júl 27, 2023 /
 
A "dán rádió" lehet olyan, mint a Dansk, amiben nagy eséllyel SAS IC van, de lehet olyan is, mint a Beomastar, amiben viszont (ránézésre) isostat van. Esetleg olyan stílusú, mint a regi.jpg képen látható - hiszen csöves végfokot akar beleépíteni.

De lehet, hogy lemaradtam az előzményekről és kaktusz2 már megírta korábban, hogy mi a típusa...
(#) kaktusz2 válasza proba hozzászólására (») Júl 27, 2023 /
 
hibásként vettem,sajnos bele van barmolva,szerintem a tuner sem a sajátja,ahogy elnéztem a service manuált.a végfokok se jók,a bemenetekek és az előfokot nem néztem még.
(#) kaktusz2 válasza lazsi hozzászólására (») Júl 27, 2023 /
 
nem isostat,sas 560 -570 ic senzoros kapcsolók.12 senzor összesen
A hozzászólás módosítva: Júl 27, 2023
(#) kaktusz2 hozzászólása Júl 27, 2023 /
 
erről lenne szó.
(#) kaktusz2 hozzászólása Júl 27, 2023 /
 
ugy gondolom hogy,1-2 ic bemeneteit a 3 ic bemeneteihez hasonlóan ,kellene kiegészíteni.
(#) kaktusz2 hozzászólása Júl 27, 2023 /
 
és a bemenetekre,mint a 30-31 pontokra ,kapcsolódna az illesztő,fokozat.amibő legalább 7-8 db kellene csinálni.ha rosszúl gondolom,szóljatok.persze ez még felületes
(#) proba válasza kaktusz2 hozzászólására (») Júl 27, 2023 /
 
Nézegetve, lehet csak 8 kimenet esélyes, bár nem néztem az adatlapokat, az 570-es gondolom azért kell 560 helyett, hogy egyik kiválasztása a többit tudja törölni. Erre az eredeti bemenetválasztó rész max 4 bemenetig képes. A kimenetekre valószínű kell az ellenállás, és a másik panelen lévő dióda halmaz is, a tranzisztoros fokozat kevés.
(#) kaktusz2 válasza proba hozzászólására (») Júl 28, 2023 /
 
szép reggelt.igen a bemeneti panelen ,rajta vannak a diódák is.

diódás.jpg
    
(#) lóri hozzászólása Aug 26, 2024 /
 
Sziasztok!

Nézd meg légyszi reloop, hogy jó-e így.
A soros 100R-eket kivettem a műveleti erősítő és a DIN dugaljak közül, ami a felvételhez megy.
A 47k-kat is csak a CD-nél tartottam meg.
A műveleti erősítő ellenállásértékei jók lesznek?
Mert a réginél, egy másik műv. erősítő után volt kötve.
Ez most egy külön dobozban lesz, ami a Videoton-ba csatlakozik, mondjuk a Tape-be.
(#) reloop válasza lóri hozzászólására (») Aug 26, 2024 / 1
 
Szia!
Utána kell néznem, egy általános magnó mekkora bemeneti és kimeneti jellel rendelkezhet. A rajzodon van egy hatos leosztás és egy kétszeres erősítés ami valószínűleg pont jó lesz.
Kell majd egy csatoló kondenzátor a műveleti erősítő elé, hogy a jelforrások esetleges egyenfeszültségű komponensét leválassza, meg egy alul-áteresztő szűrő ami a Kossuthot és az egyéb RF zavarokat csapdába ejti.
Mivel szereted a szép kondikat, meglocsolhatjuk vele a kapcsolást, hogy a bemenetválasztás ne rángassa meg a mély hangszóró membránját. A koppanásmentes váltás másik lehetősége, némítás alkalmazása az átkapcsolás idejére. Ilyesmire tegyek-e javaslatot?
(#) lóri válasza reloop hozzászólására (») Aug 26, 2024 /
 
Szia!

Igen, kérnék javaslatot is.
Emlékszem, valami fura tranzisztorral csináltad valakinek, valamikor.
(#) reloop válasza lóri hozzászólására (») Aug 26, 2024 /
 
A reléket kapcsoló, vagy mikrovezérlő fogja működtetni?
(#) lóri válasza reloop hozzászólására (») Aug 26, 2024 /
 
Isostat-féle kapcsoló.
(#) reloop válasza lóri hozzászólására (») Aug 26, 2024 /
 
Azzal nem nagyon lehet támogatni a koppanásgátlót, a Vidi is a fém gomb megérintését detektálta úgy-ahogy.
Esetleg prioritást adhatsz a csatornáknak, hogy két gomb együttes beerőszakolásától is csak egy csatorna szóljon.
A magnóknál arra jutottam, hogy a be és a kimeneti szintek legyenek egyformák, a CD-nek adnék egy felező osztást, mert az többnyire magasabb kimeneti jelet szolgáltat.
Ahogy időm engedi lerajzolom.
(#) lóri válasza reloop hozzászólására (») Aug 26, 2024 /
 
Köszönöm.
Az a fajta koppanásgátlás nem kell, mert külön dobozban lesz és műanyag gombsapka lesz rajta.
Akkor ezt félreértettem.
Amúgy nem lehetséges két gomb együttes benyomása, mert egymást kiváltó kapcsolósor lesz benne.
Azt hittem, hogy a CD-nél elég a 47k a GND felé, merthogy láttam valahol.
(#) reloop válasza lóri hozzászólására (») Aug 26, 2024 / 1
 
Ott tartok, hogy monitoroznám a magnót ami éppen felvesz a lemezjátszóról, de a 100 Ω lefojtja a jelet. Erre is ki kell valamit találnunk.
(#) lóri válasza reloop hozzászólására (») Aug 26, 2024 /
 
Köszönöm fáradozásodat.
Te legalább értesz hozzá, én csak rajzolgatok.
(#) lóri válasza reloop hozzászólására (») Aug 26, 2024 /
 
Bocsánat, közben rájöttem, hogy ennél a panelnél, nem lesz lemezjátszó bemenet, mert a Pityu9-féle HFM -et fogom használni a 6383-ban. Azt inkább valami Tape4-nek fogom kinevezni.
De másik verziónál lesz lemezjátszó bemenet, RIAA korrektorral.
(#) reloop válasza lóri hozzászólására (») Aug 26, 2024 /
 
Cseppet túlgondoltam, magnó felvétel közben nem szokás a bemenetválasztót kapcsolgatni. Nem lesz szükség koppanásgátlóra.
Az U5-nek csak illesztő funkciót szánnék, sem nem erősítene, sem nem csillapítana. Az R53 és R54 egyaránt 47k lenne, a másik csatornában úgyszintén. Ez felére osztja a jelet, a műveleti erősítő pedig megduplázza, tehát a szint változatlan marad. Elkerülhetnénk ezt a cécót, ha egységnyi erősítést állítanánk be, de azt a 4558 nem igazán szereti.
A magnóknál a passzív állapotban lezáró 100 Ω, legyen 100k. Így lehet majd monitorozni és azért inaktív állapotban elvezeti az esetleges sztatikus feltöltődést.
A tuchel aljzatok 1 és 4 lábait nem kötném össze egymással, akármi is megjelenhet rajtuk. Minden ágba 1k beiktatását javaslom (12 db ellenállásnak számolom).
Egyenfeszültségre a DAT bemenetnél számítok, ahová telefont, MP3 lejátszót, számítógépet tudok elképzelni. Ott könnyen befigyel 1,65-2,5 V. A 3-as és az 5-ös csatlakozási pontokról jövő ágakba egy-egy 2 µF körüli kondit iktatnék be és óvatosságból az R9, R10-et megemelném 330 Ω-ra.
A CD-nél a 47k helyére 22k/22k osztót javaslok, mert annak a jele legalább a duplája a többi forrásénak.
(#) lóri válasza reloop hozzászólására (») Aug 26, 2024 /
 
Rendben, köszönöm.
Átrajzolom, aztán megmutatom.
Nem ragaszkodom a 4558-hoz, de régebben azt ajánlottad.
(#) reloop válasza lóri hozzászólására (») Aug 26, 2024 / 1
 
A 4558 egy nagyon bevált alkatrész, megérdemli, hogy kiszolgáljuk.
Remélem érhetően írtam le a módosításokat, lakásfelújítás közepén járok, sajnos nem jut idő rajzolásra.
(#) lóri válasza reloop hozzászólására (») Aug 26, 2024 /
 
Persze, érthető.
Én meg este 8-ig dolgozom.
Jó felújítást!
Köszi mindent.
(#) lóri válasza reloop hozzászólására (») Aug 26, 2024 /
 
Akkor, ha jól értelmeztem, így néz ki.
Majd lesz kérdésem a huzalozással kapcsolatban.

VT_input4.pdf
    
(#) reloop válasza lóri hozzászólására (») Aug 26, 2024 / 1
 
Pontosan erre gondoltam.
Következő: »»   28 / 29
Bejelentkezés

Belépés

Hirdetés
XDT.hu
Az oldalon sütiket használunk a helyes működéshez. Bővebb információt az adatvédelmi szabályzatban olvashatsz. Megértettem